TOP
|
特許
|
意匠
|
商標
特許ウォッチ
Twitter
他の特許を見る
10個以上の画像は省略されています。
公開番号
2025160004
公報種別
公開特許公報(A)
公開日
2025-10-22
出願番号
2024062939
出願日
2024-04-09
発明の名称
半導体装置の製造方法
出願人
株式会社デンソー
,
トヨタ自動車株式会社
,
株式会社ミライズテクノロジーズ
代理人
弁理士法人 快友国際特許事務所
主分類
H01L
21/285 20060101AFI20251015BHJP(基本的電気素子)
要約
【課題】スパッタリング方法によって形成される金属層の段切れを抑制する技術を提案する。
【解決手段】半導体装置の製造方法は、上面に複数のトレンチが設けられた半導体基板と、各トレンチ内に設けられたゲート絶縁膜、ゲート電極及びゲート電極の上面を覆う層間絶縁膜と、を備える半導体ウエハであって、半導体ウエハのうちの複数のトレンチの間に位置するトレンチ間部分が、層間絶縁膜の上面よりも上側に突出している半導体ウエハを準備する工程と、スパッタ粒子の放出角度分布においてトレンチの幅方向の成分よりトレンチの長手方向の成分の方が多いスパッタリング方法によって、トレンチ間部分の表面と前記層間絶縁膜の表面に跨る範囲を覆う金属層を形成する工程、を有する。この半導体製造方法では、トレンチ間部分と層間絶縁膜の間の段差の部分に金属層が適切に成長する。
【選択図】図1
特許請求の範囲
【請求項1】
半導体装置(100)の製造方法であって、
上面(12a)に複数のトレンチ(14)が設けられた半導体基板(12)と、
前記各トレンチ内に設けられたゲート絶縁膜(16)と、
前記各トレンチ内に設けられており、前記ゲート絶縁膜によって、前記半導体基板から絶縁されているゲート電極(18)と、
前記各トレンチ内に設けられており、前記ゲート電極の上面を覆う層間絶縁膜(20)と、
を備える半導体ウエハであって、前記半導体ウエハのうちの複数の前記トレンチの間に位置するトレンチ間部分が、前記層間絶縁膜の上面よりも上側に突出している前記半導体ウエハを準備する工程と、
スパッタ粒子の放出角度分布において前記トレンチの幅方向の成分より前記トレンチの長手方向の成分の方が多いスパッタリング方法によって、前記トレンチ間部分の表面と前記層間絶縁膜の表面に跨る範囲を覆う金属層を形成する工程、
を有する製造方法。
続きを表示(約 1,400 文字)
【請求項2】
半導体装置(100)の製造方法であって、
上面(12a)に複数のトレンチ(14)が設けられた半導体基板(12)と、
前記各トレンチ内に設けられたゲート絶縁膜(16)と、
前記各トレンチ内に設けられており、前記ゲート絶縁膜によって、前記半導体基板から絶縁されているゲート電極(18)と、
前記各トレンチ内に設けられており、前記ゲート電極の上面を覆う層間絶縁膜(20)と、
を備える半導体ウエハであって、前記半導体ウエハのうちの複数の前記トレンチの間に位置するトレンチ間部分が、前記層間絶縁膜の上面よりも上側に突出している前記半導体ウエハを準備する工程と、
スパッタリングターゲット(60)の垂線が前記半導体ウエハの厚み方向に対して前記トレンチの長手方向に沿って傾斜しているスパッタリング方法によって、前記トレンチ間部分の表面と前記層間絶縁膜の表面に跨る範囲を覆う金属層を形成する工程、
を有する製造方法。
【請求項3】
半導体装置(100)の製造方法であって、
上面(12a)に複数のトレンチ(14)が設けられた半導体基板(12)と、
前記各トレンチ内に設けられたゲート絶縁膜(16)と、
前記各トレンチ内に設けられており、前記ゲート絶縁膜によって、前記半導体基板から絶縁されているゲート電極(18)と、
前記各トレンチ内に設けられており、前記ゲート電極の上面を覆う層間絶縁膜(20)と、
を備える半導体ウエハであって、前記半導体ウエハのうちの複数の前記トレンチの間に位置するトレンチ間部分が、前記層間絶縁膜の上面よりも上側に突出している前記半導体ウエハを準備する工程と、
スパッタリングターゲット(60)と前記半導体ウエハの間に前記トレンチの幅方向よりも前記トレンチの長手方向の寸法が長い開口部(64)を有するコリメータ(62)を配置して行うスパッタリング方法によって、前記トレンチ間部分の表面と前記層間絶縁膜の表面に跨る範囲を覆う金属層を形成する工程、
を有する製造方法。
【請求項4】
前記半導体ウエハを準備する前記工程が、前記ゲート電極の前記上面と前記半導体基板の前記上面に絶縁膜(26)を形成した後に、前記絶縁膜をエッチバックするとともに前記トレンチ内に前記絶縁膜を残存させることによって前記層間絶縁膜を形成する工程を有する、請求項1~3のいずれか一項に記載の製造方法。
【請求項5】
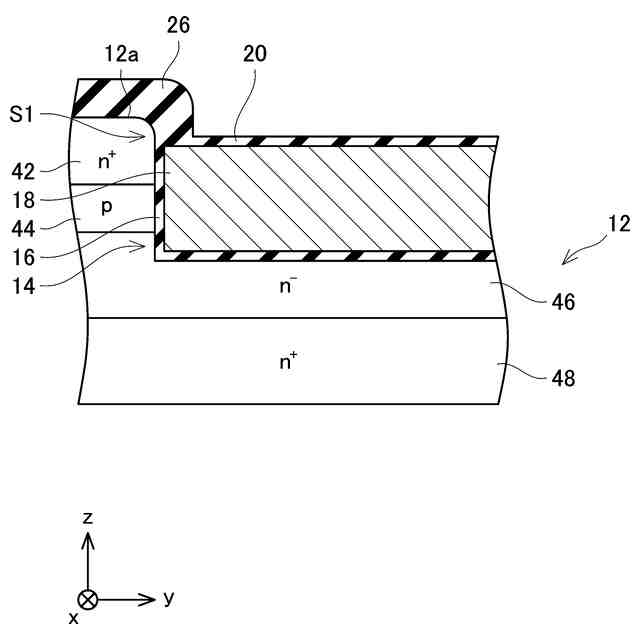
前記半導体ウエハを準備する前記工程では、前記長手方向における前記トレンチの端部に前記半導体基板の前記上面が前記ゲート電極の前記上面よりも上側に位置する段差(S1)が設けられており、前記段差が保護絶縁膜(26)によって覆われている前記半導体ウエハを準備する、請求項1~3のいずれか一項に記載の製造方法。
【請求項6】
前記半導体ウエハを準備する前記工程では、前記トレンチ間部分の上面にシリサイド層(22)が設けられた前記半導体ウエハを準備する、請求項1~3のいずれか一項に記載の製造方法。
【請求項7】
前記金属層が、バリアメタル層(23)である、請求項1~3のいずれか一項に記載の製造方法。
発明の詳細な説明
【技術分野】
【0001】
本明細書に開示の技術は、半導体装置の製造方法に関する。
続きを表示(約 1,800 文字)
【背景技術】
【0002】
特許文献1には、スパッタリングによって基板上に金属層を堆積する方法が開示されている。
【先行技術文献】
【特許文献】
【0003】
特表2017―520683号公報
【発明の概要】
【発明が解決しようとする課題】
【0004】
トレンチゲート型の半導体装置の製造工程では、スパッタリングによって、トレンチ内に設けられた層間絶縁膜と半導体ウエハの表面を覆う金属層を形成する場合がある。半導体ウエハの表面(すなわち、トレンチの間の部分)が層間絶縁膜の上面よりも上側に突出していると、その段差部において金属層が適切に成長しない場合がある。本明細書では、スパッタリング方法によって形成される金属層の段切れを抑制する技術を提案する。
【課題を解決するための手段】
【0005】
本明細書が開示する態様1の半導体装置の製造方法は、上面に複数のトレンチが設けられた半導体基板と、前記各トレンチ内に設けられたゲート絶縁膜と、前記各トレンチ内に設けられており、前記ゲート絶縁膜によって、前記半導体基板から絶縁されているゲート電極と、前記各トレンチ内に設けられており、前記ゲート電極の上面を覆う層間絶縁膜と、を備える半導体ウエハであって、前記半導体ウエハのうちの複数の前記トレンチの間に位置するトレンチ間部分が、前記層間絶縁膜の上面よりも上側に突出している前記半導体ウエハを準備する工程と、スパッタ粒子の放出角度分布において前記トレンチの幅方向の成分より前記トレンチの長手方向の成分の方が多いスパッタリング方法によって、前記トレンチ間部分の表面と前記層間絶縁膜の表面に跨る範囲を覆う金属層を形成する工程、を有する。
【0006】
上記の半導体製造方法では、金属層を形成する工程が、スパッタ粒子の放出角度分布においてトレンチの幅方向の成分よりトレンチの長手方向の成分の方が多いスパッタリング方法によって実施される。したがって、トレンチ間部分と層間絶縁膜の間の段差の部分に金属層が適切に成長する。
【図面の簡単な説明】
【0007】
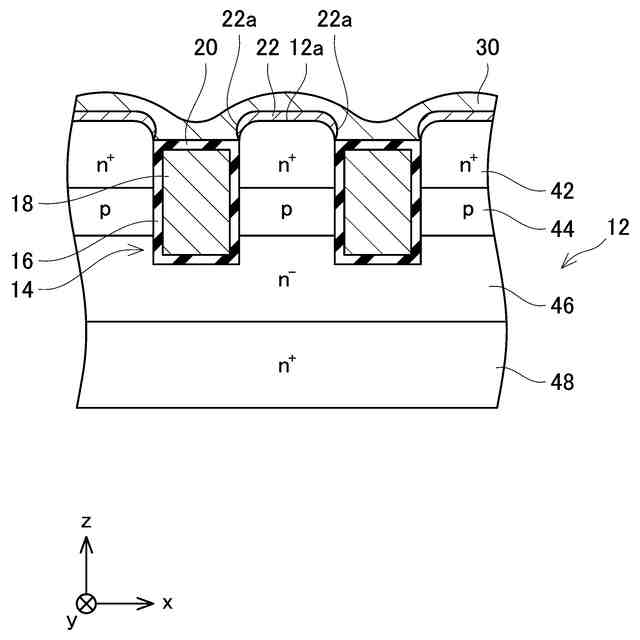
半導体装置の概略図である。
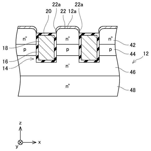
実施例の半導体装置の製造方法である。
実施例の半導体装置の製造方法である。
実施例の半導体装置の製造方法である。
実施例の半導体装置の製造方法である。
実施例の半導体装置の製造方法である。
実施例の半導体装置の製造方法である。
実施例の半導体装置の製造方法である。
実施例の半導体装置の製造方法である。
実施例の半導体装置の製造方法である。
実施例の半導体装置の製造方法である。
実施例の半導体装置の製造方法である。
実施例の半導体装置の製造方法である。
コリメータの平面図である。
コリメータの平面図である。
【0008】
図1に示す半導体装置100は、MOSFET(metal-oxide-semiconductor field-effect transistor)である。半導体装置100は、半導体基板12を有している。半導体基板12は、SiC基板である。半導体基板12の上面12aには、複数のトレンチ14が設けられている。各トレンチ14内には、ゲート絶縁膜16、ゲート電極18、層間絶縁膜20が設けられている。ゲート絶縁膜16は、トレンチ14の内面を覆っている。ゲート電極18は、ゲート絶縁膜16の内部に設けられている。また、ゲート電極18は、ゲート絶縁膜16によって、半導体基板12と絶縁されている。層間絶縁膜20は、ゲート電極18の上面を覆っている。
【0009】
半導体基板12には、n型のソース層42、p型のボディ層44、n型のドリフト層46及びn型のドレイン層48が設けられている。ソース層42は、半導体基板12の上面12aを含む範囲に配置されている。また、ソース層42は、トレンチ14の側面において、ゲート絶縁膜16と接している。ソース層42は、n型不純物濃度が高いn型層である。
【0010】
ボディ層44は、ソース層42の下面と接している。また、ボディ層44は、ソース層42より下側のトレンチ14の側面において、ゲート絶縁膜16と接している。
(【0011】以降は省略されています)
この特許をJ-PlatPat(特許庁公式サイト)で参照する
関連特許
株式会社デンソーウェーブ
筐体
8日前
株式会社デンソー
車載器
21日前
株式会社デンソー
回転機
8日前
株式会社デンソー
ステータ
21日前
株式会社デンソーエレクトロニクス
発音装置
25日前
株式会社デンソー
ステータ
21日前
株式会社デンソー
ねじ部材
21日前
株式会社デンソー
反力装置
15日前
株式会社デンソー
検出装置
7日前
株式会社デンソー
電子装置
15日前
株式会社デンソー
電子装置
16日前
株式会社デンソー
電子装置
25日前
株式会社デンソー
電流センサ
8日前
株式会社デンソー
農業用装置
17日前
株式会社デンソー
半導体装置
21日前
株式会社デンソー
レーダ装置
14日前
株式会社デンソー
半導体装置
3日前
株式会社デンソーテン
インバータ
15日前
株式会社デンソー
レーダ装置
25日前
株式会社デンソー
熱交換装置
1日前
株式会社デンソー
電力変換装置
21日前
株式会社デンソー
電圧検出回路
17日前
株式会社デンソー
電子制御装置
25日前
株式会社デンソー
制御システム
28日前
株式会社デンソー
電力変換装置
9日前
株式会社デンソー
車両制御装置
15日前
株式会社デンソー
画像処理装置
8日前
株式会社デンソー
車載システム
15日前
株式会社デンソー
車載システム
15日前
株式会社デンソーエアクール
換気空調装置
22日前
株式会社デンソー
運転支援装置
16日前
株式会社デンソー
衝突予測装置
16日前
株式会社デンソー
ステータコア
28日前
株式会社デンソー
電力変換装置
17日前
株式会社デンソー
衝突予測装置
16日前
株式会社デンソー
電圧検出回路
1日前
続きを見る
他の特許を見る