TOP
|
特許
|
意匠
|
商標
特許ウォッチ
Twitter
他の特許を見る
公開番号
2025152692
公報種別
公開特許公報(A)
公開日
2025-10-10
出願番号
2024054717
出願日
2024-03-28
発明の名称
運航管理装置
出願人
株式会社デンソー
代理人
個人
,
個人
主分類
G08G
5/00 20250101AFI20251002BHJP(信号)
要約
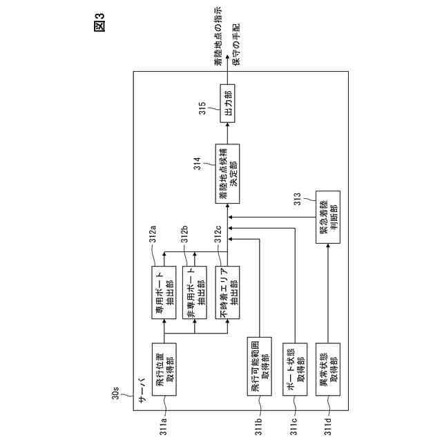
【課題】緊急時に適切なポートを迅速に判断することが可能な運航管理装置を提供する。
【解決手段】運航管理装置としてのサーバ30sは、非専用ポート位置記憶部と、飛行位置取得部311aと、非専用ポート抽出部312bと、出力部315と、を備える。非専用ポート位置記憶部は、電動航空機の離着陸のための作業員が存在しない非専用ポートの位置情報を非専用ポート位置情報とし、複数の非専用ポート位置情報を予め記憶する。飛行位置取得部311aは、電動航空機の位置情報である飛行位置情報を取得する。非専用ポート抽出部312bは、記憶されている複数の非専用ポート位置情報と、取得した飛行位置情報とに基づいて、複数の非専用ポートの中から少なくとも1つを抽出する。出力部315は、非専用ポート抽出部による抽出結果に基づいて着陸地点候補を出力する。
【選択図】図3
特許請求の範囲
【請求項1】
電動航空機(10)の離着陸のための作業員が存在しない非専用ポート(Q1、Q2、Q3、Q4)の位置情報を非専用ポート位置情報とし、複数の前記非専用ポート位置情報を予め記憶する非専用ポート位置記憶部(33)と、
前記電動航空機の位置情報である飛行位置情報を取得する飛行位置取得部(311a)と、
記憶されている複数の前記非専用ポート位置情報と、取得した前記飛行位置情報とに基づいて、複数の前記非専用ポートの中から少なくとも1つを抽出する非専用ポート抽出部(312b)と、
前記非専用ポート抽出部による抽出結果に基づいて着陸地点候補を出力する出力部(315)と、を備える運航管理装置。
続きを表示(約 1,200 文字)
【請求項2】
前記非専用ポートの利用状態を示すポート状態情報を取得するポート状態取得部(311c)を備え、
前記出力部は、取得した前記ポート状態情報に基づいて前記着陸地点候補を出力する、請求項1に記載の運航管理装置。
【請求項3】
前記電動航空機の飛行可能範囲の情報を取得する飛行可能範囲取得部(311b)を備え、
前記出力部は、
取得した前記飛行可能範囲に前記作業員が存在する専用ポート(P1、P2)が存在する場合には、前記専用ポートを前記着陸地点候補に含ませて出力し、
取得した前記飛行可能範囲に前記専用ポートが存在しない場合には、前記非専用ポート抽出部によって抽出された前記非専用ポートを前記着陸地点候補に含ませて出力する、請求項1または2に記載の運航管理装置。
【請求項4】
前記電動航空機の飛行可能範囲の情報を取得する飛行可能範囲取得部(311b)を備え、
前記出力部は、前記非専用ポート抽出部によって抽出された前記非専用ポートのうち、前記飛行可能範囲に存在する前記非専用ポートを前記着陸地点候補に含ませて出力する、請求項1または2に記載の運航管理装置。
【請求項5】
前記非専用ポート位置記憶部は、さらに、人口分布情報を記憶し、
前記非専用ポート抽出部は、前記非専用ポートを抽出するにあたり、前記人口分布情報に基づいて人口の少ないエリアのポートを優先的に抽出する、請求項1または2に記載の運航管理装置。
【請求項6】
前記非専用ポート抽出部は、前記非専用ポートを抽出するにあたり、離陸前に計画された飛行ルートに基づき抽出対象を特定する、請求項1または2に記載の運航管理装置。
【請求項7】
前記電動航空機から、前記電動航空機の駆動の故障、前記電動航空機の電源システムの故障、前記電動航空機の損傷、輸送物品のトラブル、および乗員のトラブルのうち、少なくとも1つを含む異常情報を取得する異常情報取得部(311d)を備える、請求項1または2に記載の運航管理装置。
【請求項8】
前記非専用ポート抽出部は、前記非専用ポートを抽出するにあたり、取得した前記異常情報に対応可能なポートを優先的に抽出する、請求項7に記載の運航管理装置。
【請求項9】
前記非専用ポート抽出部は、複数の前記異常情報を取得する場合、予め決められた優先度に応じて、前記異常情報に対応可能なポートを抽出する、請求項8に記載の運航管理装置。
【請求項10】
取得した前記異常情報を用いて緊急着陸が必要か否か判断する緊急着陸判断部(313)を備え、
前記非専用ポート抽出部は、緊急着陸が必要と判断された場合に、前記非専用ポートの抽出を実行する、請求項9に記載の運航管理装置。
(【請求項11】以降は省略されています)
発明の詳細な説明
【技術分野】
【0001】
この明細書における開示は、電動航空機の運航管理装置に関する。
続きを表示(約 1,600 文字)
【背景技術】
【0002】
特許文献1には電動航空機が開示されている。この電動航空機は、専用ポートを用いた離着陸が要求される。専用ポートとは、バッテリを冷却する作業、バッテリを急速充電する作業、バッテリを交換する作業などを実行可能なポートのことである。専用ポートでは、離着陸のための上記作業を実行する作業員が存在する。
【先行技術文献】
【特許文献】
【0003】
米国特許出願公開第2022/0285762号明細書
【発明の概要】
【発明が解決しようとする課題】
【0004】
しかしながら、緊急着陸を要する場合には、専用ポート以外のポートであっても、非専用ポートとして電動航空機の着陸に用いることが望ましい。そして、緊急事態に陥ってから非専用ポートのサーチを開始していたのでは、適切なポートを迅速に判断することができない。
【0005】
開示される目的は、緊急時に適切なポートを迅速に判断することが可能な運航管理装置を提供することにある。
【課題を解決するための手段】
【0006】
開示の1態様は、運航管理装置であって、
電動航空機(10)の離着陸のための作業員が存在しない非専用ポート(Q1、Q2、Q3、Q4)の位置情報を非専用ポート位置情報とし、複数の非専用ポート位置情報を予め記憶する非専用ポート位置記憶部(33)と、
電動航空機の位置情報である飛行位置情報を取得する飛行位置取得部(311a)と、
記憶されている複数の非専用ポート位置情報と、取得した飛行位置情報とに基づいて、複数の非専用ポートの中から少なくとも1つを抽出する非専用ポート抽出部(312b)と、
非専用ポート抽出部による抽出結果に基づいて着陸地点候補を出力する出力部(315)と、を備える。
【0007】
上記態様に係る運航管理装置によれば、緊急時に最寄りの専用ポートが存在しない場合であっても、適切な非専用ポートの位置情報を電動航空機に提供できる。
【0008】
この明細書における開示された複数の態様は、それぞれの目的を達成するために、互いに異なる技術的手段を採用する。請求の範囲およびこの項に記載した括弧内の符号は、後述する実施形態の部分との対応関係を例示的に示すものであって、技術的範囲を限定することを意図するものではない。この明細書に開示される目的、特徴、および効果は、後続の詳細な説明、および添付の図面を参照することによってより明確になる。
【図面の簡単な説明】
【0009】
第1実施形態に係る運航管理装置および電動航空機を示す図である。
第1実施形態に係る運航管理システムを示す図である。
第1実施形態に係る運航管理装置による機能ブロックを示す図である。
第1実施形態に係る運航管理システムによる、作動フローの一例を示す図である。
第1実施形態において、離陸前に抽出された非専用ポートのリストを示す図である。
第1実施形態において、飛行中に抽出された専用ポート、非専用ポートおよび不時着エリアのリストを示す図である。
【発明を実施するための形態】
【0010】
以下、図面に基づいて複数の実施形態を説明する。なお、各実施形態において対応する構成要素には同一の符号を付すことにより、重複する説明を省略する場合がある。各実施形態において構成の一部分のみを説明している場合、当該構成の他の部分については、先行して説明した他の実施形態の構成を適用することができる。また、各実施形態の説明において明示している構成の組み合わせばかりではなく、特に組み合わせに支障が生じなければ、明示していなくても複数の実施形態の構成同士を部分的に組み合せることができる。
(【0011】以降は省略されています)
この特許をJ-PlatPat(特許庁公式サイト)で参照する
関連特許
株式会社デンソー
車載器
10日前
株式会社デンソー
接合体
24日前
株式会社デンソー
ステータ
10日前
株式会社デンソーエレクトロニクス
発音装置
1か月前
株式会社デンソー
ステータ
25日前
株式会社デンソー
ステータ
25日前
株式会社デンソー
反力装置
4日前
株式会社デンソー
電子装置
5日前
株式会社デンソー
ねじ部材
10日前
株式会社デンソー
太陽電池
26日前
株式会社デンソーエレクトロニクス
発音装置
14日前
株式会社デンソー
電子装置
4日前
株式会社デンソー
電子装置
14日前
株式会社デンソー
ステータ
10日前
株式会社デンソーテン
インバータ
4日前
株式会社デンソー
半導体装置
10日前
株式会社デンソー
レーダ装置
14日前
株式会社デンソー
レーダ装置
3日前
株式会社デンソー
農業用装置
6日前
株式会社デンソー
ステータコア
17日前
株式会社デンソー
フィルタ回路
18日前
株式会社デンソー
電圧変換回路
25日前
株式会社デンソー
運転支援装置
5日前
株式会社デンソー
電子制御装置
10日前
株式会社デンソー
電子制御装置
25日前
株式会社デンソー
衝突予測装置
5日前
株式会社デンソーテン
車載映像装置
10日前
株式会社デンソー
制御システム
17日前
株式会社デンソー
光位相変調器
24日前
株式会社デンソー
衝突予測装置
5日前
株式会社デンソー
電力変換装置
6日前
株式会社デンソー
電力変換装置
10日前
株式会社デンソー
電気化学セル
14日前
株式会社デンソー
電子制御装置
14日前
株式会社デンソー
通信システム
1か月前
株式会社デンソー
電波吸収装置
14日前
続きを見る
他の特許を見る