TOP
|
特許
|
意匠
|
商標
特許ウォッチ
Twitter
他の特許を見る
公開番号
2025160583
公報種別
公開特許公報(A)
公開日
2025-10-23
出願番号
2024063202
出願日
2024-04-10
発明の名称
ボイスコイルモーター、電子機器及び光路変更装置
出願人
セイコーエプソン株式会社
代理人
個人
,
個人
,
個人
主分類
H02K
33/18 20060101AFI20251016BHJP(電力の発電,変換,配電)
要約
【課題】磁気効率を向上できるボイスコイルモーター、電子機器及び光路変更装置を提供する。
【解決手段】ボイスコイルモーターは、ワイヤーが巻回されたコイル部と、コイル部と接触するマグネット部と、を備え、コイル部とマグネット部とのうち一方の部材は、他方の部材に対して相対的に移動する。
【選択図】図1
特許請求の範囲
【請求項1】
ワイヤーが巻回されたコイル部と、
前記コイル部と接触するマグネット部と、を備え、
前記コイル部と前記マグネット部とのうち一方の部材は、他方の部材に対して相対的に移動する、
ことを特徴とするボイスコイルモーター。
続きを表示(約 1,500 文字)
【請求項2】
請求項1に記載のボイスコイルモーターにおいて、
前記コイル部は、コイル部側接触面を有し、
前記マグネット部は、前記コイル部側接触面と接触するマグネット部側接触面を有し、
前記コイル部側接触面と前記マグネット部側接触面とのうち少なくとも一方の接触面は、コーティング剤によって被覆されている、
ことを特徴とするボイスコイルモーター。
【請求項3】
請求項2に記載のボイスコイルモーターにおいて、
前記コーティング剤は、前記ワイヤーの周面を被覆する、
ことを特徴とするボイスコイルモーター。
【請求項4】
請求項2に記載のボイスコイルモーターにおいて、
前記コーティング剤は、ポリテトラフルオロエチレン樹脂、二硫化モリブデン、カーボングラファイト及び窒化ホウ素のうち少なくともいずれかを含む、
ことを特徴とするボイスコイルモーター。
【請求項5】
請求項1に記載のボイスコイルモーターにおいて、
前記マグネット部は、前記コイル部と接触するマグネット部側接触面を有し、
前記マグネット部側接触面には、ニッケル、銅及びスズのうち少なくともいずれかを含む材料によるめっき処理が施されている、
ことを特徴とするボイスコイルモーター。
【請求項6】
請求項1に記載のボイスコイルモーターにおいて、
前記コイル部は、コイル部側接触面を有し、
前記マグネット部は、前記コイル部側接触面と接触するマグネット部側接触面を有し、
前記コイル部側接触面と前記マグネット部側接触面とのうち少なくとも一方の接触面は、他方の接触面が接触する被接触部材によって構成されている、
ことを特徴とするボイスコイルモーター。
【請求項7】
請求項6に記載のボイスコイルモーターにおいて、
前記被接触部材は、ポリアセタール、ポリテトラフルオロエチレン樹脂、超高分子量ポリエチレン、モノマーキャストナイロン及びポリアセタール樹脂のうち少なくともいずれかを含む、
ことを特徴とするボイスコイルモーター。
【請求項8】
請求項1から請求項7のいずれか一項に記載のボイスコイルモーターにおいて、
前記マグネット部は、前記コイル部の中心軸に直交する方向に前記コイル部に対して相対的に移動し、
前記マグネット部は、前記コイル部に接触する接触面の磁極が異なる第1マグネット及び第2マグネットを有し、
前記第1マグネット及び前記第2マグネットは、前記マグネット部が前記コイル部に対して相対的に移動する方向に隣接して配置されている、
ことを特徴とするボイスコイルモーター。
【請求項9】
請求項1から請求項7のいずれか一項に記載のボイスコイルモーターにおいて、
前記コイル部は、前記ワイヤーが外周面に巻回されるコイルボビンを有し、
前記マグネット部は、前記コイルボビンの中心軸を中心とする周方向に沿って配置される円筒状に構成され、
前記コイル部と前記マグネット部とのうち一方は、他方に対して前記中心軸に沿って相対的に移動する、
ことを特徴とするボイスコイルモーター。
【請求項10】
請求項1から請求項7のいずれか一項に記載のボイスコイルモーターを有するアクチュエーターを備える、
ことを特徴とする電子機器。
(【請求項11】以降は省略されています)
発明の詳細な説明
【技術分野】
【0001】
本開示は、ボイスコイルモーター、電子機器及び光路変更装置に関する。
続きを表示(約 2,100 文字)
【背景技術】
【0002】
従来、アクチュエーターとしてボイスコイルモーターを備える電子機器が知られている。このような電子機器の一例として、ディスクドライブ装置が知られている(例えば特許文献1参照)。
特許文献1に記載のディスクドライブ装置では、ボイスコイルモーターは、一対のVCMマグネットと、一対のVCMマグネットの間に配置されるVCMコイルと、によって構成されている。VCMコイルが通電されると発生する電場と、一対のVCMマグネットの磁場との相互作用による電磁気力によって、VCMコイルが設けられたスイングアームがピボット軸受周りに回動する。これにより、スイングアームに設けられたヘッドが記録ディスクメディア上に移動される。
【先行技術文献】
【特許文献】
【0003】
特開2007-179599号公報
【発明の概要】
【発明が解決しようとする課題】
【0004】
しかしながら、特許文献1に記載のディスクドライブ装置のボイスコイルモーターでは、一対のVCMマグネットのそれぞれと、VCMコイルとは、互いに離間して設けられている。すなわち、特許文献1に記載のボイスコイルモーターでは、マグネットとコイルとは、互いに非接触である。このため、ボイスコイルモーターの磁気効率が低く、コイルとマグネットとのうち一方に対して相対的に移動する移動部材の推力を高めづらいという問題がある。
このため、磁気効率を向上できるボイスコイルモーターの構成が要望されてきた。
【課題を解決するための手段】
【0005】
本開示の第1態様に係るボイスコイルモーターは、ワイヤーが巻回されたコイル部と、前記コイル部と接触するマグネット部と、を備え、前記コイル部と前記マグネット部とのうち一方の部材は、他方の部材に対して相対的に移動する。
【0006】
本開示の第2態様に係る電子機器は、上記第1態様に係るボイスコイルモーターを有するアクチュエーターを備える。
【0007】
本開示の第3態様に係る光路変更装置は、光路変更部材を保持した可動フレームと、揺動軸を介して前記可動フレームを支持する支持フレームと、前記揺動軸を中心に前記支持フレームに対して前記可動フレームを揺動させる、上記第1態様に係るボイスコイルモーターと、を備え、前記コイル部は、前記可動フレームと前記支持フレームとのうち一方に配置され、前記マグネット部は、前記可動フレームと前記支持フレームとのうち他方に配置されている。
【0008】
本開示の第4態様に係る電子機器は、光源装置と、前記光源装置から出射された光束の光路を変更する、上記第3態様に係る光路変更装置と、を備える。
【図面の簡単な説明】
【0009】
第1実施形態に係るアクチュエーターが備えるボイスコイルモーターを示す模式図。
第2実施形態に係るアクチュエーターが備えるボイスコイルモーターを示す模式図。
第3実施形態に係るアクチュエーターが備えるボイスコイルモーターを示す模式図。
第4実施形態に係るアクチュエーターが備えるボイスコイルモーターを示す模式図。
第5実施形態に係るアクチュエーターが備えるボイスコイルモーターを示す模式図。
第6実施形態に係るプロジェクターの構成を示す模式図。
第6実施形態に係る光路変更装置を光出射側から見た図。
第6実施形態に係る光路変更装置による画像光の光路シフトを説明する図。
【発明を実施するための形態】
【0010】
[第1実施形態]
以下、本開示の第1実施形態について、図面に基づいて説明する。
[アクチュエーター及びボイスコイルモーターの構成]
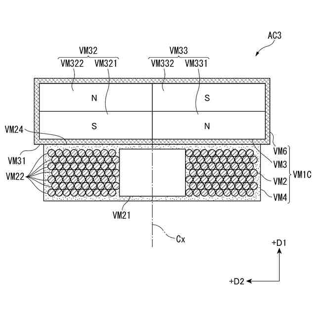
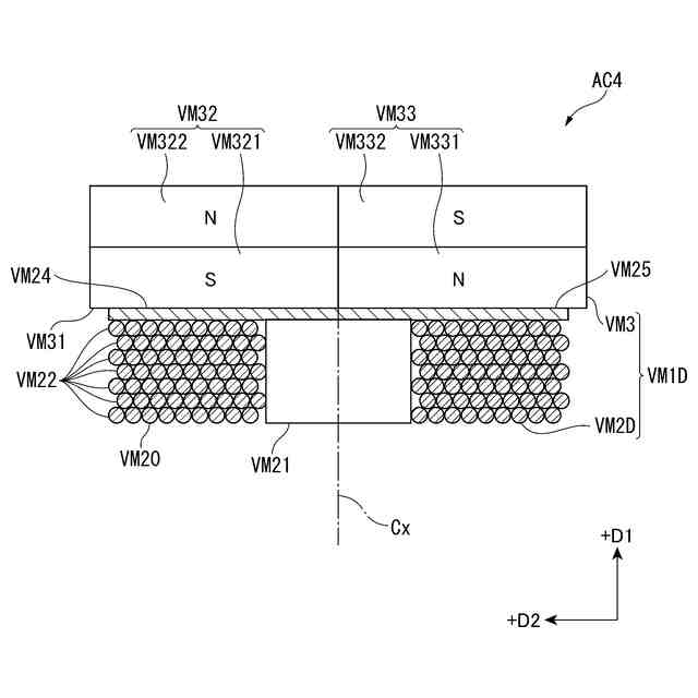
図1は、本実施形態に係るアクチュエーターAC1が備えるボイスコイルモーターVM1Aを示す模式図である。
本実施形態に係るアクチュエーターAC1は、図1に示すように、コイル部VM2及びマグネット部VM3を有するボイスコイルモーターVM1Aを備える。
ボイスコイルモーターVM1Aは、コイル部VM2に交流電流を供給することによって、コイル部VM2とマグネット部VM3とのうち、一方の部材が他方の部材に対して相対的に往復運動して動力を得るアクチュエーターである。図1の例では、コイル部VM2は固定されており、コイル部VM2とマグネット部VM3とのうち一方の部材であるマグネット部VM3が他方の部材であるコイル部VM2に対して相対的に往復運動する。
また、コイル部VM2とマグネット部VM3とは、互いに接触しており、本実施形態では、マグネット部VM3は、コイル部VM2と接触した状態にてコイル部VM2とマグネット部VM3との接触面に沿って往復運動する。
以下、ボイスコイルモーターVM1Aの構成を詳述する。
(【0011】以降は省略されています)
この特許をJ-PlatPat(特許庁公式サイト)で参照する
関連特許
個人
単極モータ
25日前
個人
電気を重力で発電装置
2日前
キヤノン電子株式会社
モータ
9日前
キヤノン電子株式会社
モータ
1日前
株式会社アイシン
ロータ
25日前
株式会社アイシン
ロータ
29日前
コーセル株式会社
電源装置
10日前
日星電気株式会社
ケーブル組立体
17日前
トヨタ自動車株式会社
モータ
1日前
トヨタ自動車株式会社
固定子
1か月前
トヨタ自動車株式会社
製造装置
1か月前
株式会社デンソー
回転機
23日前
株式会社ダイヘン
充電装置
29日前
株式会社ダイヘン
充電装置
29日前
株式会社ダイヘン
充電装置
29日前
株式会社アイシン
ステータ
29日前
株式会社アイシン
ステータ
29日前
個人
太陽エネルギー収集システム
1か月前
株式会社アイシン
ステータ
29日前
株式会社アイシン
ステータ
29日前
株式会社ダイヘン
充電装置
29日前
個人
二次電池繰返パルス放電器用印刷基板
15日前
トヨタ自動車株式会社
被膜形成装置
1か月前
株式会社kaisei
発電システム
25日前
株式会社ミツバ
回転電機
22日前
ASTI株式会社
電力変換装置
1か月前
株式会社ミツバ
回転電機
29日前
株式会社デンソー
電力変換装置
16日前
株式会社デンソー
電力変換装置
24日前
株式会社アイシン
駆動装置
1か月前
大和ハウス工業株式会社
システム
1か月前
株式会社ダイヘン
インバータ装置
24日前
キヤノン株式会社
無線電力伝送システム
1か月前
トヨタ自動車株式会社
固定子の加熱装置
12日前
株式会社デンソー
非接触受電装置
18日前
株式会社アイシン
保護装置
1か月前
続きを見る
他の特許を見る