TOP
|
特許
|
意匠
|
商標
特許ウォッチ
Twitter
他の特許を見る
10個以上の画像は省略されています。
公開番号
2025161994
公報種別
公開特許公報(A)
公開日
2025-10-24
出願番号
2025142631,2021158506
出願日
2025-08-28,2021-09-28
発明の名称
マイクロ分析チップ
出願人
キヤノン株式会社
代理人
個人
,
個人
,
個人
,
個人
主分類
G01N
27/30 20060101AFI20251017BHJP(測定;試験)
要約
【課題】電位差イオン濃度測定を行うマイクロ分析チップにおいて、参照電極の電位を安定化させるために配置されるイオン結晶が、検体を伝い作用電極を含む流路室へと逆流し、作用電極における電位に影響を及ぼす可能性がある。
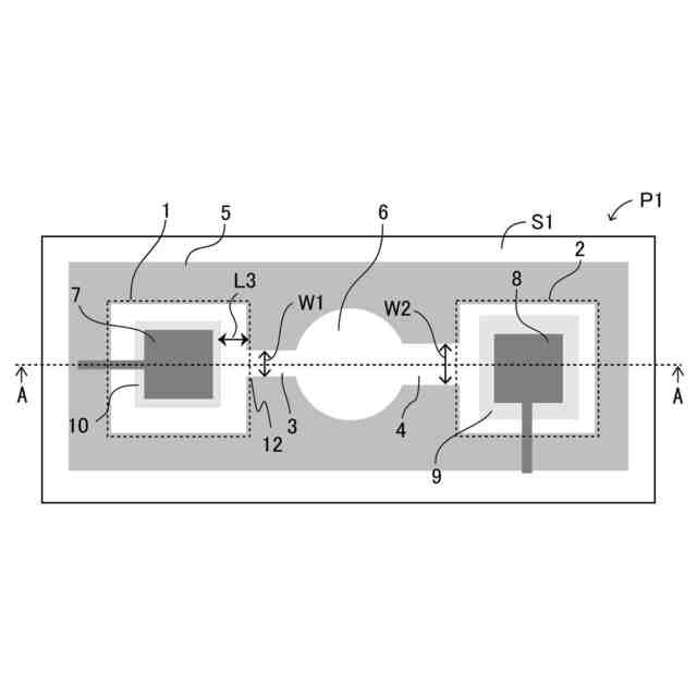
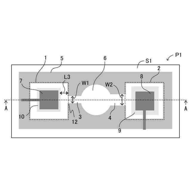
【解決手段】多孔質基材の内部に設けられた流路壁によって、検体を分注する分注部6、第一流路室1、第二流路室2、第一流路3及び第二流路4が形成されたマイクロ分析チップであって、第一流路室には、参照電極7が配置され、参照電極の表面には、検体可溶性を有するイオン結晶が配置されており、第二流路室には、作用電極8が配置されており、検体が分注部に分注された後、イオン結晶に検体が到達するまでの時間をT1とし、作用電極に検体が到達するまでの時間をT2としたとき、第一流路及び第二流路は、T1とT2とがT1>T2の関係を満たすように、構成されている。
【選択図】図1
特許請求の範囲
【請求項1】
多孔質基材の内部に設けられた流路壁によって、検体を分注する分注部、第一流路室、第二流路室、前記分注部と前記第一流路室とを繋ぐ第一流路及び前記分注部と前記第二流路室とを繋ぐ第二流路が形成されたマイクロ分析チップであって、
前記第一流路室には、参照電極が配置され、該参照電極の表面には、検体可溶性を有するイオン結晶が配置されており、
前記第二流路室には、作用電極が配置されており、
検体が前記分注部に分注された後、前記イオン結晶に検体が到達するまでの時間をT1とし、前記作用電極に検体が到達するまでの時間をT2としたとき、前記第一流路及び前記第二流路は、前記T1と前記T2とがT1>T2の関係を満たすように、構成されていることを特徴とするマイクロ分析チップ。
続きを表示(約 770 文字)
【請求項2】
前記第一流路の流路断面積をA1とし、
前記第二流路の流路断面積をA2としたとき、
A1とA2との関係が、A1<A2である請求項1に記載のマイクロ分析チップ。
【請求項3】
前記第一流路の流路体積をV1とし、
前記第二流路の流路体積をV2としたとき、
V1とV2との関係が、V1>V2である請求項1に記載のマイクロ分析チップ。
【請求項4】
前記第一流路の内部にドット状に疎水性樹脂領域が形成されている請求項1に記載のマイクロチップ。
【請求項5】
前記多孔質基材が浸透異方性を有し、
前記流路壁が形成されていない前記多孔質基材に検体を分注したとき、分注された検体によって前記多孔質基材の表面に形成される浸透形状は楕円であり、
前記楕円の長軸方向と、前記第一流路を規定する第一流路第一壁面に平行な流路壁面方向とがなす角度と、
前記楕円の長軸方向と、前記第一流路を規定する第一流路第二壁面に平行な流路壁面方向とがなす角度と、の算術平均値を平均角度r1とし(0°≦r1≦90°)、
前記楕円の長軸方向と、前記第二流路を規定する第二流路第一壁面に平行な流路壁面方向とがなす角度と、
前記楕円の長軸方向と、前記第二流路を規定する第二流路第二壁面に平行な流路壁面方向とがなす角度と、の算術平均値を平均角度r2としたとき(0°≦r2≦90°)、
r1及びr2の関係が、r1>r2である請求項1に記載のマイクロ分析チップ。
【請求項6】
前記作用電極は、イオン選択性を有する成分を含むイオン選択膜で覆われていることを特徴とする請求項1~5のいずれか一項に記載のマイクロ分析チップ。
発明の詳細な説明
【技術分野】
【0001】
本発明は、多孔質基材の内部にマイクロ流路を形成したマイクロ分析チップに関するものである。
続きを表示(約 2,600 文字)
【背景技術】
【0002】
近年、マイクロサイズの微細流路を利用して、生化学における分析を1つのチップ内で効率的に行うことができるマイクロ分析チップが、幅広い分野で注目されている。具体的には、生化学の研究はもとより、医療、創薬、ヘルスケア、環境、食品などの各分野において注目されている。
1990年代前半に、フォトリソグラフィ法や金型などを用いて、ガラスやシリコン上にミクロンサイズの微細流路を形成し、サンプルの前処理、撹拌、混合、反応、検出を1チップ上で行うマイクロ分析チップが開発された。その結果、検査システムの小型化や迅速な分析、ならびに検体や廃液の低減などが実現された。
【0003】
電気化学分析は、分析対象となる検体に浸漬した電極間の電位を計測するものであり、医療や環境などの分野において広く使用されている。従来の電気化学分析は、技術者によって高度な機器を用いて行われるため、測定を行うフィールドやリソースがある程度制限される。しかし、医療設備が十分ではない途上国や僻地や災害現場での医療や、感染症の拡がりを水際で食い止める必要がある空港などでの使用のために、安価で、取り扱いが容易で、使い捨て可能な、電気化学分析用マイクロ分析チップに対するニーズが存在する。
【0004】
電気化学分析では、溶液内の電解質イオンの定量化などのために、定電位を維持することが可能な安定した参照電極が必要である。従来から利用されるガラス体参照電極は高価であることに加え、内部液を必要とするため、小型化することが難しかった。その上、保存する際には、イオンの濃縮溶液内での保存を必要とするなど、取り扱いが容易ではなかった。
【0005】
特許文献1では、多孔質基材を用いた電位差測定が可能なマイクロ分析チップを含むデバイスが提案されており、低コストかつ取り扱いが容易で廃棄性の高い電気化学測定が可能となっている。このデバイスは、多孔質基材上に1つ以上の作用電極と1つの参照電極とを含んでおり、電位差測定をする際には、両電極を流体によって電気的に接続する必要がある。ここで測定時には、参照電極において安定した電位を得るために、KClの高濃度水溶液を参照溶液として、参照電極を含む参照電極領域へと分注することが記載されている。
【0006】
また非特許文献1では、Naイオン及びKイオンの濃度に対する濾紙ベースの測定デバイスについて提案されている。このデバイスは、検体を分注するための分注部を持ち、分注された検体が分注部から作用電極及び参照電極それぞれの領域へと浸透することによって、両電極を電気的に接続し、電位差測定が可能となる。また前記デバイスでは、参照電極において安定した電位を得るために、KClイオン結晶を参照電極上に堆積させており、測定時においてKClが検体へ溶解することで、参照電極領域のClイオンを高濃度に保持し、安定した参照電極の電位を得る。さらに、作用電極を覆うように形成したKイオン選択膜によって測定対象のイオンのみを選択し、他のイオンの影響を受けずに測定できるようにしている。
【先行技術文献】
【特許文献】
【0007】
米国特許出願公開第2016/033438号明細書
【非特許文献】
【0008】
Nipapan Ruecha, Orawon Chailapakul, Koji Suzuki and Daniel Chitterio『Fully Inkjet-Printed Paper-Based Potentiometric Ion-Sensing Devices』Analytical Chemistry August 29, 2017 Published, 89, PP.10608-10616
【発明の概要】
【発明が解決しようとする課題】
【0009】
しかしながら、先述のような構成では、検体濃度測定精度への影響がある場合がある。これは、作用電極において安定した電位を得るためには、検体が作用電極に到達した後、測定までにいくらか時間を要するが、この間に参照電極上の検体可溶性のあるイオン結晶が検体を通じて作用電極領域に逆流し、作用電極の電位に影響を及ぼすためある。「検体可溶性のあるイオン結晶」とは「検体に溶けうるイオン結晶」を意味し、例えばKClイオン結晶が挙げられる。
ここで、逆流の影響を抑制するためには、参照電極から作用電極までの距離を長くするなどによって、検体に溶けたイオンが逆流する検体とともに作用電極に到達するまでの時間を長くすればよい。しかし、参照電極から作用電極までの距離を長くすると、マイクロ分析チップのチップサイズが大きくなることや測定時間が長くなることなどの弊害が生じる。
本発明では、チップサイズを大きくすることや測定時間を長くすることなく、参照電極領域から作用電極領域へのイオンの逆流による作用電極への影響を抑制でき、安定したイオン濃度測定が可能なマイクロ分析チップを提供することを目的とする。
【課題を解決するための手段】
【0010】
上記目的を達成するために、本開示の一態様によれば、
多孔質基材の内部に設けられた流路壁によって、検体を分注する分注部、第一流路室、第二流路室、前記分注部と前記第一流路室とを繋ぐ第一流路、及び前記分注部と前記第二流路室とを繋ぐ第二流路が形成されたマイクロ分析チップであって、
第一流路室には、参照電極が配置され、該参照電極の表面には、検体可溶性を有するイオン結晶が配置されており、
第二流路室には、作用電極が配置されており、
検体が前記分注部に分注された後、前記イオン結晶に検体が到達するまでの時間をT1とし、前記作用電極に検体が到達するまでの時間をT2としたとき、第一流路及び第二流路は、前記T1と前記T2とがT1>T2の関係を満たすように、構成されていることを特徴とするマイクロ分析チップが提供される。
【発明の効果】
(【0011】以降は省略されています)
この特許をJ-PlatPat(特許庁公式サイト)で参照する
関連特許
キヤノン株式会社
容器
3日前
キヤノン株式会社
トナー
24日前
キヤノン株式会社
トナー
19日前
キヤノン株式会社
トナー
6日前
キヤノン株式会社
トナー
19日前
キヤノン株式会社
トナー
19日前
キヤノン株式会社
発光装置
1か月前
キヤノン株式会社
表示装置
1か月前
キヤノン株式会社
測距装置
12日前
キヤノン株式会社
記録装置
24日前
キヤノン株式会社
収容装置
1か月前
キヤノン株式会社
電子機器
1か月前
キヤノン株式会社
撮影装置
17日前
キヤノン株式会社
定着装置
1か月前
キヤノン株式会社
撮像装置
3日前
キヤノン株式会社
撮像装置
3日前
キヤノン株式会社
撮像装置
3日前
キヤノン株式会社
現像装置
10日前
キヤノン株式会社
記録装置
3日前
キヤノン株式会社
記録装置
17日前
キヤノン株式会社
電子機器
26日前
キヤノン株式会社
撮像装置
1か月前
キヤノン株式会社
電子機器
1か月前
キヤノン株式会社
定着装置
1か月前
キヤノン株式会社
撮像装置
24日前
キヤノン株式会社
撮像装置
1か月前
キヤノン株式会社
現像装置
17日前
キヤノン株式会社
記録装置
1か月前
キヤノン株式会社
定着装置
18日前
キヤノン株式会社
撮像装置
1か月前
キヤノン株式会社
撮像装置
1か月前
キヤノン株式会社
電子機器
1か月前
キヤノン株式会社
電子機器
28日前
キヤノン株式会社
撮像装置
20日前
キヤノン株式会社
現像容器
17日前
キヤノン株式会社
記録装置
1か月前
続きを見る
他の特許を見る