TOP
|
特許
|
意匠
|
商標
特許ウォッチ
Twitter
他の特許を見る
10個以上の画像は省略されています。
公開番号
2025161034
公報種別
公開特許公報(A)
公開日
2025-10-24
出願番号
2024063883
出願日
2024-04-11
発明の名称
撮像装置
出願人
キヤノン株式会社
代理人
個人
主分類
G03B
17/55 20210101AFI20251017BHJP(写真;映画;光波以外の波を使用する類似技術;電子写真;ホログラフイ)
要約
【課題】装置内部の温度上昇時における位置検出素子の検出精度低下を抑えることが可能な撮像装置を提供する。
【解決手段】撮像装置10は、固定部と、平面内の所定の範囲を固定部に対して相対的に移動可能に配置される可動部とを有するブレ補正ユニット20を備える。可動部は、光軸と直交する撮像面を有する撮像素子と、撮像素子を保持する可動部材と、可動部材に取り付けられる第1の基板と、光軸の方向から見た場合に、撮像素子と重なる位置に配置されるとともに、第1の基板に搭載される位置検出素子とを備え、固定部は位置検出素子に対向する位置に配置される位置検出磁石を有する。撮像素子で発生する熱が位置検出素子に最も伝わる経路は、可動部材と第1の基板を通る経路であり、且つ第1の基板は可動部材よりも熱伝導率が低い。
【選択図】図10
特許請求の範囲
【請求項1】
第1のユニットと、
平面内の所定の範囲を前記第1のユニットに対して相対的に移動可能に配置される第2のユニットと、
を有する駆動機構を備えた撮像装置であって、
前記第2のユニットは、
光軸と直交する撮像面を有する撮像素子と、
前記撮像素子を保持する可動部材と、
前記可動部材に取り付けられる第1の基板と、
前記光軸の方向から見た場合に、前記撮像素子と重なる位置に配置されるとともに、前記第1の基板に搭載される位置検出素子を備え、
前記第1のユニットは前記位置検出素子に対向する位置に配置される位置検出磁石を有し、
前記撮像素子で発生する熱が前記位置検出素子に最も伝わる経路は、前記可動部材と前記第1の基板を通る経路であり、且つ前記第1の基板は前記可動部材よりも熱伝導率が低いことを特徴とする撮像装置。
続きを表示(約 1,100 文字)
【請求項2】
前記可動部材は、前記撮像素子を保持する撮像素子保持部材と、前記撮像素子保持部材に接続される連結部材とから構成されることを特徴とする請求項1記載の撮像装置。
【請求項3】
前記第1の基板よりも熱伝導率が高い伝熱部材をさらに有し、
前記伝熱部材は、一端が前記連結部材に接続し、他端が前記第1のユニットに接続することを特徴とする請求項2記載の撮像装置。
【請求項4】
前記伝熱部材は、前記連結部材よりも熱伝導率が高いことを特徴とする請求項3記載の撮像装置。
【請求項5】
前記撮像素子は第2の基板を介して前記可動部材に保持され、
前記第1の基板は第2の基板よりも熱伝導率が低いことを特徴とする請求項1記載の撮像装置。
【請求項6】
前記可動部は磁性部材を備え、
前記磁性部材は前記光軸の方向で前記位置検出磁石に対向する位置に配置され、
前記位置検出素子は前記磁性部材と前記位置検出磁石の間に配置されることを特徴とする請求項1記載の撮像装置。
【請求項7】
前記磁性部材は前記可動部材に接続されていて、前記第1の基板は前記磁性部材よりも熱伝導率が低いことを特徴とする請求項6に記載の撮像装置。
【請求項8】
前記光軸の方向から見た場合に、前記磁性部材は前記位置検出素子を覆うように配置されることを特徴とする請求項6記載の撮像装置。
【請求項9】
前記可動部の可動範囲全域において、前記光軸の方向から見た場合に、前記磁性部材が前記位置検出磁石を覆うことを特徴とする請求項6記載の撮像装置。
【請求項10】
第1のユニットと、
平面内の所定の範囲を前記第1のユニットに対して相対的に移動可能に配置される第2のユニットと、
を有する駆動機構を備えた撮像装置であって、
前記第2のユニットは、
光軸と直交する撮像面を有する撮像素子と、
前記撮像素子を保持する可動部材と、
前記可動部材に取り付けられる第1の基板と、
前記光軸の方向から見た場合に、前記撮像素子と重なる位置に配置されるとともに、前記第1の基板に搭載される位置検出素子を備え、
前記第1のユニットは前記位置検出素子に対向する位置に配置される位置検出磁石を有し、
前記第1の基板は、前記可動部材よりも熱伝導率が低く、
前記位置検出素子は、前記第1の基板よりも熱伝導率が高い部材と接触していないことを特徴とする撮像装置。
発明の詳細な説明
【技術分野】
【0001】
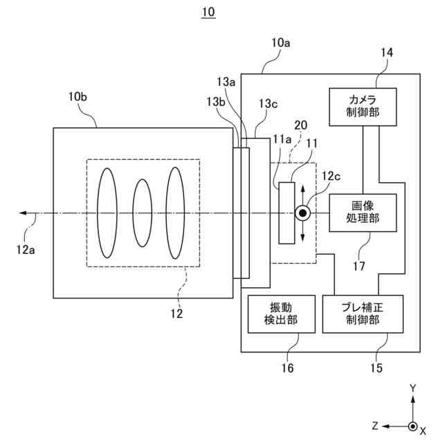
本発明は、撮像装置に関し、特に、位置制御を行う駆動装置を備える撮像装置に関する。
続きを表示(約 1,000 文字)
【背景技術】
【0002】
従来より、固定部に対して可動部を平面内で移動させる駆動装置が知られている。
【0003】
このような駆動装置の適用例として、撮像装置に搭載されるブレ補正機構が挙げられる。ブレ補正機構では、可動部に撮像素子が搭載され、所定のセンサによって検出されたブレ量に基づいて、ブレを打ち消すように可動部が駆動される。
【0004】
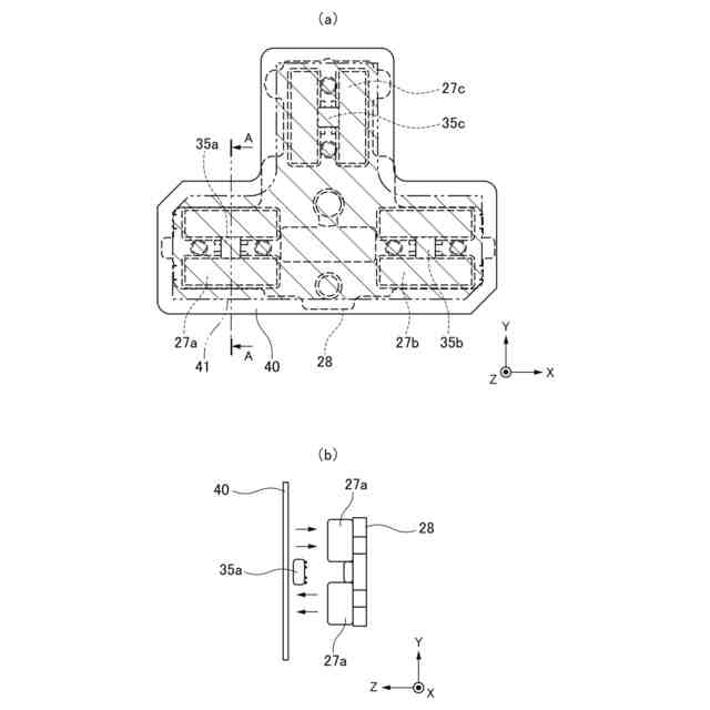
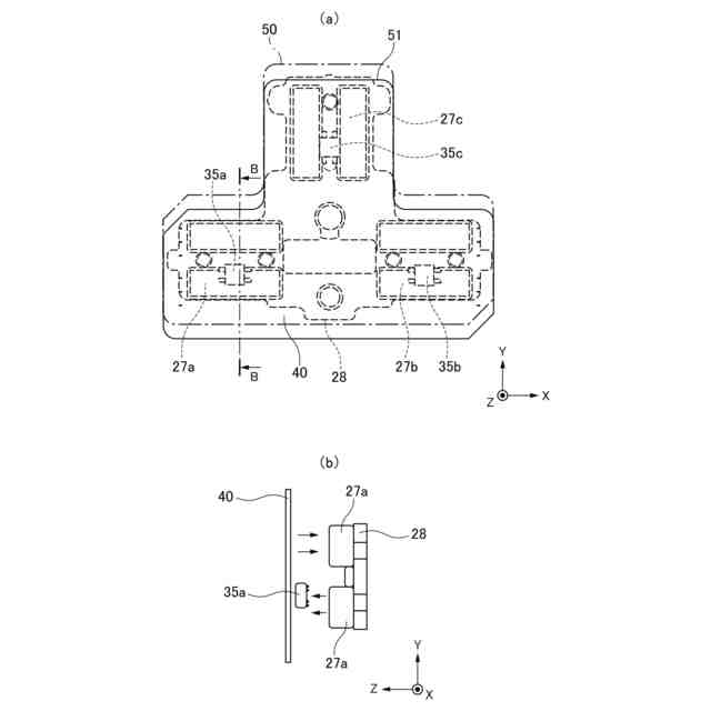
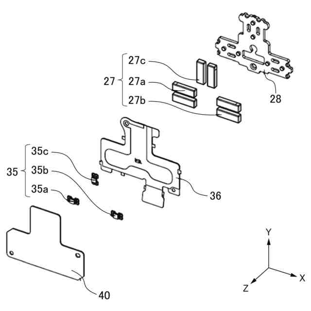
可動部を駆動する際には、固定部に対する可動部の位置を検出しながら、可動部の位置制御が行われる。可動部の位置検出を行う方式として、固定部と可動部の一方に磁石を、他方に磁束密度に比例した電圧を出力する磁気センサを配置する構成が知られている。例えば、特許文献1に記載された技術では、可動部に磁気センサを、固定部に磁石が配置される構成が提案されており、撮像素子を搭載した基板に磁気センサを、磁気センサと対向する位置に磁石が配置されている。
【0005】
このような配置により、可動部と固定部の位置変化に応じて、磁石から磁気センサに到達する磁束密度が変化することで、磁気センサの出力電圧が変化し、出力電圧値を元に可動部の位置検出が行われる。
【0006】
ブレ補正機構の精度を高める上で、可動部の位置検出精度が重要な要素の一つとなっている。
【先行技術文献】
【特許文献】
【0007】
特許第6846532号公報
【発明の概要】
【発明が解決しようとする課題】
【0008】
しかしながら、撮像装置は動画撮影などにより、撮像素子を搭載した基板の温度が急峻に高くなることがあるため、特許文献1のように撮像素子と同じ基板に磁気センサを搭載すると、磁気センサの温度変化が大きくなることがある。
【0009】
磁気センサは温度変化に応じて、出力が変化するという特性も備えているため、磁気センサの温度変化により、磁気センサの出力が変化してしまい、その結果、可動部の位置検出精度が低下するおそれがある。
【0010】
そこで、本発明は、装置内部の温度上昇時における位置検出素子の検出精度低下を抑えることが可能な撮像装置を提供することを目的とする。
【課題を解決するための手段】
(【0011】以降は省略されています)
この特許をJ-PlatPat(特許庁公式サイト)で参照する
関連特許
キヤノン株式会社
容器
2日前
キヤノン株式会社
トナー
18日前
キヤノン株式会社
トナー
18日前
キヤノン株式会社
トナー
18日前
キヤノン株式会社
トナー
5日前
キヤノン株式会社
トナー
23日前
キヤノン株式会社
記録装置
23日前
キヤノン株式会社
現像装置
16日前
キヤノン株式会社
現像装置
16日前
キヤノン株式会社
測距装置
11日前
キヤノン株式会社
定着装置
17日前
キヤノン株式会社
電子機器
25日前
キヤノン株式会社
現像容器
16日前
キヤノン株式会社
撮像装置
23日前
キヤノン株式会社
記録装置
2日前
キヤノン株式会社
現像容器
16日前
キヤノン株式会社
記録装置
16日前
キヤノン株式会社
撮像装置
2日前
キヤノン株式会社
現像装置
9日前
キヤノン株式会社
撮像装置
2日前
キヤノン株式会社
撮影装置
16日前
キヤノン株式会社
撮像装置
19日前
キヤノン株式会社
撮像装置
2日前
キヤノン株式会社
現像剤容器
24日前
キヤノン株式会社
モジュール
18日前
キヤノン株式会社
光学センサ
18日前
キヤノン株式会社
半導体装置
25日前
キヤノン株式会社
映像表示装置
18日前
キヤノン株式会社
電子写真装置
3日前
キヤノン株式会社
画像処理装置
16日前
キヤノン株式会社
画像形成装置
24日前
キヤノン株式会社
カートリッジ
16日前
キヤノン株式会社
画像形成装置
3日前
キヤノン株式会社
画像形成装置
9日前
キヤノン株式会社
印刷システム
4日前
キヤノン株式会社
画像形成装置
17日前
続きを見る
他の特許を見る