TOP
|
特許
|
意匠
|
商標
特許ウォッチ
Twitter
他の特許を見る
公開番号
2025158755
公報種別
公開特許公報(A)
公開日
2025-10-17
出願番号
2024061615
出願日
2024-04-05
発明の名称
乾燥装置
出願人
トヨタ自動車株式会社
代理人
弁理士法人深見特許事務所
主分類
F26B
13/10 20060101AFI20251009BHJP(乾燥)
要約
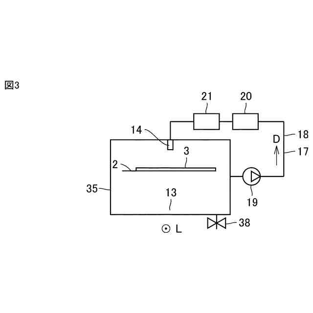
【課題】予熱区間において空気を加熱するためのエネルギー使用量を抑制した乾燥装置7を提供することである。
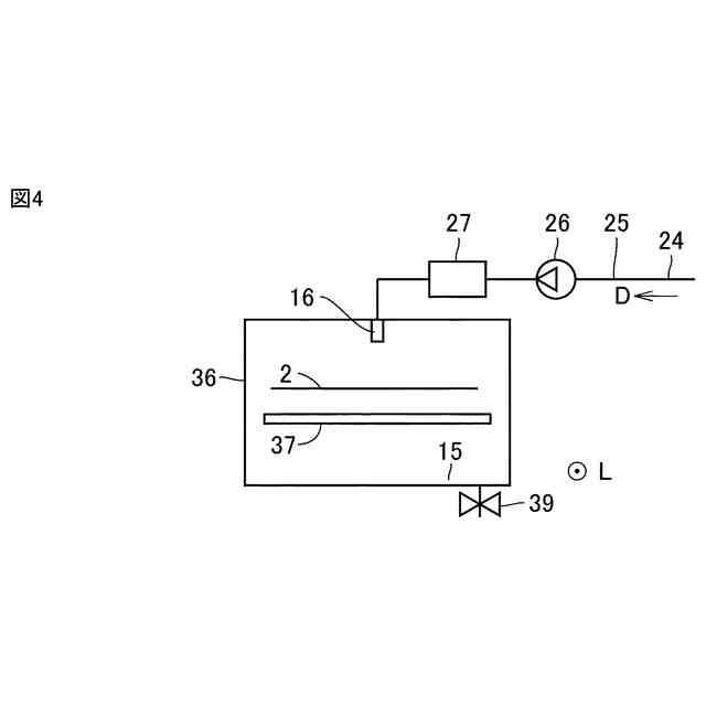
【解決手段】電極ペースト3が形成された電極シート2を乾燥する乾燥装置7であって、電極シート2を予熱する予熱ユニット11と、予熱ユニット11において予熱された電極シート2に形成された電極ペースト3を乾燥する乾燥ユニット12とを備える。予熱ユニット11は、加熱部20と、液体供給部21と吹付部14とから形成されるとともに、内部で気体が循環する循環回路17を含む。加熱部20は、気体を加熱し、液体供給部21は、気体に液体を供給する。
【選択図】図3
特許請求の範囲
【請求項1】
電極ペーストが形成された電極シートを乾燥する乾燥装置であって、
前記電極シートを予熱する予熱ユニットと、
前記予熱ユニットにおいて予熱された前記電極シートに形成された前記電極ペーストを乾燥する乾燥ユニットとを備え、
前記予熱ユニットは、加熱部と、液体供給部と吹付部とから形成されるとともに、内部で気体が循環する循環回路を含み、
前記加熱部は、前記気体を加熱し、
前記液体供給部は、前記気体に液体を供給する、乾燥装置。
続きを表示(約 350 文字)
【請求項2】
前記気体は、空気であり、
前記液体は、水である、請求項1に記載の乾燥装置。
【請求項3】
前記液体は、前記電極ペーストに含まれる溶媒である、請求項1に記載の乾燥装置。
【請求項4】
前記液体供給部は、前記加熱部に対して、前記循環回路内を流れる前記気体の上流側に配置された、請求項1に記載の乾燥装置。
【請求項5】
前記予熱ユニットには予熱室が形成されており、
前記吹付部は前記予熱室に設けられており、
前記電極シートは予熱室内に配置され、
前記予熱室が前記液体による飽和蒸気で満たされた環境下において、前記吹付部は前記電極シートに前記気体を吹き付ける、請求項1から請求項4のいずれかに記載の乾燥装置。
発明の詳細な説明
【技術分野】
【0001】
本開示は、乾燥装置に関する。
続きを表示(約 1,000 文字)
【背景技術】
【0002】
例えば、特開2002-008722号公報(特許文献1)には、電極ペーストが形成された電極シートを乾燥する乾燥装置が開示されている。乾燥装置は、一般的に、電極シートに加熱した空気を吹き付けることで、電極ペーストを乾燥させて、電極合材層を形成する。このような乾燥装置においては、外部から取り込んだ空気を加熱して、加熱された空気が電極シートに吹き付けられる。
【先行技術文献】
【特許文献】
【0003】
特開2002-008722号公報
【発明の概要】
【発明が解決しようとする課題】
【0004】
電極シートの乾燥装置において、最初の予熱区間では、電極シートを、たとえば、120度まで加熱する。この予熱区間においては、電極シート自体を温めることを目的としており、電極ペーストから水分を除去することを目的としていない。
【0005】
その一方で、従来の乾燥装置においては、予熱区間においても、外部から取り込んだ空気を暖めて、電極シートに吹き付け、その後、電極シートを暖めた空気は外部に排出される。
【0006】
このため、順次、外部の空気を暖める必要があり、空気を加熱するために多くのエネルギーが使用されているという課題が生じている。
【0007】
本開示は、上記課題を解決するためになされたものであり、その目的は、予熱区間において空気を加熱するためのエネルギー使用量を抑制した乾燥装置を提供することである。
【課題を解決するための手段】
【0008】
本開示の第1の局面に係る乾燥装置は、電極ペーストが形成された電極シートを乾燥する乾燥装置であって、電極シートを予熱する予熱ユニットと、予熱ユニットにおいて予熱された電極シートに形成された電極ペーストを乾燥する乾燥ユニットとを備え、予熱ユニットは、加熱部と、液体供給部と吹付部とから形成されるとともに、内部で気体が循環する循環回路を含み、加熱部は、気体を加熱し、液体供給部は、気体に液体を供給する。
【0009】
本開示の第1の局面に係る乾燥装置の気体は、空気であり、液体は、水である。
【0010】
本開示の第1の局面に係る乾燥装置の液体は、電極ペーストに含まれる溶媒である。
(【0011】以降は省略されています)
この特許をJ-PlatPat(特許庁公式サイト)で参照する
関連特許
トヨタ自動車株式会社
電池
1日前
トヨタ自動車株式会社
車両
3日前
トヨタ自動車株式会社
方法
4日前
トヨタ自動車株式会社
方法
4日前
トヨタ自動車株式会社
車両
15日前
トヨタ自動車株式会社
電池
10日前
トヨタ自動車株式会社
車両
1日前
トヨタ自動車株式会社
車両
15日前
トヨタ自動車株式会社
車両
9日前
トヨタ自動車株式会社
電池
11日前
トヨタ自動車株式会社
椅子
4日前
トヨタ自動車株式会社
車両
8日前
トヨタ自動車株式会社
電動車
15日前
トヨタ自動車株式会社
電動車
15日前
トヨタ自動車株式会社
ケース
10日前
トヨタ自動車株式会社
電動車
11日前
トヨタ自動車株式会社
電解液
15日前
トヨタ自動車株式会社
電動車
4日前
トヨタ自動車株式会社
電磁弁
4日前
トヨタ自動車株式会社
飛行体
1日前
トヨタ自動車株式会社
モータ
2日前
トヨタ自動車株式会社
固定子
9日前
トヨタ自動車株式会社
回転子
15日前
トヨタ自動車株式会社
加熱器
8日前
トヨタ自動車株式会社
電動車
15日前
トヨタ自動車株式会社
駆動装置
15日前
トヨタ自動車株式会社
バッテリ
9日前
トヨタ自動車株式会社
駆動装置
1日前
トヨタ自動車株式会社
製造装置
9日前
トヨタ自動車株式会社
監視装置
9日前
トヨタ自動車株式会社
搬送装置
1日前
トヨタ自動車株式会社
判定装置
4日前
トヨタ自動車株式会社
電源装置
1日前
トヨタ自動車株式会社
蓄電装置
15日前
トヨタ自動車株式会社
電動車両
2日前
トヨタ自動車株式会社
路側装置
10日前
続きを見る
他の特許を見る