TOP
|
特許
|
意匠
|
商標
特許ウォッチ
Twitter
他の特許を見る
10個以上の画像は省略されています。
公開番号
2025164610
公報種別
公開特許公報(A)
公開日
2025-10-30
出願番号
2024068712
出願日
2024-04-19
発明の名称
継手部構造
出願人
株式会社富田製作所
代理人
個人
主分類
E02D
5/24 20060101AFI20251023BHJP(水工;基礎;土砂の移送)
要約
【課題】施工現場での作業性を高めることを可能にするとともに、高力ボルトを用いる摩擦力による継手部構造を必須とするのではなく、一般的なボルトを用いて建築現場で作業を行うことを可能にする継手部構造を提供する。
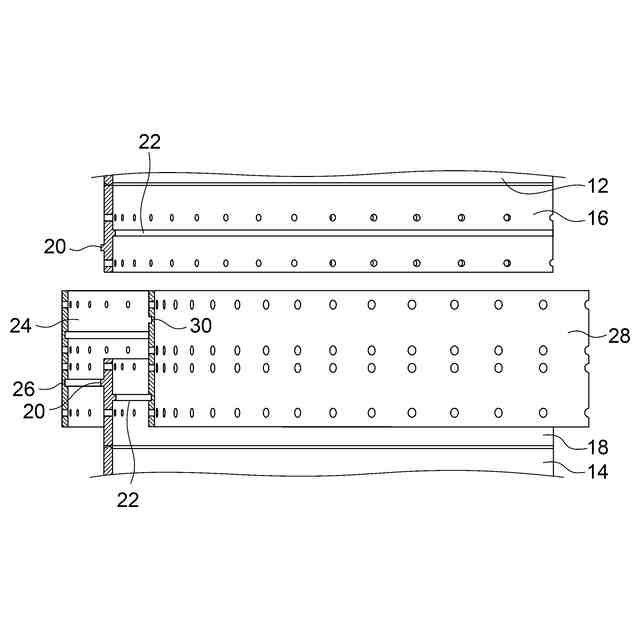
【解決手段】一実施形態に係る継手部構造10は、突き合わせ方向である第1方向に交差する第2方向に延びる第1主凸部20及び第2主凸部22をそれぞれ有する第1及び第2継手部材16、18と、第1主凸部20側において第1継手部材から第2継手部材まで延びるように重ね合わせられ、第1主凸部20が嵌まる第1副凹部24を有する第1サポート部材124と、第2主凸部22側において第1継手部材から第2継手部材まで延びるように重ね合わせられ、第2主凸部22が嵌まる第2副凹部30を有する第2サポート部材128と、それらを接続する接続部材B、Nとを備える。
【選択図】図3
特許請求の範囲
【請求項1】
互いに相対移動可能でかつ第1方向に突き合わされる第1継手部及び第2継手部であって、前記第1継手部及び前記第2継手部のそれぞれは、前記第1方向に交差する第2方向に延びる第1主凸部及び第2主凸部を有し、前記第1継手部及び前記第2継手部のそれぞれにおいて前記第1主凸部は前記第2主凸部の反対向きに突出する、第1継手部及び第2継手部と、
突き合わせられた前記第1継手部及び前記第2継手部の前記第1主凸部側において前記第1継手部から前記第2継手部まで延びるように重ね合わせられる第1サポート部材であって、前記第1継手部及び前記第2継手部の前記第1主凸部が嵌まる第1副凹部を有する、第1サポート部材と、
突き合わせられた前記第1継手部及び前記第2継手部の前記第2主凸部側において前記第1継手部から前記第2継手部まで延びるように重ね合わせられる第2サポート部材であって、前記第1継手部及び前記第2継手部の前記第2主凸部が嵌まる第2副凹部を有する、第2サポート部材と、
前記第1継手部及び前記第2継手部のいずれか一方を介して前記第1サポート部材から前記第2サポート部材にまで貫通する孔に取り付けられる接続部材と
を備える、
継手部構造。
続きを表示(約 400 文字)
【請求項2】
前記第2方向は前記第1方向と直角に交差する、
請求項1に記載の継手部構造。
【請求項3】
前記第1主凸部は第1傾斜側面を有し、前記第1副凹部は前記第1傾斜側面に対応する第1傾斜面を有し、
前記第2主凸部は第2傾斜側面を有し、前記第2副凹部は前記第2傾斜側面に対応する第2傾斜面を有する、
請求項1又は2に記載の継手部構造。
【請求項4】
前記第1継手部は第1の鋼管材に設けられ、前記第2継手部は第2の鋼管材に設けられ、
前記第1方向は、前記第1の鋼管及び前記第2の鋼管のそれぞれの軸方向である、
請求項1又は2に記載の継手部構造。
【請求項5】
前記第1継手部は第1の湾曲板材に設けられ、前記第2継手部は第2の湾曲板材に設けられている、
請求項1又は2に記載の継手部構造。
発明の詳細な説明
【技術分野】
【0001】
本開示は、例えば、鋼管杭、鋼管矢板、パイプルーフ工法用鋼管、建築物用柱材、水道管路等に用いられる部材相互間を連結するための継手部構造に関する。
続きを表示(約 2,100 文字)
【背景技術】
【0002】
従来、長尺の鋼管杭や鋼管矢板等の施工においては、運搬や製作上の都合から定尺の鋼管材を施工現場に搬入し、施工現場にて各鋼管材を溶接により連結することで所望の長さにしていた。
【0003】
しかし、このような溶接による連結作業には、熟練した技術を必要とし、また、気候条件等の作業条件の確保や溶接部の品質管理等に関して厳格な施工管理を必要とするものであった。更に、このような溶接作業に費やされる時間が施工時間に占める割合は大きく、工期の長期化の原因となっていた。
【0004】
また、鋼管材の接続は、溶接以外には、高力ボルトを用いて行われている。例えば特許文献1には、上下の鋼管の接合部において、その内側に接合用の複数の添接板を配置し、添接板と各鋼管本体とにわたって貫通するボルト孔に高力ボルトを差し込み締結することが開示されている。特許文献1のこの接続方法は、高力ボルトによる摩擦力による接合に向けられている。
【先行技術文献】
【特許文献】
【0005】
特開2008-202218号公報
【発明の概要】
【発明が解決しようとする課題】
【0006】
特許文献1に開示されているように、鋼管材の接続に高力ボルトを用いられているが、その高力ボルトは高価であり、また、社会情勢など外的要因により高力ボルトの入手が困難なときも有り得る。それ故、高力ボルトを用いずに、鋼管材などの部材同士を接続することが望まれる。
【0007】
また、近年、橋梁、洋上風力発電設備などは更に大型化の傾向があり、また、施工現場は、その作業環境がより一層過酷になる傾向がある。よって、施工現場での鋼管材などの連結作業の作業性を高めることに強い要求がある。
【0008】
本開示は、施工現場での作業性を高めることを可能にするとともに、高力ボルトを用いる摩擦力による継手部構造を必須とするのではなく、一般的なボルトを用いて建築現場で作業を行うことを可能にする継手部構造を提供することを目的とする。
【課題を解決するための手段】
【0009】
本開示に係る一態様は、
互いに相対移動可能でかつ第1方向に突き合わされる第1継手部及び第2継手部であって、前記第1継手部及び前記第2継手部のそれぞれは、前記第1方向に交差する第2方向に延びる第1主凸部及び第2主凸部を有し、前記第1継手部及び前記第2継手部のそれぞれにおいて前記第1主凸部は前記第2主凸部の反対向きに突出する、第1継手部及び第2継手部と、
突き合わせられた前記第1継手部及び前記第2継手部の前記第1主凸部側において前記第1継手部から前記第2継手部まで延びるように重ね合わせられる第1サポート部材であって、前記第1継手部及び前記第2継手部の前記第1主凸部が嵌まる第1副凹部を有する、第1サポート部材と、
突き合わせられた前記第1継手部及び前記第2継手部の前記第2主凸部側において前記第1継手部から前記第2継手部まで延びるように重ね合わせられる第2サポート部材であって、前記第1継手部及び前記第2継手部の前記第2主凸部が嵌まる第2副凹部を有する、第2サポート部材と、
前記第1継手部及び前記第2継手部のいずれか一方を介して前記第1サポート部材から前記第2サポート部材にまで貫通する孔に取り付けられる接続部材と
を備える、
継手部構造
を提供する。
【0010】
上記構成によれば、突き合わせられた第1継手部及び第2継手部の第1主凸部が第1サポート部材の第1副凹部に嵌まることで第1継手部及び第2継手部に第1サポート部材の位置決めされ、突き合わせられた第1継手部及び第2継手部の第2主凸部が第2サポート部材の第2副凹部に嵌まることで第1継手部及び第2継手部に第2サポート部材の位置決めされ、そして、それらに接続部材を取り付けることで、第1継手部及び第2継手部の接続を行うことができ、よって施工現場での作業性を高めることができる。また、第1継手部及び第2継手部の突き合わせ方向である第1方向に交差する第2方向に第1主凸部及び第2主凸部が延び、同様に第1主凸部が嵌まる第1副凹部及び第2主凸部が嵌まる第2副凹部が延びる。したがって、第1継手部と第2継手部との間のせん断力は、仮に生じても、第1主凸部と第1副凹部との嵌合及び第2主凸部と第2副凹部との嵌合により受けることができ、上記継手部構造はそのせん断力に対する十分な耐久性を好適に発揮することができる。したがって、例えば、第1継手部及び第2継手部間の初期すべりを確実に防ぐことができ、より良好にそれらの第1及び第2継手部を接続することができる。よって、高力ボルトを用いる摩擦力による継手部構造を必須とするのではなく、一般的なボルトなどの接続部材を用いて建築現場で、凸部と凹部の嵌合によるせん断力に対する強度伝達で第1継手部及び第2継手部の接続作業を好適に行うことが可能になる。
(【0011】以降は省略されています)
この特許をJ-PlatPat(特許庁公式サイト)で参照する
関連特許
株式会社富田製作所
支持構造
3日前
株式会社富田製作所
継手部構造
3日前
個人
バケット
3日前
個人
建物の不同沈下の修正方法
10日前
株式会社大林組
操縦装置
6日前
千代田工営株式会社
回転貫入杭
17日前
株式会社富田製作所
継手部構造
3日前
株式会社熊谷組
地盤改良方法
26日前
株式会社熊谷組
山留壁用親杭
23日前
日立建機株式会社
作業車両
19日前
日立建機株式会社
作業機械
17日前
日立建機株式会社
建設機械
24日前
ヤンマーホールディングス株式会社
作業機械
16日前
日立建機株式会社
作業機械
23日前
日立建機株式会社
作業機械
23日前
日本車輌製造株式会社
建設機械
19日前
日立建機株式会社
作業機械
23日前
日立建機株式会社
建設機械
24日前
日立建機株式会社
作業機械
24日前
ヤンマーホールディングス株式会社
作業機械
16日前
FKS株式会社
擁壁及び擁壁の築造方法
5日前
株式会社次世代一次産業実践所
登山道の施工装置
11日前
株式会社三誠
建物の免震構造
10日前
鹿島建設株式会社
接続方法および接続構造
19日前
ライト工業株式会社
鉄筋保持用治具
24日前
カナデビア株式会社
サクション基礎
24日前
株式会社竹内製作所
作業用車両
23日前
JFEスチール株式会社
鋼管矢板の継手構造
24日前
株式会社竹内製作所
作業用車両
23日前
株式会社竹内製作所
作業用車両
23日前
株式会社竹内製作所
作業用車両
23日前
株式会社日立建機ティエラ
建設機械
25日前
山形新興株式会社
建築物の基礎及び基礎成形型
18日前
浙江工業大学
多機能土柱モデル装置及び使用方法
1か月前
清水建設株式会社
遮水層の構築方法
23日前
ヤンマーホールディングス株式会社
作業機械
26日前
続きを見る
他の特許を見る