TOP
|
特許
|
意匠
|
商標
特許ウォッチ
Twitter
他の特許を見る
10個以上の画像は省略されています。
公開番号
2025147920
公報種別
公開特許公報(A)
公開日
2025-10-07
出願番号
2024048433
出願日
2024-03-25
発明の名称
作業機械
出願人
ヤンマーホールディングス株式会社
代理人
個人
,
個人
主分類
E02F
9/00 20060101AFI20250930BHJP(水工;基礎;土砂の移送)
要約
【課題】作業装置の姿勢に関わらず機器類の上方を覆うカバーを開閉することが可能な作業機械を提供すること。
【解決手段】掘削作業機1は、バケット23を有する掘削装置3を備え、旋回フレーム7上に設けた右機関室9aを上方から覆う上面カバー部41と、上面カバー部41の後端部を旋回フレーム7に接続する連結部を備え、連結部は、上面カバー部41を、後端部を支点として上下方向に回動させるとともに、水平方向に回動可能に構成されている。
【選択図】図6
特許請求の範囲
【請求項1】
作業装置を支持するフレームの左右の一方側に運転部を配置し、他方側に機器類を収容する収容部を配置した作業機械において、
前記収容部を上方から開閉自在に覆うカバー部と、
前記カバー部を前記フレームに対して水平方向に回動可能に連結する連結部と、
を備えることを特徴とする作業機械。
続きを表示(約 790 文字)
【請求項2】
前記連結部は、前記カバー部を前記フレームに対して上下に回動可能に連結する、
請求項1に記載の作業機械。
【請求項3】
前記連結部は、
前記カバー部を上下に回動可能に支持する第1支持部と、
前記第1支持部を水平方向に回動可能に支持する第2支持部と、
を備える請求項2に記載の作業機械。
【請求項4】
前記連結部は、前記第1支持部に対して水平方向の回動を規制する回動規制機構を備える請求項3に記載の作業機械。
【請求項5】
前記回動規制機構は、
前記第1支持部に支持された固定部材と、
前記固定部材を前記第1支持部よりも下方で着脱可能に保持する保持部と、
を備える請求項4に記載の作業機械。
【請求項6】
前記保持部は、前記第2支持部に支持されている、
請求項5に記載の作業機械。
【請求項7】
前記第2支持部は、前記収容部の上方に配置されている、
請求項6に記載の作業機械。
【請求項8】
前記連結部は、前記保持部の位置に対して前記収容部の幅方向にずれた位置に、前記固定部材と当接する当接部を備える、
請求項7に記載の作業機械。
【請求項9】
前記作業装置は、前記運転部と前記収容部との間に前後に揺動可能に前記フレームに支持されている、
請求項1から請求項8のいずれか1項に記載の作業機械。
【請求項10】
前記作業装置は、バケットを有する掘削装置であり、
前記掘削装置は、作業機械の中心に最も近い姿勢を保持している状態で、平面視において前記バケットが前記カバー部に重なるように配置されている、
請求項9に記載の作業機械。
発明の詳細な説明
【技術分野】
【0001】
本発明は、作業装置を備えた作業機械に関する。
続きを表示(約 1,900 文字)
【背景技術】
【0002】
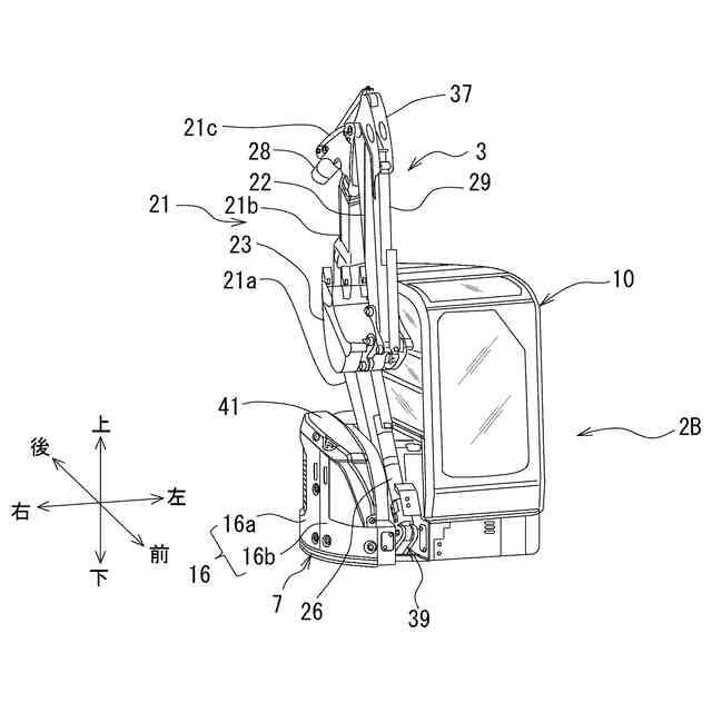
従来、例えば掘削作業機等の作業機械には、下左右一対のクローラ式の走行部を有する下部走行体と、下部走行体に旋回可能に接続された上部旋回体と、上部旋回体の旋回フレームに俯仰動可能に配設された作業装置から構成されている。上部旋回体は、旋回フレームを有し、旋回フレーム上には、運転席を有する運転部、エンジンを配置する機関室、並びに、燃料タンクおよび油圧アクチュエータを作動させる作動油を貯留する作動油タンク等が設けられている。そして、作業機械の点検作業の観点から、燃料タンクおよび作動油タンクの上方は、開閉可能に構成されたカバーにより覆われている。
【0003】
特許文献1には、旋回フレーム上の運転席右側に燃料タンク、作動油タンクおよびバッテリを配置し、それらを上側から覆うカバーを旋回フレームの前側を支点として開閉可能に構成した作業機械が開示されている。
【先行技術文献】
【特許文献】
【0004】
特開2005-344332号公報
【発明の概要】
【発明が解決しようとする課題】
【0005】
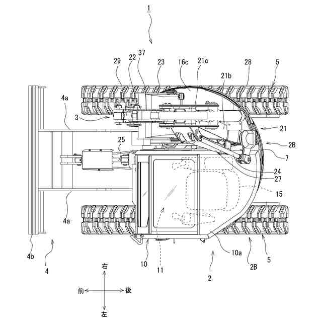
ところで、油圧ショベルと呼称される作業機械の作業装置は、基端が旋回フレームに回動可能に取り付けられたブームと、ブームの先端に取り付けられたアームと、アームの先端に回動可能に取り付けられたバケットとを有している。また、油圧ショベルには、超小旋回型と呼ばれる油圧ショベルと、後方小旋回型と呼ばれる油圧ショベルがある。超小旋回型の油圧ショベルとは、後端旋回半径比(後端旋回半径×2を車幅で除した値×100)、フロント最小旋回半径比(フロント最小旋回半径または機体前部の旋回中心からの最大距離×2を車幅で除した値×100)がともに120%以内である油圧ショベルである。また、後方小旋回型の油圧ショベルとは、後端旋回半径比のみが120%以下となる油圧ショベルである。
【0006】
超小旋回型の油圧ショベルでは、フロント最小旋回半径比においても120%以下となる条件を満たすよう作業装置を作業機械の中心に近い位置で支持するため、作業装置にアームを左右方向に移動可能とする構成の所謂オフセットブームを採用している。オフセットブームは、ブームが旋回フレームに対して運転席とタンクカバーの間の領域を移動可能に配置されている。作業装置が後端旋回半径比およびフロント最小旋回半径比がともに120%以下となる姿勢(以下、小旋回姿勢と呼称する)のときには、バケットが運転席周囲の全面を覆うキャビン又は運転席上方を覆うルーフとの干渉するのを避けるため、ブームを左右方向にも折畳み、開口側および掘削刃を上向きとしたバケットを旋回フレーム右側に配置した機器類を上から覆うカバーの上方に位置させている。
【0007】
作業装置の小旋回姿勢は、狭いスペースで上部旋回体を旋回させるときの姿勢に限られるものでない。例えば、作業機械を運搬車両の荷台に載せて運搬するとき等の狭いスペースでの駐機時にも、作業装置を小旋回姿勢としている。駐機しているときには、エンジンが停止しているため、時間がたつにつれてバケットがその自重により開口側の向きを上向きから後向きに変える。そうすると、作業具シリンダからバケットの下端までの垂直方向の長さが、掘削刃を上向きとしていたときよりも長くなる。つまり、バケットとタンクカバーとの間の空間が狭くなり、バケットがカバーの開閉の邪魔になる。
【0008】
例えば、特許文献1に開示された構成のように、旋回フレームの前側を支点として開閉するタンクカバーでは、支点から最も遠いカバー後端がタンクカバー開閉時に描く軌跡上に自重により向きを変えたバケットの下端が位置することになり、タンクカバーを完全に開くことができない。このため、メンテナンスの作業性を低下させることとなる。
【0009】
本発明は、上記のような問題点に鑑みてなされたものであり、作業装置の姿勢に関わらず機器類の上方を覆うカバーを開閉することが可能な作業機械を提供することを目的とする。
【課題を解決するための手段】
【0010】
本発明に係る作業機械は、作業装置を支持するフレームの左右の一方側に運転部を配置し、他方側に機器類を収容する収容部を配置した作業機械において、前記収容部を上方から開閉自在に覆うカバー部と、前記カバー部を前記フレームに対して水平方向に回動可能に連結する連結部と、を備えることを特徴とするものである。
(【0011】以降は省略されています)
この特許をJ-PlatPat(特許庁公式サイト)で参照する
関連特許
個人
鋼管
21日前
FKS株式会社
擁壁
10日前
鈴健興業株式会社
敷板部材
6日前
株式会社クボタ
作業車
8日前
株式会社クボタ
作業車
8日前
株式会社奥村組
ケーソン工法
13日前
株式会社ネクステリア
平板基礎
6日前
個人
擁壁用ブロックおよび擁壁
7日前
株式会社大林組
建物の構造
7日前
株式会社武井工業所
積みブロック
1か月前
株式会社奥村組
ケーソン刃口金物
13日前
株式会社大林組
袋体付き排水パイプ
20日前
株式会社熊谷組
地盤改良方法
2日前
株式会社熊谷組
密度計測方法
8日前
株式会社大林組
袋体付き排水パイプ
20日前
ヤマト発動機株式会社
浮遊型消波装置
10日前
日立建機株式会社
作業機械
10日前
日立建機株式会社
建設機械
6日前
大和ハウス工業株式会社
杭抜き先端具
14日前
日立建機株式会社
建設機械
今日
日立建機株式会社
作業機械
今日
日立建機株式会社
建設機械
今日
ヤンマーホールディングス株式会社
作業機械
1か月前
日立建機株式会社
作業機械
28日前
ゼニヤ海洋サービス株式会社
通船ゲート
20日前
株式会社地盤改良堀田
基礎杭の設置方法
1か月前
有限会社冨永総業
キャンプ用ペグ抜きハンマー
1か月前
住友金属鉱山株式会社
タンク設置用基礎
1か月前
カナデビア株式会社
サクション基礎
今日
株式会社フジタ
掘削機
29日前
ライト工業株式会社
鉄筋保持用治具
今日
鹿島建設株式会社
接続方法および接続構造
20日前
JFEスチール株式会社
鋼管矢板の継手構造
10日前
有限会社 櫂設計事務所
掘削・撹拌具
1か月前
JFEスチール株式会社
鋼管矢板の継手構造
22日前
JFEスチール株式会社
鋼管矢板の継手構造
22日前
続きを見る
他の特許を見る