TOP
|
特許
|
意匠
|
商標
特許ウォッチ
Twitter
他の特許を見る
公開番号
2025152302
公報種別
公開特許公報(A)
公開日
2025-10-09
出願番号
2024054133
出願日
2024-03-28
発明の名称
建設機械
出願人
日立建機株式会社
代理人
弁理士法人開知
主分類
E02F
9/20 20060101AFI20251002BHJP(水工;基礎;土砂の移送)
要約
【課題】作業を中断することなく角速度センサのスケールファクタの校正の要否を判定できる建設機械を提供すること。
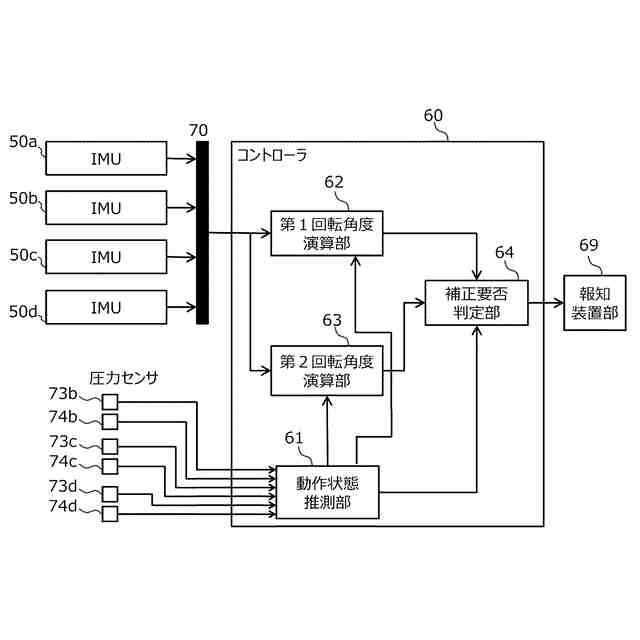
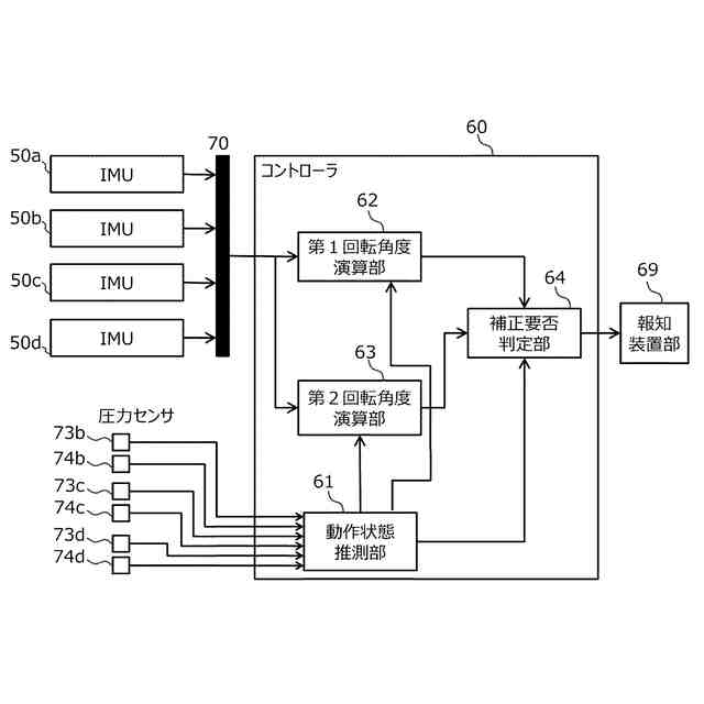
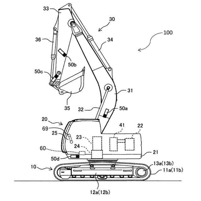
【解決手段】フロント部材31に取り付けられた角速度センサ及び加速度センサ(IMU50a)と、該角速度センサ及び該加速度センサの出力を用いて該フロント部材31の姿勢を演算するコントローラ60とを建設機械100に備える。コントローラ60は、該フロント部材31の動作中の該角速度センサによる検出角速度の積分値を第1回転角度θ1として演算し、該フロント部材31の該動作の前後における該加速度センサによる検出角度の差分を第2回転角度θ2として演算し、第1回転角度と第2回転角度との乖離が所定値δ1以上のとき該角速度センサのスケールファクタの補正が必要であることを報知装置69に出力する。
【選択図】 図2
特許請求の範囲
【請求項1】
連結された複数のフロント部材を有する作業装置と、前記フロント部材に取り付けられた角速度センサ及び加速度センサと、前記角速度センサ及び前記加速度センサの出力を用いて前記フロント部材の姿勢を演算するコントローラとを備えた建設機械において、
前記コントローラは、前記フロント部材の動作中の前記角速度センサによる検出角速度の積分値を第1回転角度として演算し、前記フロント部材の前記動作の前後における前記加速度センサによる検出角度の差分を第2回転角度として演算し、前記第1回転角度と前記第2回転角度との乖離が所定値以上のとき前記角速度センサのスケールファクタの補正が必要であることを報知装置に出力することを特徴とする建設機械。
続きを表示(約 1,300 文字)
【請求項2】
請求項1の建設機械において、
前記第1回転角度および前記第2回転角度は、前記フロント部材の動作が所定時間以上継続されたときに演算されることを特徴とする建設機械。
【請求項3】
請求項1の建設機械において、
前記第1回転角度および前記第2回転角度は、前記フロント部材の動作の速度が所定の速度以上であるときに演算されることを特徴とする建設機械。
【請求項4】
請求項1の建設機械において、
前記第1回転角度および前記第2回転角度は、前記フロント部材の動作の角加速度が所定の角加速度未満であるときに演算されることを特徴とする建設機械。
【請求項5】
請求項1の建設機械において、
前記コントローラは、前記作業装置の先端と掘削目標面との距離が所定値未満の状態が所定時間以上継続した場合に、前記第1回転角度と前記第2回転角度との乖離が前記所定値以上か否かを判定することを特徴とする建設機械。
【請求項6】
請求項1の建設機械において、
前記報知装置は、モニタ、スピーカ、及び警告灯の少なくとも1つであることを特徴とする建設機械。
【請求項7】
請求項1の建設機械において、
前記コントローラは、前記角速度センサのスケールファクタの補正が必要と判定されたとき、前記第1回転角度が前記第2回転角度に近づくように前記角速度センサの出力を補正することを特徴とする建設機械。
【請求項8】
請求項1の建設機械において、
前記フロント部材に対する操作装置の操作量、前記フロント部材を駆動するアクチュエータの圧力、前記アクチュエータに対する操作信号のいずれかを検出するセンサをさらに備え、
前記コントローラは、前記センサの検出値に基づいて、前記フロント部材の動作の開始と終了を判定することを特徴とする建設機械。
【請求項9】
請求項8の建設機械において、
前記コントローラは、前記センサの検出値に基づいて前記フロント部材の動作の速度及び角加速度を演算し、前記フロント部材の動作の速度が所定の速度以上、かつ、前記フロント部材の動作の角加速度が所定の角加速度未満である場合に前記第1回転角度と前記第2回転角度との乖離に基づいて前記補正の要否を判定することを特徴とする建設機械。
【請求項10】
建設機械に搭載された作業装置におけるフロント部材に取り付けられた角速度センサ及び加速度センサと、前記角速度センサ及び前記加速度センサの出力を受信する制御装置と、前記角速度センサのスケールファクタの補正の要否を報知する報知装置とを備えた補正要否判定システムにおいて、
前記制御装置は、前記フロント部材の動作中の前記角速度センサによる検出角速度の積分値を第1回転角度として演算し、前記フロント部材の前記動作の前後における前記加速度センサによる検出角度の差分を第2回転角度として演算し、前記第1回転角度と前記第2回転角度との乖離が所定値以上のとき前記角速度センサのスケールファクタの補正が必要であることを報知装置に出力することを特徴とする補正要否判定システム。
発明の詳細な説明
【技術分野】
【0001】
本発明は角速度センサを備えた建設機械に関する。
続きを表示(約 1,500 文字)
【背景技術】
【0002】
油圧ショベルを含む建設機械には加速度センサと角速度センサが搭載されることがある。例えば、油圧ショベルの作業装置を構成するフロント部材(例えばブーム、アーム及びアタッチメント)に加速度センサと角速度センサを取り付けると、加速度センサと角速度センサの出力から当該フロント部材の姿勢角を演算できる。
【0003】
ところで、角速度センサは経年変化によりスケールファクタ(感度)に変化が生じ得る。スケールファクタが変化するとセンサ出力から演算される角速度に誤差が生じ、その結果、角速度を積分して演算される角度変化量(回転角度)にも誤差が生じる。このため、スケールファクタが変化した場合には、スケールファクタを補正するための角速度センサの校正作業が必要になる。
【0004】
角速度センサの校正に関し、特許文献1には、振動ジャイロ(角速度センサ)を強制的に一定角度だけ回転させる一定角度強制回転機構を備えた振動ジャイロ装置を開示している。この装置では、移動体に角速度が加わっていない条件下で一定角度強制回転機構により振動ジャイロを強制的に一定角度回転させ、その時の振動ジャイロ出力に基づく回転角演算結果(角度の積分値)と実際の回転角とを比較し、その差に基づいて振動ジャイロのスケールファクタの補正要否の確認と補正を行っている。
【先行技術文献】
【特許文献】
【0005】
特開平02-266213号公報
【発明の概要】
【発明が解決しようとする課題】
【0006】
しかしながら、特許文献1の装置では、スケールファクタの補正の要否を確認するためだけに作業を中断して一定角度強制回転機構により振動ジャイロを回転させる必要があるため、建設機械による作業効率が低下し得る。
【0007】
本発明の目的は、作業を中断することなく角速度センサのスケールファクタの校正の要否を判定できる建設機械を提供することにある。
【課題を解決するための手段】
【0008】
本願は上記課題を解決する手段を複数含んでいるが、その一例を挙げるならば、連結された複数のフロント部材を有する作業装置と、前記フロント部材に取り付けられた角速度センサ及び加速度センサと、前記角速度センサ及び前記加速度センサの出力を用いて前記フロント部材の姿勢を演算するコントローラとを備えた建設機械において、前記コントローラは、前記フロント部材の動作中の前記角速度センサによる検出角速度の積分値を第1回転角度として演算し、前記フロント部材の前記動作の前後における前記加速度センサによる検出角度の差分を第2回転角度として演算し、前記第1回転角度と前記第2回転角度との乖離が所定値以上のとき前記角速度センサのスケールファクタの補正が必要であることを報知装置に出力することとする。
【発明の効果】
【0009】
本発明によれば作業を中断することなく角速度センサのスケールファクタの校正の要否を判定できる。
【図面の簡単な説明】
【0010】
第1の実施形態に係る油圧ショベルの外観を模式的に示す側面図である。
コントローラ60及びその周辺機器の一例の構成図である。
コントローラ60の処理を示すフローチャートである。
図3のフローを実行したときに現れる動作フラグと角速度積分値と傾斜角度の変化の説明図である。
第2の実施形態に係る補正要否判定システムの概略構成図である。
【発明を実施するための形態】
(【0011】以降は省略されています)
この特許をJ-PlatPat(特許庁公式サイト)で参照する
関連特許
日立建機株式会社
作業機械
3日前
日立建機株式会社
作業車両
16日前
日立建機株式会社
油圧機器
11日前
日立建機株式会社
作業機械
12日前
日立建機株式会社
作業機械
12日前
日立建機株式会社
作業機械
12日前
日立建機株式会社
作業車両
12日前
日立建機株式会社
建設機械
12日前
日立建機株式会社
建設機械
12日前
日立建機株式会社
建設機械
16日前
日立建機株式会社
油圧機器
16日前
日立建機株式会社
作業機械
16日前
日立建機株式会社
建設機械
16日前
日立建機株式会社
作業機械
10日前
日立建機株式会社
作業機械
16日前
日立建機株式会社
作業機械
16日前
日立建機株式会社
作業機械
16日前
日立建機株式会社
建設機械
16日前
日立建機株式会社
作業機械
17日前
日立建機株式会社
作業機械
17日前
日立建機株式会社
作業機械
20日前
日立建機株式会社
建設機械
20日前
日立建機株式会社
作業機械
24日前
日立建機株式会社
作業機械
1か月前
日立建機株式会社
作業機械
1か月前
日立建機株式会社
作業機械
10日前
日立建機株式会社
作業車両
12日前
日立建機株式会社
作業車両
10日前
日立建機株式会社
作業機械
10日前
日立建機株式会社
作業車両
5日前
日立建機株式会社
作業機械
9日前
日立建機株式会社
作業車両
9日前
日立建機株式会社
作業機械
9日前
日立建機株式会社
作業機械
9日前
日立建機株式会社
作業機械
9日前
日立建機株式会社
作業機械
9日前
続きを見る
他の特許を見る