TOP
|
特許
|
意匠
|
商標
特許ウォッチ
Twitter
他の特許を見る
公開番号
2025153460
公報種別
公開特許公報(A)
公開日
2025-10-10
出願番号
2024055953
出願日
2024-03-29
発明の名称
遮水層の構築方法
出願人
清水建設株式会社
代理人
個人
,
個人
,
個人
主分類
E02B
3/12 20060101AFI20251002BHJP(水工;基礎;土砂の移送)
要約
【課題】品質及び寸法を安定させつつ、施工が容易な遮水層の構築方法を提供する。
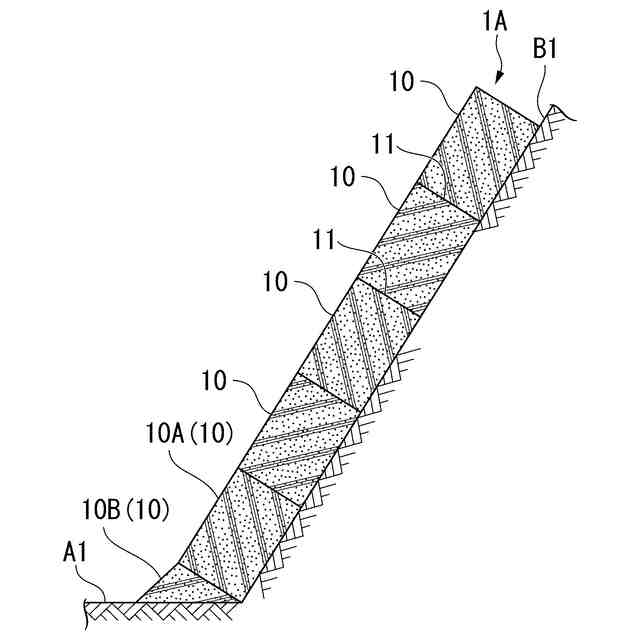
【解決手段】遮水層の構築方法は、ベントナイト混合土でブロック状に形成されたベントナイト混合土ブロック10を複数設置して遮水層1Aを構築し、略直方体状に形成されたベントナイト混合土ブロック10を、法面B1に沿って複数積み上げて設置して、最下段に設置されたベントナイト混合土ブロック10Aと略水平面に沿う設置面A1との間には、くさび状に形成されたベントナイト混合土ブロック10Bを設置する。
【選択図】図2
特許請求の範囲
【請求項1】
ベントナイト混合土でブロック状に形成されたベントナイト混合土ブロックを複数設置して遮水層を構築する遮水層の構築方法。
続きを表示(約 370 文字)
【請求項2】
略直方体状に形成された前記ベントナイト混合土ブロックを、法面に沿って複数積み上げて設置して、
最下段に設置された前記ベントナイト混合土ブロックと略水平面に沿う設置面との間には、くさび状に形成された前記ベントナイト混合土ブロックを設置する請求項1に記載の遮水層の構築方法。
【請求項3】
法面に対して略直角をなすように掘込面を形成し、
略直方体状に形成された前記ベントナイト混合土ブロックを、前記掘込面から前記法面に沿って複数積み上げて設置する請求項1に記載の遮水層の構築方法。
【請求項4】
略水平面に沿う設置面と法面に直交する断面視で、略平行四辺形状に形成された前記ベントナイト混合土ブロックを、法面に沿って複数積み上げて設置する請求項1に記載の遮水層の構築方法。
発明の詳細な説明
【技術分野】
【0001】
本発明は、遮水層の構築方法に関するものである。
続きを表示(約 1,300 文字)
【背景技術】
【0002】
従来から、一般廃棄物及び産業廃棄物等の最終処分場では、埋立地からの浸出液による公共の水域及び地下水の汚染を防止するための措置として、表面遮水工または鉛直遮水工を設置することとされている。
【0003】
表面遮水工では、以下の(1)~(3)の3つの二重遮水構造が規定されている。(1)透水層の上側に粘性土を設置して、その上側に遮水シート及び保護マットを設置して、保護土を設置する、(2)透水層の上側に水密アスファルトコンクリートを設置して、その上側に遮水シート及び保護マットを設置して、保護土を設置する、(3)透水層の上側に保護マット及び遮水シートを設置して、その上側に保護マットまたは砂で構成された中間保護層を設置して、その上側に遮水シート及び保護マットを設置して、保護土を設置する方法がある。
【0004】
近年は、粘性土に代わり、自己修復性による止水効果が期待できるベントナイト混合土を採用する事例がある(下記の特許文献1参照)。
【先行技術文献】
【特許文献】
【0005】
特開2014-020161号公報
【発明の概要】
【発明が解決しようとする課題】
【0006】
しかしながら、ベントナイト混合土の母材となる土砂は、最終処分場の造成に伴って発生した現地発生土を使用するため、土の性状が均質ではなく、施工したベントナイト混合土における均一性の確保が課題である。また、ベントナイトは水に触れると膨潤してしまうため、現地でのベントナイトと現地発生土の混合時や施工中は、降雨や地下水の湧水等で浸潤しないことが要求される。防水シートで養生しながら施工する防水対策を講じても、突然の天候悪化には対応が困難である。この他、施工面の課題として、法面部ではローラ転圧による施工が困難であることが挙げられる。
【0007】
そこで、本発明は、上記事情に鑑みてなされたものであり、品質及び寸法を安定させつつ、施工が容易な遮水層の構築方法を提供する。
【課題を解決するための手段】
【0008】
上記目的を達成するために、本発明は以下の手段を採用している。
すなわち、本発明に係る遮水層の構築方法は、ベントナイト混合土でブロック状に形成されたベントナイト混合土ブロックを複数設置して遮水層を構築する。
【0009】
このように構成された遮水層の構築方法では、ベントナイト混合土ブロックは工場で製作できるため、品質及び寸法を安定させることができる。また、現場では、ベントナイト混合土ブロックを設置すればよいため、容易に施工することができる。
【0010】
また、本発明に係る遮水層の構築方法では、略直方体状に形成された前記ベントナイト混合土ブロックを、法面に沿って複数積み上げて設置して、最下段に設置された前記ベントナイト混合土ブロックと略水平面に沿う設置面との間には、くさび状に形成された前記ベントナイト混合土ブロックを設置してもよい。
(【0011】以降は省略されています)
この特許をJ-PlatPat(特許庁公式サイト)で参照する
関連特許
鈴健興業株式会社
敷板部材
11日前
株式会社クボタ
作業車
13日前
株式会社クボタ
作業車
13日前
個人
擁壁用ブロックおよび擁壁
12日前
株式会社ネクステリア
平板基礎
11日前
株式会社大林組
建物の構造
12日前
株式会社熊谷組
山留壁用親杭
4日前
株式会社熊谷組
地盤改良方法
7日前
日立建機株式会社
建設機械
5日前
日立建機株式会社
建設機械
11日前
日立建機株式会社
作業機械
5日前
日立建機株式会社
作業機械
4日前
日立建機株式会社
作業機械
4日前
日立建機株式会社
建設機械
5日前
日立建機株式会社
作業機械
4日前
ライト工業株式会社
鉄筋保持用治具
5日前
カナデビア株式会社
サクション基礎
5日前
株式会社竹内製作所
作業用車両
4日前
株式会社竹内製作所
作業用車両
4日前
日立建機株式会社
電動式作業機械
11日前
株式会社竹内製作所
作業用車両
4日前
株式会社竹内製作所
作業用車両
4日前
JFEスチール株式会社
鋼管矢板の継手構造
5日前
株式会社日立建機ティエラ
建設機械
6日前
浙江工業大学
多機能土柱モデル装置及び使用方法
11日前
清水建設株式会社
遮水層の構築方法
4日前
コベルコ建機株式会社
施工システム
4日前
清水建設株式会社
免震装置の基礎構造
5日前
ヤンマーホールディングス株式会社
作業機械
7日前
清水建設株式会社
水制御システム
5日前
日立建機株式会社
作業車両
7日前
日立建機株式会社
作業機械
7日前
日立建機株式会社
作業機械
5日前
日立建機株式会社
作業機械
5日前
日立建機株式会社
作業車両
7日前
日立建機株式会社
作業機械
11日前
続きを見る
他の特許を見る