TOP
|
特許
|
意匠
|
商標
特許ウォッチ
Twitter
他の特許を見る
10個以上の画像は省略されています。
公開番号
2025166444
公報種別
公開特許公報(A)
公開日
2025-11-06
出願番号
2024070505
出願日
2024-04-24
発明の名称
画像形成装置
出願人
キヤノン株式会社
代理人
個人
,
個人
,
個人
,
個人
,
個人
主分類
G03G
21/16 20060101AFI20251029BHJP(写真;映画;光波以外の波を使用する類似技術;電子写真;ホログラフイ)
要約
【課題】本発明によれば、従来の技術を発展させた新たな形態の画像形成装置を提供することができる。
【解決手段】現像剤を収容するカートリッジを着脱可能な画像形成装置であって、感光体と、露光装置と、カートリッジから供給された現像剤を収容するように構成された収容部と、収容部に収容された現像剤を用いて感光体に現像剤像を現像する現像部材と、を備える回転可能なロータリと、カートリッジがロータリの内部に位置する装着位置と、カートリッジがロータリの外部に位置する退避位置とにカートリッジを移動させる移動装置と、を備え、中間転写ユニットと、を有し、鉛直方向に見て、中間転写ユニットと、ロータリの一部と、露光装置は重なり、カートリッジが装着位置から退避位置に移動する退避方向に見て、中間転写ユニットと、露光装置と、ロータリの前記一部が重なる、ことを特徴とする画像形成装置である。
【選択図】図13
特許請求の範囲
【請求項1】
現像剤を収容するカートリッジを着脱可能な画像形成装置であって、
感光体と、
前記感光体の表面を露光して前記表面に静電潜像を形成する露光装置と、
前記カートリッジから供給された前記現像剤を収容するように構成された収容部と、前記収容部に収容された前記現像剤を用いて前記感光体に現像剤像を現像する現像部材と、を備える回転可能なロータリと、
前記カートリッジが前記ロータリの内部に位置する装着位置と、前記カートリッジが前記ロータリの外部に位置する退避位置とに前記カートリッジを移動させる移動装置と、
を備え、
前記感光体が担持する前記現像剤像が転写される中間転写ユニットと、
を有し、
鉛直方向に見て、前記中間転写ユニットと、前記ロータリの一部と、前記露光装置は重なり、
前記カートリッジが前記装着位置から前記退避位置に移動する退避方向に見て、前記中間転写ユニットと、前記露光装置と、前記ロータリの前記一部が重なる、
ことを特徴とする画像形成装置。
続きを表示(約 540 文字)
【請求項2】
前記ロータリの前記一部は、前記露光装置の上方にあり、前記中間転写ユニットの下方にある、
ことを特徴とする請求項1に記載の画像形成装置。
【請求項3】
前記退避方向に見て、前記中間転写ユニットは、前記ロータリの前記一部と、前記露光装置に重なる、
ことを特徴とする請求項2に記載の画像形成装置。
【請求項4】
前記中間転写ユニットの最下端は、前記露光装置の最上端より下方にある、
ことを特徴とする請求項3に記載の画像形成装置。
【請求項5】
前記退避方向における前記露光装置の下流側の端部は、前記退避方向における露光装置の上流側の端部より下方にある、
ことを特徴とする請求項4に記載の画像形成装置。
【請求項6】
前記退避方向における前記中間転写ユニットの下流側の端部は、前記退避方向における前記中間転写ユニットの上流側の端部より上方にある、
ことを特徴とする請求項5に記載の画像形成装置。
【請求項7】
前記中間転写ユニットの前記最下端は、前記感光体の最下端より下方にある、
ことを特徴とする請求項6に記載の画像形成装置。
発明の詳細な説明
【技術分野】
【0001】
本発明は、記録材に画像を形成する画像形成装置に関する。
続きを表示(約 2,100 文字)
【背景技術】
【0002】
電子写真方式の画像形成装置において、複数の現像部材を備えたロータリを回転させることでカラー画像を形成するロータリ現像方式が知られている。特許文献1、2には、複数本の現像ローラを備えたロータリと、該ロータリに対してそれぞれ着脱可能な複数のトナーカートリッジ(トナー収容容器)と、を備えた画像形成装置が記載されている。
【先行技術文献】
【特許文献】
【0003】
特開2007-183305号公報
特開2008-096852号公報
【発明の概要】
【発明が解決しようとする課題】
【0004】
本発明は、従来の技術を発展させた新たな形態の画像形成装置を提供することを目的とする。
【課題を解決するための手段】
【0005】
本発明の一態様は、以下のようなものである。
【0006】
現像剤を収容するカートリッジを着脱可能な画像形成装置であって、
感光体と、
前記感光体の表面を露光して前記表面に静電潜像を形成する露光装置と、
前記カートリッジから供給された前記現像剤を収容するように構成された収容部と、前記収容部に収容された前記現像剤を用いて前記感光体に現像剤像を現像する現像部材と、を備える回転可能なロータリと、
前記カートリッジが前記ロータリの内部に位置する装着位置と、前記カートリッジが前記ロータリの外部に位置する退避位置とに前記カートリッジを移動させる移動装置と、
を備え、
前記感光体が担持する前記現像剤像が転写される中間転写ユニットと、
を有し、
鉛直方向に見て、前記中間転写ユニットと、前記ロータリの一部と、前記露光装置は重なり、
前記カートリッジが前記装着位置から前記退避位置に移動する退避方向に見て、前記中間転写ユニットと、前記露光装置と、前記ロータリの前記一部が重なる、
ことを特徴とする画像形成装置。
【発明の効果】
【0007】
本発明によれば、従来の技術を発展させた新たな形態の画像形成装置を提供することができる。
【図面の簡単な説明】
【0008】
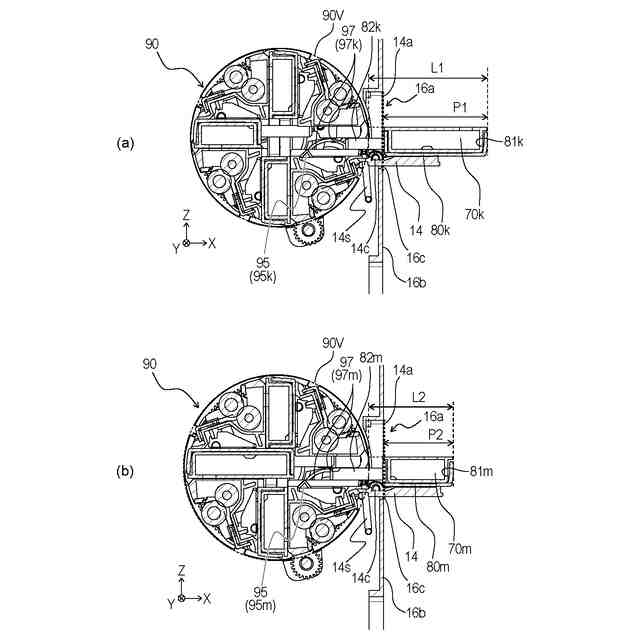
実施例1に係る画像形成装置の概略図。
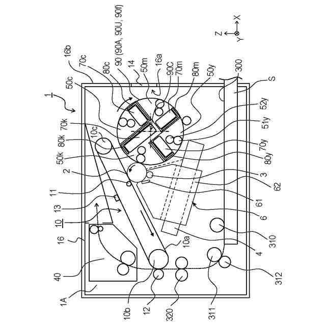
実施例1に係る画像形成装置の構成図。
実施例1に係る現像ユニット、トナーカートリッジ及びトレイの模式図。
実施例1に係る画像形成装置の断面図(a、b)。
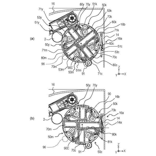
実施例1に係るロータリ本体の斜視図。
実施例1に係る画像形成装置の斜視図(a~c)。
実施例1に係る画像形成装置の断面図(a、b)。
実施例1に係るロータリ本体の説明図。
実施例1に係るロータリ本体の説明図。
実施例1に係るロータリ本体の説明図。
実施例1に係るトレイの移動に関する構成の説明図(a、b)。
実施例1に係るトレイの移動に関する構成の説明図(a、b)。
実施例1に係る画像形成装置の断面構成を示す断面図(a、b)。
実施例1に係る中間転写ユニット、クリーニングユニット及びスキャナを示す斜視図。
実施例1に係るクリーニングユニット及びスキャナを示す正面図。
実施例1に係るスキャナの支持構成を示す説明図(a、b)。
変形例1,2に係る画像形成装置を示す断面図(a、b)。
実施例1に係るスキャナ及びトナーカートリッジを示す斜視図。
実施例1に係るスキャナの通過部を示す平面図。
実施例1に係るスキャナ及びトナーカートリッジを示す側面図。
実施例1に係る図20の21A-21A断面を示す断面図。
実施例2に係る図20の21A-21A断面を示す断面図。
実施例1に係る中間転写ユニット、スキャナ、ロータリの平面図。
実施例1に係る中間転写ユニット、スキャナ、ロータリの平面図。
【発明を実施するための形態】
【0009】
以下、本開示に係る実施形態について、図面を参照しながら説明する。
【0010】
《実施例1》
図1~図12(a、b)を用いて、実施例1に係る画像形成装置1について説明する。以下の説明及び各図面において、画像形成装置1が水平面に設置された場合の鉛直方向をZ方向とする。Z方向と交差する方向であって、後述するロータリ本体90の回転軸線90Cの方向(ロータリの回転軸線方向)をY方向とする。なお、感光ドラム2の回転軸線の方向(感光ドラムの回転軸線方向)も、ロータリ本体90の回転軸線90Cの方向は、と平行であり、Y方向である。Z方向及びY方向の双方と交差する方向をX方向とする。X方向及びY方向は、好ましくは水平方向である。また、X方向、Y方向、Z方向は、好ましくは互いに直交する。また、必要に応じ、各図面に図示した矢印X、Y、Zの方向をそれぞれ+X側、+Y側、+Z側と表し、その反対側をそれぞれ-X側、-Y側、-Z側と表す。
(【0011】以降は省略されています)
この特許をJ-PlatPat(特許庁公式サイト)で参照する
関連特許
キヤノン株式会社
容器
9日前
キヤノン株式会社
容器
15日前
キヤノン株式会社
トナー
1日前
キヤノン株式会社
トナー
18日前
キヤノン株式会社
記録装置
1日前
キヤノン株式会社
記録装置
1日前
キヤノン株式会社
雲台装置
1日前
キヤノン株式会社
現像装置
22日前
キヤノン株式会社
記録装置
15日前
キヤノン株式会社
電子機器
1日前
キヤノン株式会社
撮像装置
1日前
キヤノン株式会社
撮像装置
15日前
キヤノン株式会社
表示装置
9日前
キヤノン株式会社
撮像装置
15日前
キヤノン株式会社
撮像装置
15日前
キヤノン株式会社
電子機器
1日前
キヤノン株式会社
撮像装置
2日前
キヤノン株式会社
撮像装置
9日前
キヤノン株式会社
測距装置
3日前
キヤノン株式会社
液体収容体
3日前
キヤノン株式会社
液体収容体
4日前
キヤノン株式会社
画像形成装置
12日前
キヤノン株式会社
画像形成装置
2日前
キヤノン株式会社
画像形成装置
9日前
キヤノン株式会社
画像形成装置
16日前
キヤノン株式会社
画像形成装置
18日前
キヤノン株式会社
情報処理装置
2日前
キヤノン株式会社
光電変換装置
1日前
キヤノン株式会社
画像形成装置
3日前
キヤノン株式会社
画像形成装置
18日前
キヤノン株式会社
画像形成装置
9日前
キヤノン株式会社
画像形成装置
2日前
キヤノン株式会社
光電変換装置
12日前
キヤノン株式会社
画像形成装置
2日前
キヤノン株式会社
画像形成装置
2日前
キヤノン株式会社
画像形成装置
9日前
続きを見る
他の特許を見る