TOP
|
特許
|
意匠
|
商標
特許ウォッチ
Twitter
他の特許を見る
10個以上の画像は省略されています。
公開番号
2025159696
公報種別
公開特許公報(A)
公開日
2025-10-21
出願番号
2025016288
出願日
2025-02-03
発明の名称
画像形成装置
出願人
キヤノン株式会社
代理人
弁理士法人大塚国際特許事務所
主分類
G03G
15/08 20060101AFI20251014BHJP(写真;映画;光波以外の波を使用する類似技術;電子写真;ホログラフイ)
要約
【課題】移動トレイに正規の現像剤容器が装着されたか判別できず、トナーが混色する可能性がある。
【解決手段】画像形成装置は、第1カートリッジと第2カートリッジとを着脱可能で、それぞれのカートリッジからの現像剤を収容する現像室を備えたロータリーと、それぞれのカートリッジがロータリーの外部に位置される第1位置と、カートリッジがロータリーの内部に位置される第2位置とにロータリーに対して変位する、被接触部を備えるトレイと、前記被接触部と検知部とを備える回路とを備える。各カートリッジは導電性の接触部を備え、第1トレイが第1位置に位置した状態で、第1カートリッジが第1トレイに支持された場合に、第1接触部と第1被接触部は接触し、第1被接触部と第1接触部が当接した場合に、検知部は信号を検知し、第1トレイが第1位置に位置した状態で、第2カートリッジが第1トレイに支持された場合に、第2接触部と第1被接触部は接触せず、検知部は信号を検知しない。
【選択図】図11
特許請求の範囲
【請求項1】
第1現像剤を収容する第1カートリッジと、第2現像剤を収容する第2カートリッジと、
を着脱可能な画像形成装置であって、
前記第1カートリッジから供給された前記第1現像剤を収容するように構成された第1現像室と前記第2カートリッジから供給された前記第2現像剤を収容するように構成された第2現像室を備えたロータリーと、
前記第1カートリッジを着脱可能に支持し、前記第1カートリッジが前記ロータリーの外部に位置される第1位置と、前記第1カートリッジが前記ロータリーの内部に位置される第2位置とに前記ロータリーに対して変位する第1トレイであって、第1被接触部を備える第1トレイと、
前記第2カートリッジを着脱可能に支持し、前記第2カートリッジが前記ロータリーの外部に位置される第3位置と、前記第1カートリッジが前記ロータリーの内部に位置される第4位置とに前記ロータリーに対して変位する第2トレイであって、第2被接触部を備える第2トレイと、
前記第1被接触部または前記第2被接触部を備えた回路であって検知部を備える回路と、
を備え、
前記第1カートリッジは導電性の第1接触部を備え、
前記第2カートリッジは導電性の第2接触部を備え、
前記第1トレイが前記第1位置に位置した状態で、前記第1カートリッジが前記第1トレイに支持された場合に、前記第1接触部と前記第1被接触部は接触し、
前記第1被接触部と前記第1接触部が当接した場合に、前記回路に第1電流が発生し、前記検知部は前記第1電流に基づく信号を検知し、
前記第1トレイが前記第1位置に位置した状態で、前記第2カートリッジが前記第1トレイに支持された場合に、前記第2接触部と前記第1被接触部は接触せず、前記回路に前記第1電流が発生しないことを特徴とする画像形成装置。
続きを表示(約 1,500 文字)
【請求項2】
請求項1に記載の画像形成装置であって、
前記第1接触部は、前記第1カートリッジの長手方向に延びる導線であり、
前記第2接触部は、前記第2カートリッジの長手方向に延びる導線である、
ことを特徴とする画像形成装置。
【請求項3】
請求項1に記載の画像形成装置であって、
前記第1トレイが前記第2位置から前記第1位置に変位する方向を変位方向とし、
前記第1トレイが前記第1位置に位置した状態で、前記第2カートリッジが前記第1トレイに支持された場合に、前記変位方向において前記第2接触部と前記第1被接触部は、異なる位置にある、
ことを特徴とする画像形成装置。
【請求項4】
第1現像剤を収容する第1カートリッジと、第2現像剤を収容する第2カートリッジと、
を着脱可能な画像形成装置であって、
前記第1カートリッジから供給された前記第1現像剤を収容するように構成された第1現像室と前記第2カートリッジから供給された前記第2現像剤を収容するように構成された第2現像室を備えたロータリーと、
前記第1カートリッジを着脱可能に支持し、前記第1カートリッジが前記ロータリーの外部に位置される第1位置と、前記第1カートリッジが前記ロータリーの内部に位置される第2位置とに前記ロータリーに対して変位する第1トレイであって、第1被接触部を備える第1トレイと、
前記第2カートリッジを着脱可能に支持し、前記第2カートリッジが前記ロータリーの外部に位置される第3位置と、前記第1カートリッジが前記ロータリーの内部に位置される第4位置とに前記ロータリーに対して変位する第2トレイであって、第2被接触部を備える第2トレイと、
前記第1被接触部または前記第2被接触部を備えた回路であって検知部を備える回路と、
を備え、
前記第1カートリッジは導電性の第1接触部を備え、
前記第2カートリッジは導電性の第2接触部を備え、
前記第1トレイが前記第1位置に位置した状態で、前記第1カートリッジが前記第1トレイに支持された場合に、前記第1接触部と前記第1被接触部は接触し、
前記第1被接触部と前記第1接触部が当接した場合に、前記回路に第1電流が発生し、前記検知部は前記第1電流に基づく信号を検知し、
前記第1トレイが前記第1位置に位置した状態で、前記第2カートリッジが前記第1トレイに支持された場合に、前記第2接触部と前記第1被接触部は接触し、前記回路に前記第1電流と異なる第2電流が発生し、前記検知部は前記第2電流に基づく信号を検知することを特徴とする画像形成装置。
【請求項5】
請求項4に記載の画像形成装置であって、
前記第1接触部の抵抗値と前記第2接触部の抵抗値は異なる
ことを特徴とする画像形成装置。
【請求項6】
請求項4に記載の画像形成装置であって、
前記第1カートリッジは第1コンデンサを備え、
前記第2カートリッジは第2コンデンサを備え、
前記第1コンデンサの静電容量と前記第2コンデンサの静電容量は異なる
ことを特徴とする画像形成装置。
【請求項7】
請求項1乃至6のいずれか一項に記載の画像形成装置であって、
前記第1トレイを前記第1位置と前記第2位置の間で、及び前記第2トレイを前記第3位置と前記第4位置の間でそれぞれ移動させる移動手段を備える
ことを特徴とする画像形成装置。
発明の詳細な説明
【技術分野】
【0001】
本発明は、シートに画像を形成する画像形成装置に関するものである。
続きを表示(約 2,900 文字)
【背景技術】
【0002】
電子写真方式の画像形成装置において、複数本の現像ローラを備えたロータリーを回転させることでカラー画像を形成するロータリー現像方式が知られている。特許文献1、2には、現像ローラを備えた現像器が複数収容されたロータリーと、現像器それぞれに着脱可能な複数の色の消耗材(トナー)を収容したトナーカートリッジ(トナー収容容器)とを備えた画像形成装置が記載されている。
【先行技術文献】
【特許文献】
【0003】
特開2007-183305号公報
特開2008-096852号公報
【発明の概要】
【発明が解決しようとする課題】
【0004】
しかし上記文献のような構成では、ある色の現像剤容器であるトナーカートリッジが誤った現像器、すなわちその色とは異なる色のトナーカートリッジが装着されるべき現像機に装着されると、現像器内でトナーが混色する可能性があった。
【0005】
またそれを解決するためにトナーカートリッジが誤った現像器に装着されないようにトナーカートリッジの形状を各色で変更すると、それぞれの容器の金型が必要となり金型増加によるコストアップにつながっていた。
【0006】
本発明は上記従来例に鑑みて成されたもので、現像剤容器のコスト上昇を抑制しつつ、現像剤容器の装着位置の誤りを防止することができる。
【課題を解決するための手段】
【0007】
本発明は上記従来例に鑑みて成されたものである。その一側面によれば、第1現像剤を収容する第1カートリッジと、第2現像剤を収容する第2カートリッジと、
を着脱可能な画像形成装置であって、
前記第1カートリッジから供給された前記第1現像剤を収容するように構成された第1現像室と前記第2カートリッジから供給された前記第2現像剤を収容するように構成された第2現像室を備えたロータリーと、
前記第1カートリッジを着脱可能に支持し、前記第1カートリッジが前記ロータリーの外部に位置される第1位置と、前記第1カートリッジが前記ロータリーの内部に位置される第2位置とに前記ロータリーに対して変位する第1トレイであって、第1被接触部を備える第1トレイと、
前記第2カートリッジを着脱可能に支持し、前記第2カートリッジが前記ロータリーの外部に位置される第3位置と、前記第1カートリッジが前記ロータリーの内部に位置される第4位置とに前記ロータリーに対して変位する第2トレイであって、第2被接触部を備える第2トレイと、
前記第1被接触部または前記第2被接触部を備えた回路であって検知部を備える回路と、
を備え、
前記第1カートリッジは導電性の第1接触部を備え、
前記第2カートリッジは導電性の第2接触部を備え、
前記第1トレイが前記第1位置に位置した状態で、前記第1カートリッジが前記第1トレイに支持された場合に、前記第1接触部と前記第1被接触部は接触し、
前記第1被接触部と前記第1接触部が当接した場合に、前記回路に第1電流が発生し、前記検知部は前記第1電流に基づく信号を検知し、
前記第1トレイが前記第1位置に位置した状態で、前記第2カートリッジが前記第1トレイに支持された場合に、前記第2接触部と前記第1被接触部は接触せず、前記回路に前記第1電流が発生しないことを特徴とする画像形成装置が提供される。
【0008】
また他の側面によれば、第1現像剤を収容する第1カートリッジと、第2現像剤を収容する第2カートリッジと、
を着脱可能な画像形成装置であって、
前記第1カートリッジから供給された前記第1現像剤を収容するように構成された第1現像室と前記第2カートリッジから供給された前記第2現像剤を収容するように構成された第2現像室を備えたロータリーと、
前記第1カートリッジを着脱可能に支持し、前記第1カートリッジが前記ロータリーの外部に位置される第1位置と、前記第1カートリッジが前記ロータリーの内部に位置される第2位置とに前記ロータリーに対して変位する第1トレイであって、第1被接触部を備える第1トレイと、
前記第2カートリッジを着脱可能に支持し、前記第2カートリッジが前記ロータリーの外部に位置される第3位置と、前記第1カートリッジが前記ロータリーの内部に位置される第4位置とに前記ロータリーに対して変位する第2トレイであって、第2被接触部を備える第2トレイと、
前記第1被接触部または前記第2被接触部を備えた回路であって検知部を備える回路と、
を備え、
前記第1カートリッジは導電性の第1接触部を備え、
前記第2カートリッジは導電性の第2接触部を備え、
前記第1トレイが前記第1位置に位置した状態で、前記第1カートリッジが前記第1トレイに支持された場合に、前記第1接触部と前記第1被接触部は接触し、
前記第1被接触部と前記第1接触部が当接した場合に、前記回路に第1電流が発生し、前記検知部は前記第1電流に基づく信号を検知し、
前記第1トレイが前記第1位置に位置した状態で、前記第2カートリッジが前記第1トレイに支持された場合に、前記第2接触部と前記第1被接触部は接触し、前記回路に前記第1電流と異なる第2電流が発生し、前記検知部は前記第2電流に基づく信号を検知することを特徴とする画像形成装置提供される。
【発明の効果】
【0009】
本発明によれば、現像剤容器のコスト上昇を抑制しつつ、現像剤容器の装着位置の誤りを防止することができる。
【図面の簡単な説明】
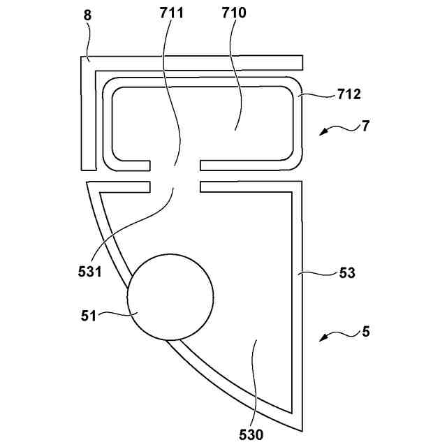
【0010】
画像形成装置を示す断面図
トナーカートリッジと現像ユニットの断面図
ロータリー周囲の断面図
ロータリーの外観図
画像形成装置本体の外観図
トナーカートリッジ交換時のロータリー周囲の断面図
ロータリー内のトレイ配置を示す斜視図
ロータリー内のトレイ配置を示す断面図
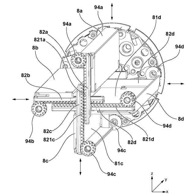
トレイ挿抜の駆動構成を示す斜視図
トレイ挿抜の駆動構成を示す断面図
トレイとトナーカートリッジの接点構成を示す斜視図
トレイ接点と本体との接続を示す斜視図
トレイとトナーカートリッジの接点位置を示す概略図
第2実施形態における制御部とトレイとトナーカートリッジとの電気的接続の回路図
画像形成装置の制御構成を示すブロック図
画像形成装置のトナーカートリッジの交換時の制御手順のフローチャート
第1実施形態においてトレイにトナーカートリッジを装着した例を示す図
第1実施形態における制御部とトレイとトナーカートリッジとの電気的接続の回路図
制御部と第二バネとの接続の概略図
【発明を実施するための形態】
(【0011】以降は省略されています)
この特許をJ-PlatPat(特許庁公式サイト)で参照する
関連特許
キヤノン株式会社
トナー
1日前
キヤノン株式会社
トナー
19日前
キヤノン株式会社
トナー
14日前
キヤノン株式会社
トナー
14日前
キヤノン株式会社
トナー
14日前
キヤノン株式会社
現像容器
12日前
キヤノン株式会社
現像装置
5日前
キヤノン株式会社
現像容器
12日前
キヤノン株式会社
撮影装置
12日前
キヤノン株式会社
記録装置
12日前
キヤノン株式会社
現像装置
12日前
キヤノン株式会社
定着装置
13日前
キヤノン株式会社
記録装置
19日前
キヤノン株式会社
撮像装置
19日前
キヤノン株式会社
現像装置
12日前
キヤノン株式会社
測距装置
7日前
キヤノン株式会社
撮像装置
15日前
キヤノン株式会社
電子機器
21日前
キヤノン株式会社
光学センサ
14日前
キヤノン株式会社
現像剤容器
20日前
キヤノン株式会社
モジュール
14日前
キヤノン株式会社
半導体装置
21日前
キヤノン株式会社
表示システム
20日前
キヤノン株式会社
画像形成装置
20日前
キヤノン株式会社
画像形成装置
6日前
キヤノン株式会社
画像形成装置
15日前
キヤノン株式会社
画像形成装置
20日前
キヤノン株式会社
画像形成装置
21日前
キヤノン株式会社
カートリッジ
12日前
キヤノン株式会社
画像形成装置
8日前
キヤノン株式会社
画像形成装置
20日前
キヤノン株式会社
画像形成装置
8日前
キヤノン株式会社
画像処理装置
20日前
キヤノン株式会社
画像形成装置
20日前
キヤノン株式会社
カートリッジ
12日前
キヤノン株式会社
画像表示装置
19日前
続きを見る
他の特許を見る