TOP
|
特許
|
意匠
|
商標
特許ウォッチ
Twitter
他の特許を見る
10個以上の画像は省略されています。
公開番号
2025168034
公報種別
公開特許公報(A)
公開日
2025-11-07
出願番号
2024073130
出願日
2024-04-26
発明の名称
撮像装置
出願人
キヤノン株式会社
代理人
個人
,
個人
,
個人
主分類
H04N
23/52 20230101AFI20251030BHJP(電気通信技術)
要約
【課題】 撮像素子からの熱を効率的に放熱することが可能な撮像装置を提供する。
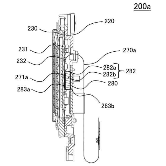
【解決手段】 撮像装置(10)は、撮像素子(232)と、電気部品(235)と、撮像素子および電気部品が配置された撮像素子基板(231)とを有する撮像素子ユニット(230)と、撮像素子ユニットからの熱を放熱する放熱板(280)と、撮像素子ユニットからの熱を放熱板へ伝える放熱部材(282)とを有し、撮像素子は、撮像素子基板の第1面(231a)に配置され、電気部品は、撮像素子基板の第1面と反対側の第2面(231b)に配置され、放熱部材は、撮像素子基板と放熱板との間に配置され、光軸方向から見て、放熱部材の少なくとも一部は、撮像素子と重なっている。
【選択図】図4
特許請求の範囲
【請求項1】
撮像素子と、電気部品と、該撮像素子および該電気部品が配置された撮像素子基板とを有する撮像素子ユニットと、
前記撮像素子ユニットからの熱を放熱する放熱板と、
前記撮像素子ユニットからの前記熱を前記放熱板へ伝える放熱部材と、を有し、
前記撮像素子は、前記撮像素子基板の第1面に配置され、
前記電気部品は、前記撮像素子基板の前記第1面と反対側の第2面に配置され、
前記放熱部材は、前記撮像素子基板と前記放熱板との間に配置され、
光軸方向から見て、前記放熱部材の少なくとも一部は、前記撮像素子と重なっていることを特徴とする撮像装置。
続きを表示(約 890 文字)
【請求項2】
前記電気部品は、前記撮像素子基板の前記第2面において、光軸方向から見て前記撮像素子の中心を含む第1領域と異なる第2領域に配置され、
前記放熱部材の少なくとも一部は、前記第1領域において、前記撮像素子基板と前記放熱板との間に配置されていることを特徴とする請求項1に記載の撮像装置。
【請求項3】
前記光軸方向から見て、前記第2領域は、前記第1領域を囲む領域であることを特徴とする請求項2に記載の撮像装置。
【請求項4】
前記撮像素子ユニットは、前記撮像素子基板の外周を囲むように設けられた枠を更に有することを特徴とする請求項1に記載の撮像装置。
【請求項5】
前記撮像素子ユニットを保持する保持部材を更に有し、
前記放熱板は、前記保持部材に固定されていることを特徴とする請求項1に記載の撮像装置。
【請求項6】
前記放熱部材は、弾性部材と、該弾性部材を囲む放熱シートとを含むことを特徴とする請求項1乃至5のいずれか一項に記載の撮像装置。
【請求項7】
前記弾性部材は、長尺の板状の形状を有し、
前記放熱シートは、可撓性を有することを特徴とする請求項6に記載の撮像装置。
【請求項8】
前記弾性部材は、ウレタンまたはゴムで構成されていることを特徴とする請求項6に記載の撮像装置。
【請求項9】
前記放熱部材は、熱伝導性の弾性部材であることを特徴とする請求項1乃至5のいずれか一項に記載の撮像装置。
【請求項10】
前記撮像素子ユニットの駆動を制御する制御基板と、
前記撮像素子ユニットと前記制御基板とを電気的に接続する第1接続部材と、を有し、
前記第1接続部材は、接合部において、前記撮像素子基板に接続され、
前記放熱部材の少なくとも一部は、前記接合部と前記放熱板との間に配置されていることを特徴とする請求項1乃至5のいずれか一項に記載の撮像装置。
(【請求項11】以降は省略されています)
発明の詳細な説明
【技術分野】
【0001】
本発明は、撮像装置に関する。
続きを表示(約 1,400 文字)
【背景技術】
【0002】
従来、固定ユニットと、撮像素子を搭載した可動ユニットとからなる像ブレ補正ユニットを備え、可動ユニットが光軸と直交する方向に移動することにより光学的な像ブレ補正動作を行う撮像装置が知られている。近年、撮像装置の高画素化や高速連写等の機能向上により、撮像素子の消費電力は増加する傾向にある。また、組立時のストレスや熱による膨張等により撮像素子の取付精度が低下し、画質に影響を及ぼす可能性がある。特許文献1には、撮像素子からの熱を受熱するシート部材を、弾性部材を介して外装部材に接触させることで、撮像素子からの熱を放熱する撮像装置が開示されている。
【先行技術文献】
【特許文献】
【0003】
特開2020-022154号公報
【発明の概要】
【発明が解決しようとする課題】
【0004】
しかしながら、特許文献1に開示された撮像装置では、レイアウトの制約等により、例えばシート部材の幅を細くする必要がある場合や長くする必要がある場合、撮像素子からの熱の放熱効率が低下する。
【0005】
そこで本発明は、撮像素子からの熱を効率的に放熱することが可能な撮像装置を提供することを目的とする。
【課題を解決するための手段】
【0006】
本発明の一側面としての撮像装置は、撮像素子と、電気部品と、該撮像素子および該電気部品が配置された撮像素子基板とを有する撮像素子ユニットと、前記撮像素子ユニットからの熱を放熱する放熱板と、前記撮像素子ユニットからの前記熱を前記金属部材へ伝える放熱部材とを有し、前記撮像素子は、前記撮像素子基板の第1面に配置され、前記電気部品は、前記撮像素子基板の前記第1面と反対側の第2面に配置され、前記放熱部材は、前記撮像素子基板と前記放熱板との間に配置され、光軸方向から見て、前記放熱部材の少なくとも一部は、前記撮像素子と重なっている。
【0007】
本発明の他の目的及び特徴は、以下の実施例において説明される。
【発明の効果】
【0008】
本発明によれば、撮像素子からの熱を効率的に放熱することが可能な撮像装置を提供することができる。
【図面の簡単な説明】
【0009】
各実施例に係る撮像装置の斜視図である。
各実施例に係る撮像装置の分解斜視図である。
各実施例に係る像ブレ補正ユニットの分解斜視図である。
各実施例に係る像ブレ補正ユニットの分解斜視図である。
各実施例に係る像ブレ補正ユニットの可動ユニットの斜視図である。
各実施例に係る像ブレ補正ユニットの可動ユニットの断面図である。
実施例1に係る像ブレ補正ユニットの可動ユニットの拡大断面図である。
各実施例に係る撮像素子ユニットの斜視図である。
各実施例に係る撮像素子ユニットの正面図である。
各実施例に係る撮像素子ユニットの断面図である。
実施例2に係る像ブレ補正ユニットの可動ユニットの拡大断面図である。
【発明を実施するための形態】
【0010】
以下、本発明の実施例について、図面を参照しながら詳細に説明する。
(【0011】以降は省略されています)
この特許をJ-PlatPat(特許庁公式サイト)で参照する
関連特許
キヤノン株式会社
容器
15日前
キヤノン株式会社
容器
9日前
キヤノン株式会社
トナー
1か月前
キヤノン株式会社
トナー
1か月前
キヤノン株式会社
トナー
1か月前
キヤノン株式会社
トナー
18日前
キヤノン株式会社
トナー
1日前
キヤノン株式会社
トナー
1か月前
キヤノン株式会社
現像装置
29日前
キヤノン株式会社
電子機器
1日前
キヤノン株式会社
現像容器
29日前
キヤノン株式会社
記録装置
1日前
キヤノン株式会社
電子機器
1日前
キヤノン株式会社
撮影装置
29日前
キヤノン株式会社
記録装置
29日前
キヤノン株式会社
記録装置
1日前
キヤノン株式会社
定着装置
1か月前
キヤノン株式会社
定着装置
1か月前
キヤノン株式会社
現像装置
29日前
キヤノン株式会社
表示装置
9日前
キヤノン株式会社
撮像装置
2日前
キヤノン株式会社
撮像装置
9日前
キヤノン株式会社
撮像装置
1か月前
キヤノン株式会社
収容装置
1か月前
キヤノン株式会社
記録装置
1か月前
キヤノン株式会社
撮像装置
1か月前
キヤノン株式会社
測距装置
3日前
キヤノン株式会社
現像容器
29日前
キヤノン株式会社
電子機器
1か月前
キヤノン株式会社
記録装置
15日前
キヤノン株式会社
撮像装置
15日前
キヤノン株式会社
雲台装置
1日前
キヤノン株式会社
現像装置
22日前
キヤノン株式会社
発光装置
1か月前
キヤノン株式会社
表示装置
1か月前
キヤノン株式会社
測距装置
24日前
続きを見る
他の特許を見る