TOP
|
特許
|
意匠
|
商標
特許ウォッチ
Twitter
他の特許を見る
10個以上の画像は省略されています。
公開番号
2025162205
公報種別
公開特許公報(A)
公開日
2025-10-27
出願番号
2024065340
出願日
2024-04-15
発明の名称
画像形成装置
出願人
キヤノン株式会社
代理人
弁理士法人中川国際特許事務所
主分類
G03G
21/16 20060101AFI20251020BHJP(写真;映画;光波以外の波を使用する類似技術;電子写真;ホログラフイ)
要約
【課題】開閉部材の開放位置を切り換える際の操作性を向上する。
【解決手段】画像形成装置本体に回動可能に軸支され、回動することで画像形成装置本体に対して開閉する開閉部材と、一方の端部が画像形成装置本体に支持され、他方の端部が開閉部材に支持された連結部材と、連結部材の他方の端部を支持する支持部材であって、開閉部材を開く動作に連動して第1方向に移動する支持部材と、支持部材と当接して支持部材の第1方向への移動を規制する規制位置と、規制位置から退避して支持部材の第1方向への移動を許容する退避位置とに移動可能な規制部材であって、支持部材の第1方向への移動を規制することで開閉部材を開放位置に維持する規制部材と、規制部材に当接して規制部材を規制位置に支持する支持位置と、第1方向に移動することで当接を解除して規制部材の退避位置への移動を許容する解除位置とに切り換えられる切換部材と、を備える。
【選択図】 図5
特許請求の範囲
【請求項1】
画像形成装置本体に回動可能に軸支され、回動することで前記画像形成装置本体に対して開閉する開閉部材と、
一方の端部が前記画像形成装置本体に支持され、他方の端部が前記開閉部材に支持された連結部材と、
前記連結部材の他方の端部を支持する支持部材であって、前記開閉部材を開く動作に連動して第1方向に移動する支持部材と、
前記支持部材と当接して前記支持部材の前記第1方向への移動を規制する規制位置と、前記規制位置から退避して前記支持部材の前記第1方向への移動を許容する退避位置とに移動可能な規制部材であって、前記支持部材の前記第1方向への移動を規制することで前記開閉部材を開放位置に維持する規制部材と、
前記規制部材に当接して前記規制部材を前記規制位置に支持する支持位置と、前記第1方向に移動することで前記当接を解除して前記規制部材の前記退避位置への移動を許容する解除位置とに切り換えられる切換部材と、を備える
ことを特徴とする画像形成装置。
続きを表示(約 1,100 文字)
【請求項2】
前記開閉部材と前記支持部材とを連結する付勢部材を有し、
前記付勢部材は前記開閉部材を開く動作に連動して付勢力が増加する
ことを特徴とする請求項1に記載の画像形成装置。
【請求項3】
前記規制部材を第1規制部材とし、
前記第1規制部材とは別に設けられた第2規制部材を備え、
前記第2規制部材は、前記規制位置よりも前記第1方向の下流側の第2規制位置にて前記支持部材に当接して、前記支持部材の前記第1方向への移動を規制することで前記開閉部材を前記開放位置よりも広い第2開放位置に維持する
ことを特徴とする請求項1記載の画像形成装置。
【請求項4】
前記規制部材は、前記開閉部材に回動可能に支持され、回動することで前記規制位置と前記退避位置とに移動する
こと特徴とする請求項1記載の画像形成装置。
【請求項5】
前記切換部材は、前記第1方向または前記第1方向とは反対の方向に直線状に移動可能に支持され、前記直線状に移動することで前記規制部材の移動可否を切り換える
ことを特徴とする請求項1に記載の画像形成装置。
【請求項6】
前記規制部材が前記規制位置にあるときの前記切換部材との当接部では、前記規制部材の移動方向と前記切換部材の移動方向とが交差する
ことを特徴とする請求項1に記載の画像形成装置。
【請求項7】
前記規制部材を前記規制位置から前記退避位置に向かう方向に付勢する付勢バネを備える
ことを特徴とする請求項1に記載の画像形成装置。
【請求項8】
前記切換部材は、前記規制部材に当接して前記規制部材を前記規制位置に支持する支持部と、前記第1方向とは反対の方向へ移動した際に前記規制部材に当接して前記規制部材を前記退避位置から前記規制位置に案内する案内部と、を有する
ことを特徴とする請求項1に記載の画像形成装置。
【請求項9】
前記開閉部材は、記録材を搬送する搬送ローラと、記録材を案内するガイド部材と、を有する、
ことを特徴とする請求項1に記載の画像形成装置。
【請求項10】
前記開閉部材に前記第1方向に移動可能に設けられ、前記切換部材の位置を切り換える操作部材を備え、
前記操作部材は、前記切換部材を前記解除位置まで移動すると前記開閉部材に係合して移動不可にロックされ、前記開閉部材を閉じる動作に伴って前記第1方向とは反対の方向に移動される前記支持部材によって前記係合が解除されて移動可能になる
ことを特徴とする請求項1に記載の画像形成装置。
(【請求項11】以降は省略されています)
発明の詳細な説明
【技術分野】
【0001】
本発明は、プリンタやファクシミリ、複写機またはこれらの機能を合わせもつ複合機などの画像形成装置に関する。
続きを表示(約 1,800 文字)
【背景技術】
【0002】
従来から、画像形成装置においては、装置本体に開閉可能に支持された開閉部材を開状態にすることで、装置内部を露出させて装置内部に残留したシートのジャム処理やユニットの交換等を行う構成が知られている。
【0003】
特許文献1に記載された画像形成装置では、開閉部材の開放位置として、ジャム処理を行う位置を第1の開放位置とし、ユニット交換を行う位置を第2の開放位置として、2段階の開放位置を設けている。開閉部材の開放位置は、第1規制部材によって規制されることで第1の開放位置に決まる。開閉部材を第1の開放位置から第2の開放位置へ移動するためには、第1規制部材を操作して回動させることで退避位置に移動させている。
【先行技術文献】
【特許文献】
【0004】
特開2019-53100号公報
【発明の概要】
【発明が解決しようとする課題】
【0005】
しかしながら、特許文献1では、第1規制部材の回動方向は開閉部材の自重による負荷方向と対向しているため、開閉部材の自重に打ち勝つ操作力で操作しなければ退避位置に移動させることができない。また開閉部材は、例えば搬送ガイドやローラ、フレームなど多くの部品から構成されており、その自重は決して軽いものではなく、第1規制部材のみを操作することは困難である。
【0006】
そのため、操作者は、第1規制部材にかかる負荷を軽減するために開閉部材の自重を支える操作をしながら、なおかつ、第1規制部材を退避位置へ移動させる操作をする必要がある。すなわち、操作者は、開閉部材の開放位置を切り換える際に、2つの操作を同時に行わなければならない。
【0007】
そこで本発明の目的は、開閉部材の開放位置を切り換える際の操作性を向上することである。
【課題を解決するための手段】
【0008】
本発明の代表的な構成は、画像形成装置本体に回動可能に軸支され、回動することで前記画像形成装置本体に対して開閉する開閉部材と、一方の端部が前記画像形成装置本体に支持され、他方の端部が前記開閉部材に支持された連結部材と、前記連結部材の他方の端部を支持する支持部材であって、前記開閉部材を開く動作に連動して第1方向に移動する支持部材と、前記支持部材と当接して前記支持部材の前記第1方向への移動を規制する規制位置と、前記規制位置から退避して前記支持部材の前記第1方向への移動を許容する退避位置とに移動可能な規制部材であって、前記支持部材の前記第1方向への移動を規制することで前記開閉部材を開放位置に維持する規制部材と、前記規制部材に当接して前記規制部材を前記規制位置に支持する支持位置と、前記第1方向に移動することで前記当接を解除して前記規制部材の前記退避位置への移動を許容する解除位置とに切り換えられる切換部材と、を備えることを特徴とする。
【発明の効果】
【0009】
本発明によれば、開閉部材の自重による負荷は切換部材にかからないため、容易に切換部材を操作することができるようになる。したがって、2つの操作を同時に行う必要もなくなり、操作性が向上する。
【図面の簡単な説明】
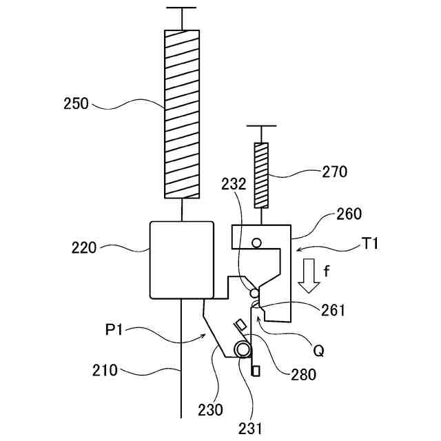
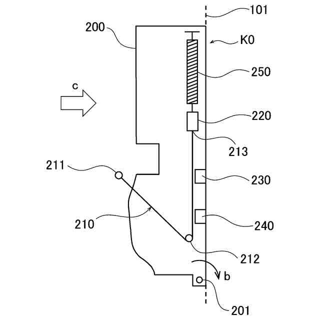
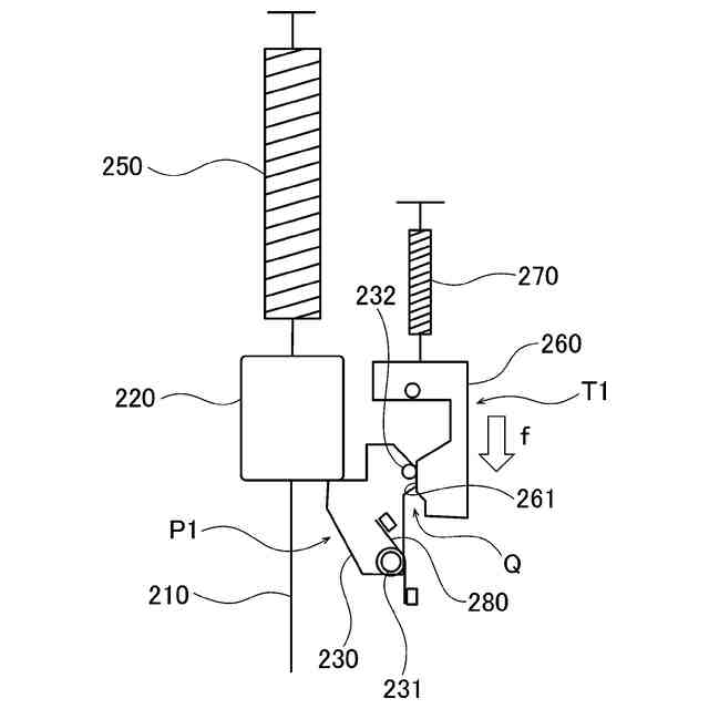
【0010】
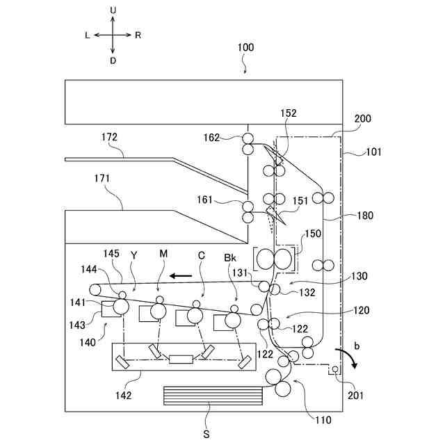
画像形成装置の断面図
開閉部材が閉じた位置にある時の断面図
開閉部材が第1規制位置にある時の断面図
開閉部材が第2規制位置にある時の断面図
支持部材が第1規制位置で支持された状態の図
切換部材が第1規制位置で操作された状態の図
第1規制部材が第1規制位置において退避した状態の図
支持部材が第1規制位置から第2規制位置へ移動する状態の図
開閉部材を装置本体内側から見た図
操作部材が第1規制位置で待機した状態の図
操作部材を第1規制位置で操作した状態の図
開閉部材が閉じた状態の前側支持部材の図
開閉部材が第1規制位置の時の前側支持部材の図
開閉部材が第2規制位置の時の前側支持部材の図
【発明を実施するための形態】
(【0011】以降は省略されています)
この特許をJ-PlatPat(特許庁公式サイト)で参照する
関連特許
シャープ株式会社
画像形成装置
1日前
沖電気工業株式会社
画像形成装置
2日前
沖電気工業株式会社
画像形成装置
1日前
シャープ株式会社
画像形成装置
1日前
三洋化成工業株式会社
画像形成材料用バインダーの製造方法
1日前
コニカミノルタ株式会社
画像形成方法
2日前
カシオ計算機株式会社
光源装置及び投影装置
1日前
京セラドキュメントソリューションズ株式会社
電源装置、及び画像形成装置
2日前
株式会社ニコン
撮像装置
2日前
株式会社ニコン
カメラボディ
2日前
コニカミノルタ株式会社
定着部材、定着装置および画像形成装置
1日前
キヤノン株式会社
露光装置、露光方法、シャッタ装置及び物品の製造方法
1日前
住友化学株式会社
レジスト組成物、化合物、樹脂及びレジストパターンの製造方法
1日前
信越化学工業株式会社
反射型フォトマスクブランク、及び反射型フォトマスクの製造方法
1日前
サンアプロ株式会社
光酸発生剤、硬化性組成物及びレジスト組成物
2日前
住友化学株式会社
レジスト組成物、化合物、樹脂及びレジストパターンの製造方法
1日前
住友化学株式会社
レジスト組成物、化合物、樹脂及びレジストパターンの製造方法
1日前
住友化学株式会社
レジスト組成物、化合物、樹脂及びレジストパターンの製造方法
1日前
キヤノン株式会社
情報処理装置、情報処理方法、プログラム、パターン形成装置、および物品製造方法
1日前
住友化学株式会社
レジスト組成物、ドライフィルムレジスト、ドライフィルムレジストの製造方法、レジストパターンの形成方法及びめっき造形物の製造方法
2日前
カール・ツァイス・エスエムティー・ゲーエムベーハー
マイクロリソグラフィックフォトマスクの欠陥を粒子ビーム誘起エッチングするための方法および装置
1日前
他の特許を見る