TOP
|
特許
|
意匠
|
商標
特許ウォッチ
Twitter
他の特許を見る
公開番号
2025166864
公報種別
公開特許公報(A)
公開日
2025-11-07
出願番号
2024071021
出願日
2024-04-25
発明の名称
内燃機関
出願人
日産自動車株式会社
代理人
個人
,
個人
,
個人
,
個人
主分類
F01M
13/00 20060101AFI20251030BHJP(機械または機関一般;機関設備一般;蒸気機関)
要約
【課題】バランスウエイトにオイルが直接かかることがない製造のし易い内燃機関を提供する。
【解決手段】内燃機関1は、シリンダブロック3に回転可能に支持されたバランサシャフト9と、シリンダブロック3に形成されて、バランサシャフト9のバランスウエイト10を回転可能に収容するバランスウエイト収容室11と、バランスウエイト収容室11にオイルを落下させる後方側オイル通路15bと、バランスウエイト収容室11に開口した後方側オイル通路15bの開口部16とバランサシャフト9との間に位置し、バランスウエイト10の上部を覆う遮蔽壁17と、を有する。
【選択図】図1
特許請求の範囲
【請求項1】
シリンダブロックに回転可能に支持されたバランサシャフトと、
上記シリンダブロックに形成されて、上記バランサシャフトのバランスウエイトを回転可能に収容するバランスウエイト収容室と、
上記バランスウエイト収容室にオイルを落下させるオイル戻し通路と、
上記バランスウエイト収容室に開口した上記オイル戻し通路の開口部と上記バランサシャフトとの間に位置し、上記バランスウエイトの上部を覆う遮蔽壁と、
を有することを特徴とする内燃機関。
続きを表示(約 750 文字)
【請求項2】
上記遮蔽壁は、上記シリンダブロックと一体に鋳造されていることを特徴とする請求項1に記載の内燃機関。
【請求項3】
上記バランスウェイトはバランサシャフトの一端部に取り付けられ、
上記バランスウエイト収容室は、上記シリンダブロックのバランサシャフト軸方向における端部に開口するようにシリンダブロックに形成された凹部と、当該凹部を塞ぐ蓋部材と、によって形成され、
上記遮蔽壁は、収容室内に向かって凹部の内周面から立ち上がるように形成されていることを特徴とする請求項2に記載の内燃機関。
【請求項4】
上記凹部は、バランサシャフト軸の向きに略沿った外周壁とバランサシャフト軸と交わる向きに略沿った底壁とを有し、
上記遮蔽壁は、上記凹部の外周壁及び底壁に接続していることを特徴とする請求項3に記載の内燃機関。
【請求項5】
上記蓋部材付近の遮蔽壁が蓋部材と離間するように、遮蔽壁と蓋部材の間に隙間が形成されていることを特徴とする請求項4に記載の内燃機関。
【請求項6】
上記隙間は、遮蔽壁の先端側に設けられ、基端側には設けられていないことを特徴とする請求項5に記載の内燃機関。
【請求項7】
上記オイル戻し通路は、上記バランスウエイト収容室への開口部が、バランサシャフト軸方向で、上記遮蔽壁の先端側と上記蓋部材との隙間と重なり合わない位置に形成されていることを特徴とする請求項3に記載の内燃機関。
【請求項8】
上記バランスウエイト収容室は、上記シリンダブロックの下部に取り付けられたオイルパン内のオイル貯留空間と連通していることを特徴とする請求項1に記載の内燃機関。
発明の詳細な説明
【技術分野】
【0001】
本発明は、バランサシャフトを有する内燃機関に関する。
続きを表示(約 1,700 文字)
【背景技術】
【0002】
例えば、特許文献1には、クランクシャフトと平行に延びる一対のバランサシャフトとバランサシャフトに支持されるバランサとが横方向に関してオイルを下方へ戻すオイルリターン通路と一部干渉するように配置された構成の内燃機関が開示されている。特許文献1の内燃機関は、バランサの周囲にシリンダブロックと一体に形成されたオイルバッフルが設けられ、オイルリターン通路から落ちてきたオイルがオイルバッフルによりバランサに直接かからないようになっている。
【先行技術文献】
【特許文献】
【0003】
実開昭61-77448号公報
【発明の概要】
【発明が解決しようとする課題】
【0004】
しかしながら、特許文献1においては、バランサの周囲に全周に亘ってオイルバッフルが設けられており、内燃機関のブローバイガスの流れが阻害され、ブローバイガスの換気性能が悪化する虞がある。
【0005】
すなわち、バランサシャフトに支持されるバランサ(バランスウエイト)にオイルが直接かからないようにするためには、ブローバイガスの換気性能の観点で、更なる改善の余地がある。
【課題を解決するための手段】
【0006】
本発明の内燃機関は、シリンダブロックに回転可能に支持されたバランサシャフトと、上記シリンダブロックに形成されて、上記バランサシャフトのバランスウエイトを回転可能に収容するバランスウエイト収容室と、上記バランスウエイト収容室にオイルを落下させるオイル戻し通路と、上記バランスウエイト収容室に開口した上記オイル戻し通路の開口部と上記バランサシャフトとの間に位置し、上記バランスウエイトの上部を覆う遮蔽壁と、を有する。
【発明の効果】
【0007】
本発明によれば、遮蔽壁は、バランスウエイトの上部をオイルが直接かからないように覆うものであり、バランスウエイト収容室内をオイル戻し通路へと向かうブローバイガスの流れを妨げるものではない。つまり、本発明の内燃機関は、バランスウエイト収容室において、遮蔽壁があってもオイル戻し通路へと向かうブローバイガスの流路が確保されているので、ブローバイガスの換気性能を確保(担保)することができる。
【図面の簡単な説明】
【0008】
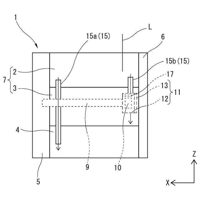
本発明に係る内燃機関の概略構成を模式的に示した説明図。
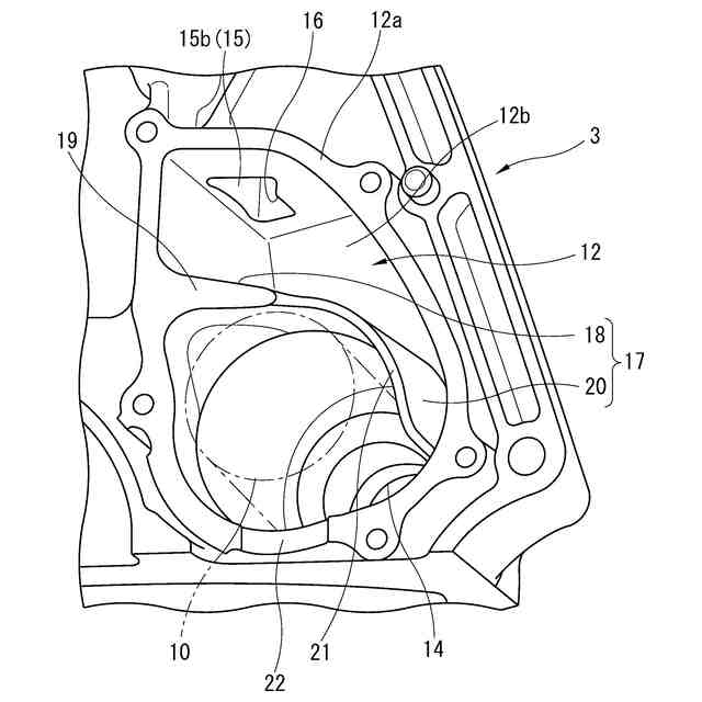
本発明に係る内燃機関のシリンダブロックの背面図。
本発明の要部を拡大して示した斜視図。
本発明の要部を拡大して示した斜視図。
【発明を実施するための形態】
【0009】
以下、本発明の一実施例を図面に基づいて詳細に説明する。
【0010】
図1~図4を用いて本発明に係る内燃機関1について説明する。図1は、本発明に係る内燃機関1の概略構成を模式的に示した説明図である。図2は、本発明に係る内燃機関1のシリンダブロック3の背面図であり、シリンダブロック3の後面(後端)を示している。図3及び図4は、本発明の要部を拡大して示した斜視図であり、シリンダブロック3の後面から見たバランスウエイト収容室11及び遮蔽壁17を示している。なお、図1におけるX軸は、内燃機関1の前後方向に沿った軸線(内燃機関1のクランクシャフト8の中心軸線あるいはバランサシャフト9の中心軸線と平行な軸線)である。図2におけるY軸は、内燃機関1の左右方向(内燃機関幅方向)に沿った軸線である。図1及び図2におけるZ軸は、内燃機関1の上下方向に沿った軸線(内燃機関1のシリンダ軸線Lと平行な軸線)、をそれぞれ示している。つまり、X軸は、内燃機関1あるいは内燃機関本体7(後述)の気筒列方向(クランクシャフト8の軸線方向あるいはバランサシャフト9の軸線方向)に沿った軸線である。また、Y軸は、内燃機関1あるいは内燃機関本体7の幅方向に沿った軸線である。
(【0011】以降は省略されています)
この特許をJ-PlatPat(特許庁公式サイト)で参照する
関連特許
トヨタ自動車株式会社
計測システム
24日前
株式会社豊田自動織機
エンジン式産業車両
1か月前
本田技研工業株式会社
排気装置
29日前
本田技研工業株式会社
排気装置
29日前
本田技研工業株式会社
排気装置
29日前
株式会社クボタ
多目的車両
22日前
トヨタ自動車株式会社
エンジンシステム
1か月前
株式会社クボタ
多目的車両
22日前
株式会社SUBARU
エンジン制御装置
1日前
トヨタ自動車株式会社
水素エンジン
15日前
トヨタ自動車株式会社
油量判定装置
2日前
トヨタ自動車株式会社
異常診断装置
9日前
マレリ株式会社
消音器
1か月前
三浦工業株式会社
船舶用発電システム
1か月前
フタバ産業株式会社
消音器
1か月前
株式会社アイシン
冷却モジュール
1日前
トヨタ自動車株式会社
内燃機関の制御装置
15日前
日産自動車株式会社
内燃機関
1日前
フタバ産業株式会社
排気系部品
1か月前
トヨタ自動車株式会社
内燃機関の制御装置
10日前
マツダ株式会社
排気システム
1か月前
マツダ株式会社
排気システム
1か月前
株式会社アイシン
弁開閉時期制御装置
1か月前
三菱重工業株式会社
主蒸気管洗浄方法
1か月前
帝人エンジニアリング株式会社
排ガス処理装置
1か月前
トヨタ自動車株式会社
内燃機関の異常検出装置
1か月前
三菱重工業株式会社
メタン酸化触媒装置
29日前
トヨタ自動車株式会社
車両のエンジンルーム構造
25日前
ヤンマーホールディングス株式会社
エンジン装置
1か月前
株式会社豊田自動織機
排気浄化装置
18日前
株式会社豊田自動織機
排気管
1か月前
トヨタ自動車株式会社
過給エンジンの換気システム
1か月前
トヨタ自動車株式会社
車両の制御装置
22日前
三菱自動車工業株式会社
オイルパン
17日前
株式会社SUBARU
硫黄除去方法
1か月前
川崎重工業株式会社
多段ラジアルタービン
1日前
続きを見る
他の特許を見る