TOP
|
特許
|
意匠
|
商標
特許ウォッチ
Twitter
他の特許を見る
公開番号
2025152326
公報種別
公開特許公報(A)
公開日
2025-10-09
出願番号
2024054161
出願日
2024-03-28
発明の名称
エンジン式産業車両
出願人
株式会社豊田自動織機
代理人
主分類
F01P
7/02 20060101AFI20251002BHJP(機械または機関一般;機関設備一般;蒸気機関)
要約
【課題】冷却ファンと、ラジエータと、作動油クーラーとが並設されていても、オイルクーラを移動することなく作動油クーラーにおける塵埃の除去を可能とするエンジン式産業車両の提供にある。
【解決手段】車体と、車体に搭載され、エンジン31の冷却水を冷却するラジエータ40と、車体に搭載され、ラジエータ40への冷却風を発生させる送風機と、送風機の送風方向においてラジエータ40と送風機との間に設置される作動油クーラー41と、を有するエンジン式産業車両である。作動油クーラー41に付着する塵埃の状態を推定する塵埃推定機構と、作動油クーラー41に対する冷却風の風量を増減可能とする風量調整器61と、塵埃推定機構と接続され、風量調整器61を制御するコントローラと、を有し、コントローラは、塵埃推定機構により推定された塵埃の状態に応じて作動油クーラー41に対する風量が増減するように風量調整器61を制御する
【選択図】 図5
特許請求の範囲
【請求項1】
車体と、
前記車体に搭載され、エンジンの冷却水を冷却するラジエータと、
前記車体に搭載され、前記ラジエータへの冷却風を発生させる送風機と、
前記送風機の送風方向において前記ラジエータの下流側に設置され、作動油を冷却する作動油クーラーと、を有するエンジン式産業車両において、
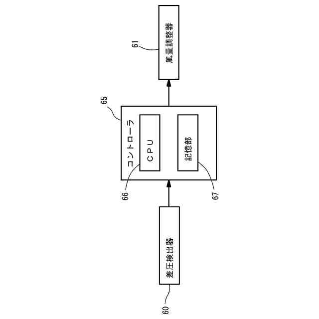
前記作動油クーラーに付着する塵埃の状態を推定する塵埃推定機構と、
前記作動油クーラーに対する冷却風の風量を増減可能とする風量調整器と、
前記塵埃推定機構と接続され、前記風量調整器を制御するコントローラと、を有し、
前記コントローラは、前記塵埃推定機構により推定された塵埃の状態に応じて前記作動油クーラーに対する風量が増減するように前記風量調整器を制御することを特徴とするエンジン式産業車両。
続きを表示(約 720 文字)
【請求項2】
前記塵埃推定機構は、前記作動油クーラーの風上側と風下側との圧力差を検出する差圧検出器であり、
前記コントローラは、前記差圧検出器により検出された差圧が閾値以上のとき、前記作動油クーラーに対する風量を増大するように前記風量調整器を作動させることを特徴とする請求項1記載のエンジン式産業車両。
【請求項3】
前記コントローラは、前記差圧が閾値未満になると前記風量調整器の作動を停止することを特徴とする請求項2記載のエンジン式産業車両。
【請求項4】
前記風量調整器は、
送風方向において前記ラジエータの下流側に設置され、冷却風の風向を変更可能とする可動式板部材と、
前記コントローラに制御され、前記可動式板部材を変位させるアクチュエータと、を有していることを特徴とする請求項1又は2記載のエンジン式産業車両。
【請求項5】
送風方向における前記ラジエータの上流側に設置されるラジエータスクリーンと、
前記ラジエータスクリーンを保持し、前記作動油クーラーを収容するシュラウドと、
前記ラジエータ又は前記シュラウドに軸支され、前記可動式板部材を保持する軸部材と、を有することを特徴とする請求項4記載のエンジン式産業車両。
【請求項6】
前記塵埃推定機構は、前記作動油クーラーにおける作動油の温度を検出する温度センサであり、
前記コントローラは、前記温度センサにより検出される温度が閾値以上のとき、前記作動油クーラーに対する風量を増大するように前記風量調整器を作動させることを特徴とする請求項1記載のエンジン式産業車両。
発明の詳細な説明
【技術分野】
【0001】
この発明は、エンジン式産業車両に関する。
続きを表示(約 2,100 文字)
【背景技術】
【0002】
エンジン式産業車両の従来の技術として、例えば、特許文献1に開示された産業車両の冷却構造が知られている。特許文献1に開示された産業車両の冷却構造では、冷却ファンと、ラジエータと、オイルクーラとが並設されている。そして、オイルクーラは、オイルクーラをラジエータの面に沿って上下方向に回動自在となるように部材により支持されている。特許文献1に開示された産業車両の冷却構造によれば、オイルクーラとラジエータの間に堆積したり、オイルクーラ等に付着したごみや塵埃を、容易に清掃、取り除くことが可能となるとしている。
【先行技術文献】
【特許文献】
【0003】
特開2003-146089号公報
【発明の概要】
【発明が解決しようとする課題】
【0004】
しかしながら、特許文献1に開示された産業車両の冷却構造では、オイルクーラをラジエータの面に沿って上下方向に回動自在となるように構成するための部材が必要になり、部品点数の増加や構造の複雑化が生じるという問題がある。また、オイルクーラの回動のためのスペースを設定する必要があるほか、清掃するタイミングでオイルクーラを回動させる煩雑さがある。さらに、オイルクーラが大型化すると、オイルクーラを回動させるために多大な労力を必要とする。
【0005】
本発明は上記の問題点に鑑みてなされたもので、本発明の目的は、冷却ファンと、ラジエータと、作動油クーラーとが並設されていても、作動油クーラーを移動することなく作動油クーラーにおける塵埃の除去を可能とするエンジン式産業車両の提供にある。
【課題を解決するための手段】
【0006】
上記の課題を解決するために、本発明は、車体と、前記車体に搭載され、エンジンの冷却水を冷却するラジエータと、前記車体に搭載され、前記ラジエータへの冷却風を発生させる送風機と、前記送風機の送風方向において前記ラジエータの下流側に設置され、作動油を冷却する作動油クーラーと、を有するエンジン式産業車両において、前記作動油クーラーに付着する塵埃の状態を推定する塵埃推定機構と、前記作動油クーラーに対する冷却風の風量を増減可能とする風量調整器と、前記塵埃推定機構と接続され、前記風量調整器を制御するコントローラと、を有し、前記コントローラは、前記塵埃推定機構により推定された塵埃の状態に応じて前記作動油クーラーに対する風量が増減するように前記風量調整器を制御することを特徴とする。
【0007】
本発明では、塵埃推定機構が作動油クーラーに付着する塵埃の状態を推定し、コントローラは、塵埃推定機構により推定された塵埃の状態に応じて作動油クーラーに対する風量が増減するように風量調整器を制御する。このため、作動油クーラーに付着する塵埃の状態に応じて作動油クーラーに対する冷却風の風量が増減され、冷却風により作動油クーラーに付着した塵埃を除去できる。
【0008】
また、上記のエンジン式産業車両において、前記塵埃推定機構は、前記作動油クーラーの風上側と風下側との圧力差を検出する差圧検出器であり、前記コントローラは、前記差圧検出器により検出された差圧が閾値以上のとき、前記作動油クーラーに対する風量を増大するように前記風量調整器を作動させる構成としてもよい。
この場合、塵埃推定機構は差圧検出器であり、差圧検出器は作動油クーラーの風上側と風下側との圧力差を検出する。コントローラは、差圧検出器により検出された差圧が閾値以上のとき作動油クーラーに対する風量を増大するように風量調整器を作動させる。コントローラは、差圧検出器により検出された差圧が閾値以上のときに作動油クーラーへの塵埃の付着量が多いと推定でき、冷却風の風量を増大することで塵埃をより除去し易くすることができる。
【0009】
また、上記のエンジン式産業車両において、前記コントローラは、前記差圧が閾値未満になると前記風量調整器の作動を停止する構成としてもよい。
この場合、コントローラは、差圧が閾値未満になると前記風量調整器の作動を停止するので、作動油クーラーへの塵埃の付着が少ないときに、風量調整器を作動させる必要がなく、無駄な動力の消費を防止できる。
【0010】
また、上記のエンジン式産業車両において、前記風量調整器は、送風方向において前記ラジエータの下流側に設置され、冷却風の風向を変更可能とする可動式板部材と、前記コントローラに制御され、前記可動式板部材を変位させるアクチュエータと、を有している構成としてもよい。
この場合、可動式板部材がアクチュエータにより変位されることで、冷却風の風向きを変更される。可動式板部材が変位され、冷却風の風向きが変更されることで、冷却風の風量を増減することができる。
(【0011】以降は省略されています)
この特許をJ-PlatPat(特許庁公式サイト)で参照する
関連特許
株式会社豊田自動織機
産業車両
1日前
株式会社豊田自動織機
電力変換器
1日前
株式会社豊田自動織機
電力変換器
4日前
株式会社豊田自動織機
回転圧縮機
4日前
株式会社豊田自動織機
電力変換装置
1日前
株式会社豊田自動織機
電磁ブレーキ装置
1日前
株式会社豊田自動織機
スクロール型圧縮機
3日前
株式会社豊田自動織機
スクロール型圧縮機
2日前
株式会社豊田自動織機
エンジン式産業車両
2日前
株式会社豊田自動織機
スクロール型圧縮機
1日前
株式会社豊田自動織機
スクロール型圧縮機
3日前
株式会社豊田自動織機
車両のリアシート構造
3日前
株式会社豊田自動織機
インバータ一体型電動機
1日前
株式会社豊田自動織機
スクロール型電動圧縮機
1日前
株式会社豊田自動織機
両回転式スクロール型圧縮機
3日前
株式会社豊田自動織機
両回転式スクロール型圧縮機
3日前
株式会社豊田自動織機
ローリングピストン型圧縮機
2日前
トヨタ自動車株式会社
電池
4日前
株式会社豊田自動織機
両回転式スクロール型圧縮機
3日前
株式会社豊田自動織機
両回転式スクロール型圧縮機
3日前
株式会社豊田自動織機
両回転式スクロール型圧縮機
3日前
株式会社豊田自動織機
両回転式スクロール型圧縮機
3日前
株式会社豊田自動織機
両回転式スクロール型圧縮機
3日前
株式会社豊田自動織機
産業車両及び産業車両の冷却装置
2日前
株式会社豊田自動織機
ローリングピストン型電動圧縮機
2日前
株式会社豊田自動織機
ローリングピストン型電動圧縮機
2日前
株式会社豊田自動織機
ローリングピストン型電動圧縮機
2日前
トヨタ自動車株式会社
二次電池
2日前
株式会社豊田自動織機
ローリングピストン型電動圧縮機
2日前
株式会社豊田自動織機
ローリングピストン型電動圧縮機
2日前
トヨタ自動車株式会社
塗工装置
2日前
トヨタ自動車株式会社
バイポーラ型電池
4日前
株式会社豊田自動織機
ACインバータ及び絶縁抵抗低下検知方法
2日前
トヨタ自動車株式会社
負極及びリチウムイオン二次電池
3日前
トヨタ自動車株式会社
バイポーラ電池および蓄電モジュール
2日前
トヨタ自動車株式会社
バイポーラ型蓄電装置の製造方法及びそれに用いられる治具
3日前
続きを見る
他の特許を見る