TOP
|
特許
|
意匠
|
商標
特許ウォッチ
Twitter
他の特許を見る
公開番号
2025167114
公報種別
公開特許公報(A)
公開日
2025-11-07
出願番号
2024071433
出願日
2024-04-25
発明の名称
電力システム
出願人
トヨタ自動車株式会社
代理人
弁理士法人アイテック国際特許事務所
主分類
H02P
27/06 20060101AFI20251030BHJP(電力の発電,変換,配電)
要約
【課題】U相、V相、W相電流センサの異常を検出する。
【解決手段】電力システムは、モータのU相、V相、W相の電流を検出するU相、V相、W相電流センサと、中性点の電流を検出する中性点電流センサと、外部電源からの電力をモータおよびインバータによる電圧変換を伴って1または複数のバッテリの少なくとも一部に供給する外部充電の際に、中性点の電流指令に基づくU相、V相、W相の電流指令とU相、V相、W相電流センサの各検出値との差分が打ち消されるようにU相、V相、W相の電流制御を行なう制御装置とを備える。制御装置は、外部充電の際に、中性点電流センサの検出値をU相、V相、W相の電流値に換算した各換算値と、U相、V相、W相電流センサの各検出値と、の比較によりU相、V相、W相電流センサの少なくとも1つに異常が生じているか否かを判定する。
【選択図】図2
特許請求の範囲
【請求項1】
三相コイルを有するモータと、前記モータに接続された三相のインバータと、前記インバータに接続された1または複数のバッテリと、を備える電力システムであって、
前記モータのU相、V相、W相の電流を検出するU相、V相、W相電流センサと、
前記中性点の電流を検出する中性点電流センサと、
外部電源からの電力を前記モータおよび前記インバータによる電圧変換を伴って前記1または複数のバッテリの少なくとも一部に供給する外部充電の際に、前記中性点の電流指令に基づく前記U相、V相、W相の電流指令と前記U相、V相、W相電流センサの各検出値との差分が打ち消されるように前記U相、V相、W相の電流制御を行なう制御装置と、
を備え、
前記制御装置は、前記外部充電の際に、前記中性点電流センサの検出値を前記U相、V相、W相の電流値に換算した各換算値と、前記U相、V相、W相電流センサの各検出値と、の比較により前記U相、V相、W相電流センサの少なくとも1つに異常が生じているか否かを判定する、
電力システム。
発明の詳細な説明
【技術分野】
【0001】
本開示は、電力システムに関する。
続きを表示(約 2,400 文字)
【背景技術】
【0002】
従来、三相コイルを有するモータと、モータに接続された三相のインバータと、インバータに接続されたバッテリと、を備える電力システムが提案されている(例えば、特許文献1参照)。この電力システムでは、充電設備からモータの中性点に供給される電力をモータおよびインバータによる昇圧を伴ってバッテリに供給する。
【先行技術文献】
【特許文献】
【0003】
特開2021-175363号公報
【発明の概要】
【発明が解決しようとする課題】
【0004】
上述の電力システムにおいて、モータのU相、V相、W相の電流を検出するU相、V相、W相電流センサの何れかに異常が生じているにも拘わらずにモータおよびインバータの各相で昇圧を行なうと、異常が生じた電流センサに対応する相で昇圧(電流調整)が適切に行なわれずに、モータおよびインバータを介して循環電流が生じ、これらが過熱する懸念がある。本開示の電力システムは、U相、V相、W相電流センサの異常を検出することを主目的とする。
【課題を解決するための手段】
【0005】
本開示の電力システムは、上述の主目的を達成するために以下の手段を採った。本開示の電力システムは、三相コイルを有するモータと、前記モータに接続された三相のインバータと、前記インバータに接続された1または複数のバッテリと、を備える電力システムであって、前記モータのU相、V相、W相の電流を検出するU相、V相、W相電流センサと、前記中性点の電流を検出する中性点電流センサと、外部電源からの電力を前記モータおよび前記インバータによる電圧変換を伴って前記1または複数のバッテリの少なくとも一部に供給する外部充電の際に、前記中性点の電流指令に基づく前記U相、V相、W相の電流指令と前記U相、V相、W相電流センサの各検出値との差分が打ち消されるように前記U相、V相、W相の電流制御を行なう制御装置と、を備え、前記制御装置は、前記外部充電の際に、前記中性点電流センサの検出値を前記U相、V相、W相の電流値に換算した各換算値と、前記U相、V相、W相電流センサの各検出値と、の比較により前記U相、V相、W相電流センサの少なくとも1つに異常が生じているか否かを判定することを要旨とする。
【0006】
本開示の電力システムでは、外部充電の際に、中性点電流センサの検出値をU相、V相、W相の電流値に換算した各換算値と、U相、V相、W相電流センサの各検出値と、の比較によりU相、V相、W相電流センサの少なくとも1つに異常が生じているか否かを判定する。このようにして、U相、V相、W相電流センサの異常を検出できる。
【図面の簡単な説明】
【0007】
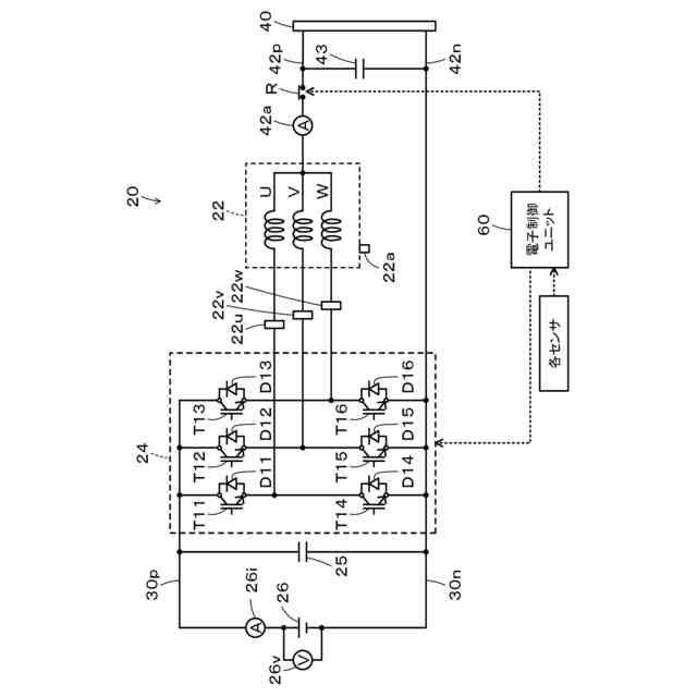
本開示の実施形態の電力システム20の概略構成図である。
処理ルーチンの一例を示すフローチャートである。
変形例の電力システム20の概略構成図である。
【発明を実施するための形態】
【0008】
本開示を実施するための形態(実施形態)について図面を参照しながら説明する。図1は、本開示の実施形態の電力システム20の概略構成図である。図示するように、実施形態の電力システム20は、モータ22と、インバータ24と、コンデンサ25と、バッテリ26と、コネクタ40と、リレーRと、電子制御ユニット50とを備える。電力システム20は、電気自動車やハイブリッド自動車に用いられる。
【0009】
モータ22は、回転子コアに永久磁石が埋め込まれた回転子と、固定子コアに三相(U相、V相、W相)コイルが巻回された固定子と、を有する三相交流電動機として構成されている。インバータ24は、6つのトランジスタT11~T16と、6つのトランジスタT11~T16に各々に並列に接続された6つのダイオードD11~D13とを備える。トランジスタT11~T16は、バッテリ26が接続された正極ライン30pおよび負極ライン30nに対してソース側およびシンク側となるように2個ずつペアで配置されている。トランジスタT11~T16の対となる2つのトランジスタの接続点の各々は、モータ22のU相、V相、W相コイルに各々に接続されている。コンデンサ25は、正極ライン30pおよび負極ライン30nに接続されている。バッテリ26は、例えばリチウムイオン二次電池やニッケル水素二次電池として構成されており、正極ライン30pおよび負極ライン30nを介してインバータ24に接続されている。
【0010】
コネクタ40は、自宅や充電スタンドなどに設けられた充電スタンドのコネクタと接続可能に構成されており、且つ、正極ライン42pおよびリレーRを介してモータ22の中性点に接続されていると共に負極ライン42nを介して負極ライン30nに接続されている。正極ライン42pおよび負極ライン42nには、コンデンサ43が接続されている。リレーRは、オンオフによりモータ22の中性点と正極ライン42pとの接続および接続の解除を行なう。リレーRがオンのときには、正極ライン42および負極ライン42nと正極ライン30pおよび負極ライン30nとの間に、モータ22およびインバータ24により三相昇圧コンバータが構成される。具体的には、モータ22のU相コイルとトランジスタT11,T14とによりU相昇圧コンバータが構成され、モータ22のV相コイルとトランジスタT12,T15とによりV相昇圧コンバータが構成され、モータ22のW相コイルとトランジスタT13,T16とによりW相昇圧コンバータが構成される。
(【0011】以降は省略されています)
この特許をJ-PlatPat(特許庁公式サイト)で参照する
関連特許
個人
単極モータ
25日前
個人
電気を重力で発電装置
2日前
キヤノン電子株式会社
モータ
1日前
キヤノン電子株式会社
モータ
9日前
株式会社アイシン
ロータ
29日前
株式会社アイシン
ロータ
25日前
日星電気株式会社
ケーブル組立体
17日前
コーセル株式会社
電源装置
10日前
トヨタ自動車株式会社
固定子
1か月前
トヨタ自動車株式会社
モータ
1日前
トヨタ自動車株式会社
製造装置
1か月前
株式会社デンソー
回転機
23日前
株式会社アイシン
ステータ
29日前
株式会社アイシン
ステータ
29日前
株式会社アイシン
ステータ
29日前
株式会社アイシン
ステータ
29日前
株式会社ダイヘン
充電装置
29日前
株式会社ダイヘン
充電装置
29日前
株式会社ダイヘン
充電装置
29日前
株式会社ダイヘン
充電装置
29日前
株式会社kaisei
発電システム
25日前
個人
二次電池繰返パルス放電器用印刷基板
15日前
株式会社ミツバ
回転電機
29日前
株式会社デンソー
電力変換装置
16日前
株式会社デンソー
電力変換装置
24日前
株式会社ミツバ
回転電機
22日前
株式会社ダイヘン
インバータ装置
24日前
トヨタ自動車株式会社
固定子の加熱装置
12日前
株式会社デンソー
非接触受電装置
18日前
シャープ株式会社
表示装置
1か月前
矢崎総業株式会社
ワイヤーハーネス
25日前
トヨタ自動車株式会社
ステータの製造装置
2日前
山洋電気株式会社
モータ
15日前
トヨタ自動車株式会社
可変界磁ロータ
4日前
株式会社TMEIC
電力変換装置
22日前
個人
電線盗難防止方法及び電線盗難防止装置
9日前
続きを見る
他の特許を見る