TOP
|
特許
|
意匠
|
商標
特許ウォッチ
Twitter
他の特許を見る
公開番号
2025009137
公報種別
公開特許公報(A)
公開日
2025-01-20
出願番号
2023111931
出願日
2023-07-07
発明の名称
空洞共振器及びESR測定装置
出願人
日本電子株式会社
,
国立大学法人 筑波大学
代理人
弁理士法人YKI国際特許事務所
主分類
G01N
24/00 20060101AFI20250110BHJP(測定;試験)
要約
【課題】漏れ磁場を生じさせる空洞共振器を用いるESR測定において、感度及び空間分解能を高める。
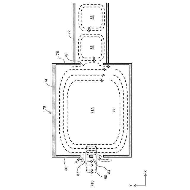
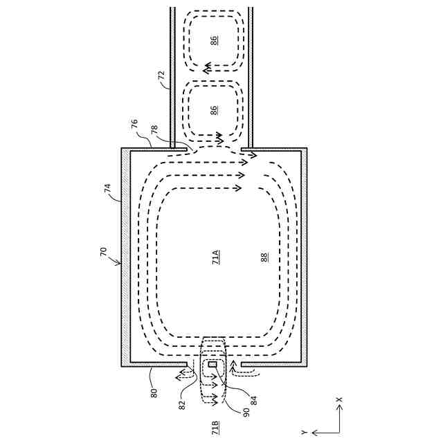
【解決手段】空洞共振器70において、キャビティ本体74は開口82を有する。開口82を通じて共振磁場88の一部が外部空間71Bへ漏れ出す。漏れ出た磁場が測定対象でESRを生じさせ且つそのESRを検出するためのプローブ磁場90である。開口82内には、開口82の中心を横切る細長いスタブ84が設けられている。このスタブ84には誘導電流が流れる。
【選択図】図4
特許請求の範囲
【請求項1】
ESR測定用の電磁波が入力される内部空間を有し、その内部空間において共振磁場を生じさせるキャビティ本体を含み、
前記キャビティ本体は、
前記内部空間と外部空間との間に設けられ、前記外部空間に漏れ出るプローブ磁場を生じさせる開口と、
前記開口内に設けられ、前記プローブ磁場に対して電磁気的に作用するスタブと、
を含む、ことを特徴とする空洞共振器。
続きを表示(約 990 文字)
【請求項2】
請求項1記載の空洞共振器において、
前記スタブと前記プローブ磁場とが相互作用し、
前記スタブには誘導電流が流れる、
ことを特徴とする空洞共振器。
【請求項3】
請求項1記載の空洞共振器において、
前記スタブの基端が前記開口の周縁に連結され、
前記スタブの先端が前記開口の周縁から隔てられている、
ことを特徴とする空洞共振器。
【請求項4】
請求項1記載の空洞共振器において、
前記スタブは前記開口の中心を横切る中間部分を有する、
ことを特徴とする空洞共振器。
【請求項5】
請求項4記載の空洞共振器において、
前記共振磁場における前記開口近傍の磁束方向は第1方向であり、
前記中間部分は前記第1方向に直交する第2方向に伸長している、
ことを特徴とする空洞共振器。
【請求項6】
請求項5記載の空洞共振器において、
前記第1方向及び前記第2方向に直交する第3方向を定義した場合に、前記中間部分の前記第3方向の厚みは2mm以下である、
ことを特徴とする空洞共振器。
【請求項7】
請求項5記載の空洞共振器において、
前記スタブの前記第1方向の幅は前記第2方向にわたって実質的に同一である、
ことを特徴とする空洞共振器。
【請求項8】
請求項5記載の空洞共振器において、
前記スタブは、
前記中間部分に連なり、前記開口の周縁に連結された基端を含む基端部分と、
前記中間部分に連なり、前記開口の周縁から隔てられた先端を含む先端部分と、
を有し、
前記中間部分における前記第1方向の幅が、前記第2方向において前記開口の中心からその両側へ離れるのに従って増大している、
ことを特徴とする空洞共振器。
【請求項9】
請求項1記載の空洞共振器と、
測定対象に対して前記開口を近接させた状態を維持しながら前記測定対象に対して前記空洞共振器を相対的に二次元走査することにより得られた一連のESR信号に基づいて二次元ESR画像を生成する画像生成器と、
を含むことを特徴とするESR測定装置。
発明の詳細な説明
【技術分野】
【0001】
本発明は、空洞共振器及びESR測定装置に関し、特に、空洞共振器の構造に関する。
続きを表示(約 1,400 文字)
【背景技術】
【0002】
ESR測定装置は、電子スピン共鳴(ESR:Electron Spin Resonance)を測定する測定である。より詳しくは、ESR測定では、測定対象が有するラジカル(不対電子をもった化学物質)で生じるESRが測定される。ESR測定によれば、ラジカルの定量等を行える。
【0003】
ESR測定装置は、一般に、空洞共振器(キャビティ)を有する。空洞共振器内にマイクロ波が供給され、これにより空洞共振器の内部に高周波磁場としての共振磁場が生じる。典型的なESR測定では、共振磁場中に配置された試料で生じるESRが測定される。
【0004】
ラジカルの二次元分布を測定する場合、放射窓を有するキャビティが用いられる。放射窓は、ハウジング又は容器としてのキャビティ本体に形成された貫通孔つまり開口である。放射窓を通じて、キャビティ内の共振磁場の一部が外界へ漏れ出る。漏れ出た磁場は漏れ磁場と呼ばれる。漏れ磁場はプローブとして機能する。その観点から見て、漏れ磁場はプローブ磁場である。
【0005】
放射窓に対して測定対象の表面を近接させつつ、放射窓に対して測定対象を二次元走査することにより(あるいは測定対象に対して放射窓を二次元走査することにより)、測定対象の表面における各位置でESRが測定される。そのような表面ESR測定により二次元のラジカル分布情報が得られる。ラジカル分布情報が解析され、また画像化される。
【0006】
特許文献1~5には、ESR測定用のキャビティが開示されている。各キャビティは放射窓を有する。いずれの放射窓も単なる開口であり、放射窓内には何らの部材も存在しない。
【先行技術文献】
【特許文献】
【0007】
特開平5-2060号公報
特開平11-64243号公報
特許第2892005号公報
特許第2967224号公報
特許第5481651号公報
【発明の概要】
【発明が解決しようとする課題】
【0008】
本発明の目的は、漏れ磁場を生じさせる空洞共振器を用いるESR測定において、感度及び空間分解能の一方又は両方を高めることにある。あるいは、漏れ磁場を生じさせる空洞共振器における新しい開口構造を提供することにある。
【課題を解決するための手段】
【0009】
本発明に係る空洞共振器は、ESR測定用の電磁波が入力される内部空間を有し、その内部空間において共振磁場を生じさせるキャビティ本体を含み、前記キャビティ本体は、前記内部空間と外部空間との間に設けられ、前記外部空間に漏れ出るプローブ磁場を生じさせる開口と、前記開口内に設けられ、前記プローブ磁場に対して電磁気的に作用するスタブと、を含むことを特徴とする。
【0010】
本発明に係るESR測定装置は、上記の空洞共振器と、測定対象に対して前記開口を近接させた状態を維持しながら前記測定対象に対して前記空洞共振器を相対的に二次元走査することにより得られた一連のESR信号に基づいて二次元ESR画像を生成する画像生成器と、を含むことを特徴とする。
【発明の効果】
(【0011】以降は省略されています)
この特許をJ-PlatPat(特許庁公式サイト)で参照する
関連特許
日本電子株式会社
治具
5日前
日本電子株式会社
自動分析装置および再起動制御方法
8日前
日本電子株式会社
極低温透過型電子顕微鏡用試料の作製装置
1か月前
日本電子株式会社
荷電粒子線装置および荷電粒子線装置の制御方法
4日前
日本電子株式会社
荷電粒子線装置および荷電粒子源ユニットの交換方法
8日前
日本電子株式会社
走査透過電子顕微鏡およびアパーチャーの位置合わせ方法
1か月前
個人
メジャー文具
今日
個人
計量スプーン
28日前
個人
微小振動検出装置
1か月前
株式会社イシダ
X線検査装置
1か月前
日本精機株式会社
位置検出装置
6日前
日本精機株式会社
位置検出装置
6日前
日本精機株式会社
位置検出装置
6日前
大和製衡株式会社
組合せ秤
11日前
大和製衡株式会社
組合せ秤
11日前
アズビル株式会社
圧力センサ
5日前
株式会社東芝
センサ
11日前
アンリツ株式会社
分光器
1か月前
株式会社東芝
センサ
1か月前
ダイハツ工業株式会社
測定用具
1か月前
トヨタ自動車株式会社
表示装置
20日前
株式会社東芝
センサ
11日前
アンリツ株式会社
分光器
1か月前
トヨタ自動車株式会社
検査装置
8日前
株式会社ユーシン
操作検出装置
8日前
エイブリック株式会社
磁気センサ回路
5日前
株式会社ナリス化粧品
角層細胞採取用具
18日前
東レエンジニアリング株式会社
計量装置
8日前
TDK株式会社
ガスセンサ
5日前
TDK株式会社
磁気センサ
1か月前
個人
粘塑性を用いた有限要素法の定式化
20日前
株式会社東芝
重量測定装置
4日前
株式会社精工技研
光電圧プローブ
1か月前
TDK株式会社
ガスセンサ
4日前
TDK株式会社
磁気センサ
28日前
株式会社ヨコオ
コンタクタ
1か月前
続きを見る
他の特許を見る