TOP
|
特許
|
意匠
|
商標
特許ウォッチ
Twitter
他の特許を見る
10個以上の画像は省略されています。
公開番号
2025144019
公報種別
公開特許公報(A)
公開日
2025-10-02
出願番号
2024043572
出願日
2024-03-19
発明の名称
治具
出願人
日本電子株式会社
代理人
個人
,
個人
,
個人
主分類
H01J
37/20 20060101AFI20250925BHJP(基本的電気素子)
要約
【課題】容易に試料を試料ホルダーに取り付けることができる治具を提供する。
【解決手段】治具100は、試料に遮蔽材を介してイオンビームを照射し、試料の遮蔽材から突き出た部分を加工する試料加工装置用の試料ホルダーに試料を取り付けるための治具であって、遮蔽材が取り付けられた試料ホルダーを支持する支持部20と、レール34、およびレール34に沿って移動可能であって試料を試料ホルダーに移動させるスライダー32を含むガイド30と、を含む。
【選択図】図1
特許請求の範囲
【請求項1】
試料に遮蔽材を介してイオンビームを照射し、前記試料の前記遮蔽材から突き出た部分を加工する試料加工装置用の試料ホルダーに前記試料を取り付けるための治具であって、
前記遮蔽材が取り付けられた前記試料ホルダーを支持する支持部と、
レール、および前記レールに沿って移動可能であって前記試料を前記試料ホルダーに移動させる第1スライダーを含むガイドと、
を含む、治具。
続きを表示(約 770 文字)
【請求項2】
請求項1において、
前記ガイドは、前記試料が前記遮蔽材から第1突き出し量だけ突き出るように前記第1スライダーを止めるストッパーを含む、治具。
【請求項3】
請求項2において、
前記遮蔽材を位置決めする基準面を含み、
前記第1スライダーは、前記試料を押す第1試料保持面を有し、
前記ストッパーで前記第1スライダーを止めたときに、前記基準面と前記第1試料保持面との間の距離が、前記第1突き出し量となる、治具。
【請求項4】
請求項3において、
前記ガイドは、前記レールに沿って移動可能であって前記試料を前記レールに沿って前記試料ホルダーに移動させる第2スライダーを有し、
前記ストッパーは、前記試料が前記遮蔽材から前記第1突き出し量とは異なる第2突き出し量だけ突き出るように前記第2スライダーを止める、治具。
【請求項5】
請求項4において、
前記第2スライダーは、前記試料を押す第2試料保持面を有し、
前記ストッパーで前記第2スライダーを止めたときに、前記基準面と前記第2試料保持面との間の距離が、前記第2突き出し量となる、治具。
【請求項6】
請求項1において、
材料が載置される材料台を含み、
前記材料台は、昇降可能であり、
前記材料台には、前記材料を打ち抜いて前記試料を形成する打ち抜き装置の台座に差し込み可能な切り欠きが設けられている、治具。
【請求項7】
請求項1ないし5のいずれか1項において、
前記第1スライダーの移動経路には、材料を打ち抜いて前記試料を形成する打ち抜き装置の台座に差し込み可能な切り欠きが設けられている、治具。
発明の詳細な説明
【技術分野】
【0001】
本発明は、治具に関する。
続きを表示(約 1,900 文字)
【背景技術】
【0002】
イオンビームを用いて試料を加工する試料加工装置として、試料の断面を加工するためのクロスセクションポリッシャ(登録商標)が知られている。クロスセクションポリッシャは、特許文献1に開示されているように、ブロードなイオンビームと遮蔽材を用いて試料を加工する試料加工装置である。クロスセクションポリッシャでは、遮蔽材から試料が20μm~100μm程度突き出るように試料をセットし、ブロードなイオンビームを試料に照射することによって、試料の遮蔽材から突き出た部分を加工する。
【先行技術文献】
【特許文献】
【0003】
特開2023-107397号公報
【発明の概要】
【発明が解決しようとする課題】
【0004】
クロスセクションポリッシャ用の試料ホルダーに試料を取り付ける際には、試料は一般的にピンセットで取り扱われるが、加工対象となる試料には壊れやすいものもあるため、ピンセットでの取り扱いが難しく、試料が破損することもある。
【課題を解決するための手段】
【0005】
本発明に係る治具の一態様は、
試料に遮蔽材を介してイオンビームを照射し、前記試料の前記遮蔽材から突き出た部分を加工する試料加工装置用の試料ホルダーに前記試料を取り付けるための治具であって、
前記遮蔽材が取り付けられた前記試料ホルダーを支持する支持部と、
レール、および前記レールに沿って移動可能であって前記試料を前記試料ホルダーに移動させる第1スライダーを含むガイドと、
を含む。
【0006】
このような治具では、第1スライダーをレールに沿って移動させることによって、試料を遮蔽材が取り付けられた試料ホルダーに配置できる。したがって、このような治具では、例えば、ピンセットで試料を掴んで、試料を試料ホルダーに配置する場合と比べて、試料が壊れる可能性を低減でき、容易に試料を試料ホルダーに取り付けることができる。
【図面の簡単な説明】
【0007】
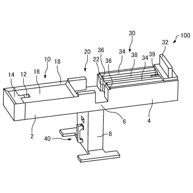
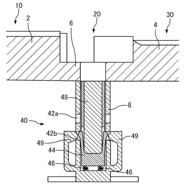
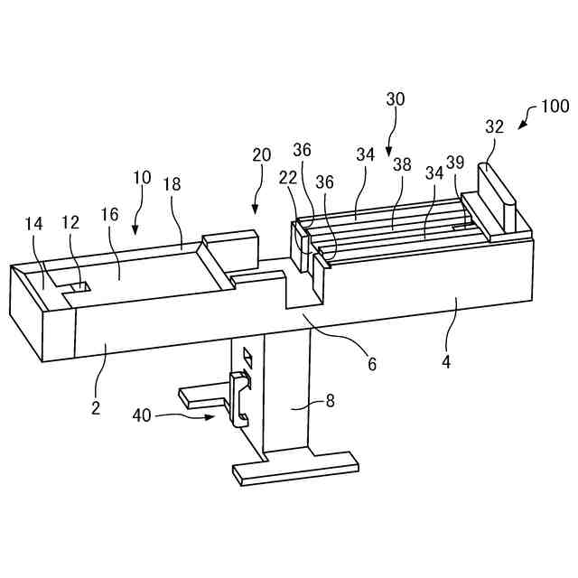
本発明の一実施形態に係る治具を模式的に示す斜視図。
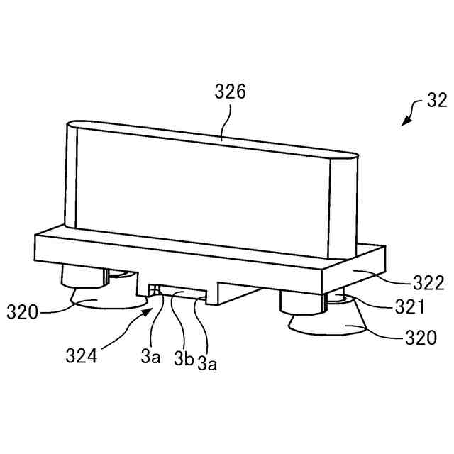
スライダーを模式的に示す斜視図。
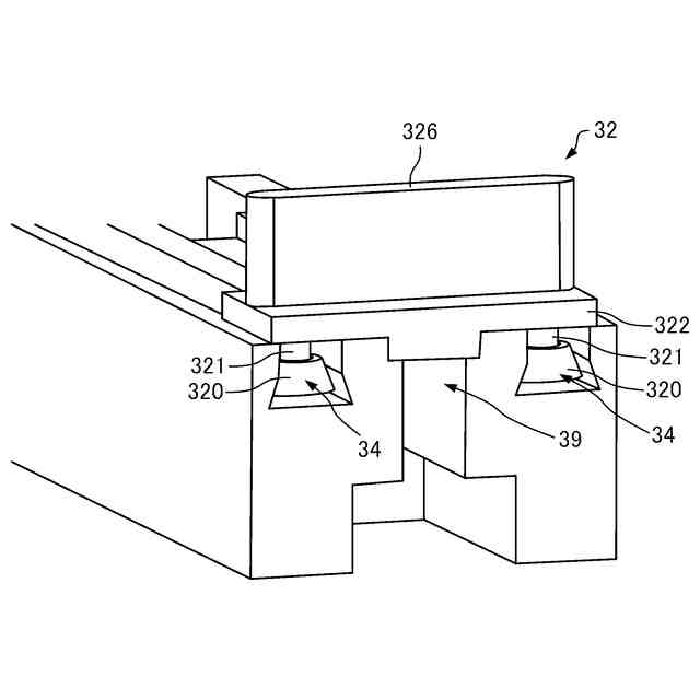
ガイドを模式的に示す斜視図。
本発明の一実施形態に係る治具を模式的に示す断面図。
昇降機構を模式的に示す断面図。
試料ホルダーに試料を取り付ける方法の一例を示すフローチャート。
試料ホルダーに試料を取り付ける工程を説明するための図。
試料ホルダーに試料を取り付ける工程を説明するための図。
試料ホルダーに試料を取り付ける工程を説明するための図。
試料ホルダーに試料を取り付ける工程を説明するための図。
試料ホルダーに試料を取り付ける工程を説明するための図。
試料ホルダーに試料を取り付ける工程を説明するための図。
試料ホルダーに試料を取り付ける工程を説明するための図。
試料ホルダーに試料を取り付ける工程を説明するための図。
試料ホルダーに試料を取り付ける工程を説明するための図。
試料ホルダーに試料を取り付ける工程を説明するための図。
試料加工装置を用いた試料の加工方法を説明するための図
本発明の一実施形態に係る治具の変形例を説明するための図。
本発明の一実施形態に係る治具の変形例を説明するための図。
本発明の一実施形態に係る治具の変形例を説明するための図。
試料ホルダーの変形例を説明するための図。
第3変形例に係る治具を模式的に示す斜視図。
【発明を実施するための形態】
【0008】
以下、本発明の好適な実施形態について図面を用いて詳細に説明する。なお、以下に説明する実施形態は、特許請求の範囲に記載された本発明の内容を不当に限定するものではない。また、以下で説明される構成の全てが本発明の必須構成要件であるとは限らない。
【0009】
1. 治具
1.1. 治具の構成
まず、本発明の一実施形態に係る治具について図面を参照しながら説明する。図1は、本発明の一実施形態に係る治具100を模式的に示す斜視図である。
【0010】
治具100は、クロスセクションポリッシャ用の試料ホルダーに試料を取り付けるための治具である。クロスセクションポリッシャは、試料に遮蔽材を介してイオンビームを照射し、試料の遮蔽材から突き出た部分を加工する試料加工装置である。遮蔽材は、板状の部材である。
(【0011】以降は省略されています)
この特許をJ-PlatPat(特許庁公式サイト)で参照する
関連特許
日本電子株式会社
治具
5日前
日本電子株式会社
自動分析装置および再起動制御方法
8日前
日本電子株式会社
極低温透過型電子顕微鏡用試料の作製装置
1か月前
日本電子株式会社
荷電粒子線装置および荷電粒子線装置の制御方法
4日前
日本電子株式会社
荷電粒子線装置および荷電粒子源ユニットの交換方法
8日前
日本発條株式会社
積層体
8日前
東レ株式会社
多孔質炭素シート
27日前
ローム株式会社
半導体装置
6日前
個人
防雪防塵カバー
8日前
ローム株式会社
半導体装置
6日前
ローム株式会社
半導体装置
4日前
ローム株式会社
半導体装置
6日前
キヤノン株式会社
電子機器
27日前
ローム株式会社
半導体装置
27日前
エイブリック株式会社
半導体装置
29日前
エイブリック株式会社
半導体装置
29日前
株式会社GSユアサ
蓄電装置
4日前
株式会社ティラド
面接触型熱交換器
19日前
個人
半導体パッケージ用ガラス基板
7日前
東レ株式会社
ガス拡散層の製造方法
27日前
株式会社ホロン
冷陰極電子源
4日前
ニチコン株式会社
コンデンサ
20日前
株式会社GSユアサ
蓄電装置
8日前
ニチコン株式会社
コンデンサ
20日前
太陽誘電株式会社
全固体電池
4日前
日本特殊陶業株式会社
保持装置
8日前
TDK株式会社
電子部品
4日前
マクセル株式会社
配列用マスク
19日前
日本特殊陶業株式会社
保持装置
6日前
日本特殊陶業株式会社
保持装置
4日前
日本特殊陶業株式会社
保持装置
4日前
トヨタ自動車株式会社
二次電池
8日前
ローム株式会社
電子装置
8日前
住友電装株式会社
コネクタ
8日前
株式会社カネカ
正極活物質
8日前
株式会社デンソー
電子装置
8日前
続きを見る
他の特許を見る