TOP
|
特許
|
意匠
|
商標
特許ウォッチ
Twitter
他の特許を見る
10個以上の画像は省略されています。
公開番号
2025016834
公報種別
公開特許公報(A)
公開日
2025-02-05
出願番号
2023119553
出願日
2023-07-24
発明の名称
潜像物
出願人
独立行政法人 国立印刷局
代理人
主分類
B42D
25/328 20140101AFI20250129BHJP(製本;アルバム;ファイル;特殊印刷物)
要約
【課題】動画効果を高めることが可能な潜像物を提供する。
【解決手段】本発明に係る潜像物は、基画像を圧縮または分割圧縮して形成された画線を、一定のピッチで複数配置してなる潜像画像と、潜像画像が存在しない領域からなる背景画像と、を備える。また、潜像画像が、円弧状の画線で構成された複数の第1格子線からなる第1回折格子の模様を有し、さらに、背景画像が、第1格子線とは傾きが異なる円弧状の画線で構成された複数の第2格子線の模様を有する。
【選択図】図6
特許請求の範囲
【請求項1】
基画像を圧縮または分割圧縮して形成された画線を、一定のピッチで複数配置してなる潜像画像と、
前記潜像画像が存在しない領域からなる背景画像と、を備え、
前記潜像画像が、円弧状の複数の第1格子線からなる第1回折格子の模様を有し、
前記背景画像が、前記第1格子線の回折方向と異なる方向に、円弧状の複数の第2格子線からなる第2回折格子の模様を有することを特徴とする潜像物。
続きを表示(約 75 文字)
【請求項2】
前記第1格子線における接線と、前記第2格子線における接線において、傾きが異なることを特徴とする請求項1に記載の潜像物。
発明の詳細な説明
【技術分野】
【0001】
本発明は、潜像画像が、動的に変化しつつ、濃淡をネガ型からポジ型又はポジ型からネガ型へと反転させる潜像物に関する。
続きを表示(約 1,300 文字)
【背景技術】
【0002】
基画像の動的変化に伴う潜像を実現する方式には、基画像を圧縮する圧縮画像方式がある。圧縮画像方式には、さらに、モアレ方式と、IP(Integral Photography)画像方式がある。ここで、図12を参照して一般的なモアレ方式の潜像の形成方法を説明するとともに、図13を参照して一般的なIP画像方式の潜像の形成方法を説明する。
【0003】
図12は、一般的なモアレ方式の潜像の形成方法の一例を示す図である。図12に示すモアレ方式では、まず、複数の基画像111を水平方向に圧縮する。次に、各基画像111を圧縮した複数の圧縮画像112を、所定のピッチP1で一列に並べる。これらの圧縮画像112を、ピッチP1と異なるピッチP2の縞模様(スリット)が形成されたサンプリング器具(不図示)でサンプリングすると、潜像113が出現する。
【0004】
図13は、一般的なIP画像方式の潜像の形成方法の一例を示す図である。図13に示すIP画像方式では、まず、一定の幅を有するフレームを使って基画像121を複数の分割画像に分割する。続いて、各分割画像を水平方向に圧縮して複数の分割圧縮画像122を形成する。このとき、複数の分割圧縮画像122は、所定のピッチP1で一列に並べられる。これらの分割圧縮画像122を、ピッチP1と同じピッチの縞模様(スリット)が形成されたサンプリング器具(不図示)でサンプリングすると、潜像123が出現する。
【0005】
上記のようなモアレ方式の潜像またはIP画像方式の潜像には、潜像の出現方法をネガ型またはポジ型にすることが可能な技術が、特許文献1に提案されている。ここで、ネガ型およびポジ型について説明する。
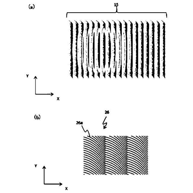
【0006】
図14は、ネガ型の潜像物の構造例を示す図である。図14に示す潜像物では、円形の基画像を分割圧縮したIP画像140が形成される。また、IP画像140の背景画像141には、基材上に回折格子が形成される。
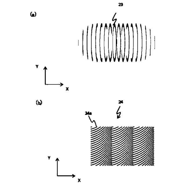
【0007】
図15は、図14に示す潜像の出現方法を説明する模式図である。ネガ型では、背景画像141に形成された回折格子が、入射光を回折する。そのため、基画像142は、背景画像141よりも暗いネガ型の潜像として出現する。また、基画像142は、入射光の角度に応じて一方向に動くように見える。
【0008】
図16は、ポジ型の潜像物の構造例を示す図である。図16に示す潜像物では、回折格子が、円形の基画像を分割圧縮したIP画像150のみに形成され、背景画像151には形成されない。
【0009】
図17は、図16に示す潜像の出現方法を説明する模式図である。ポジ型では、IP画像150に形成された回折格子が、入射光を回折する。そのため、基画像152は、背景画像151よりも明るいポジ型の潜像として出現する。また、基画像152は、入射光の角度に応じて一方向に動くように見える。
【先行技術文献】
【特許文献】
【0010】
特開2021-081705号公報
【発明の概要】
【発明が解決しようとする課題】
(【0011】以降は省略されています)
特許ウォッチbot のツイートを見る
この特許をJ-PlatPat(特許庁公式サイト)で参照する
関連特許
個人
書籍
6か月前
個人
リフター
1か月前
個人
手帳
1か月前
個人
ノート
5か月前
個人
書類ホルダー
5か月前
個人
紙片収容保持具
8か月前
個人
ファイル
1か月前
個人
ページめくり穴
4日前
個人
ブランドハガキ
3か月前
個人
ダブルクリップ
7か月前
個人
折り曲げ式しおり
1か月前
個人
カレンダー
11日前
個人
メッセージカード
6か月前
FRC株式会社
学習ノート
5か月前
個人
吊下式カレンダー
7か月前
東洋紡株式会社
地図フィルム
10か月前
個人
脱着リーフ綴込み補助具
7か月前
個人
脱着リングノートシステム
8か月前
ネオライト工業株式会社
しおり
1か月前
株式会社リコー
綴じ装置
1か月前
ダイニック株式会社
ブッククロス
8か月前
有限会社ライト工房
起立する台紙
4か月前
個人
シート状印刷物セット
1か月前
独立行政法人 国立印刷局
潜像物
8か月前
個人
タロットカード解説書
6か月前
独立行政法人 国立印刷局
積層体
3か月前
独立行政法人 国立印刷局
積層体
3か月前
個人
冊子収容ケース
1か月前
個人
見開きアルバム立て掛け飾り具
4か月前
独立行政法人 国立印刷局
画像形成体
22日前
個人
環状具
9か月前
独立行政法人 国立印刷局
潜像画像形成体
3か月前
株式会社デュプロ
冊子作成システム
10か月前
個人
シートセット及びワークセット
2か月前
株式会社Luciaube
クリアファイル
8か月前
株式会社ユニオン産業
クリップ
8か月前
続きを見る
他の特許を見る