TOP
|
特許
|
意匠
|
商標
特許ウォッチ
Twitter
他の特許を見る
10個以上の画像は省略されています。
公開番号
2025128472
公報種別
公開特許公報(A)
公開日
2025-09-03
出願番号
2024025122
出願日
2024-02-22
発明の名称
冊子収容ケース
出願人
個人
,
個人
,
個人
代理人
主分類
B42F
7/14 20060101AFI20250827BHJP(製本;アルバム;ファイル;特殊印刷物)
要約
【課題】収容される冊子の取り扱いを容易にする冊子収容ケースを提供する。
【解決手段】冊子収容ケースは、ケース本体10および移動機構20を含む。ケース本体10は、冊子1を立てた状態で収容可能な収容部11を含む。移動機構20は、収容部11に収容される冊子1を上下方向に移動させる。移動機構20は、保持板21、孔22および持ち手部23を含む。保持板21は、収容部11の底部に設けられ、冊子1を保持可能である。孔22は、ケース本体10の側面に設けられている。持ち手部23は、保持板21に連結され、孔22からケース本体10の外側に突出している。持ち手部23は、孔22に沿って移動することで保持板21の上下方向の位置を制御する。
【選択図】図1
特許請求の範囲
【請求項1】
冊子を立てた状態で収容可能な収容部を含むケース本体と、
前記収容部に収容される前記冊子を上下方向に移動させる移動機構と、を備え、
前記移動機構は、
前記収容部の底部に設けられ、前記冊子を保持可能な保持板と、
前記ケース本体の側面に設けられた孔と、
前記保持板に連結され、前記孔から前記ケース本体の外側に突出し、前記孔に沿って移動することで前記保持板の前記上下方向の位置を制御する持ち手部と、を含む、冊子収容ケース。
続きを表示(約 660 文字)
【請求項2】
前記ケース本体は、前記冊子が前記収容部に収容された状態で、前記冊子と前記ケース本体の上端との間に空間を有する、請求項1に記載の冊子収容ケース。
【請求項3】
前記ケース本体は、前記ケース本体の上部に設けられ前記収容部に繋がる開口を含み、
前記保持板が最も下方に位置する場合の前記収容部の高さは、前記収容部の横幅の√2倍よりも大きな値を有し、
前記収容部の前記高さは、前記保持板と前記ケース本体の前記開口との間の距離に対応し、
前記収容部の前記横幅は、前記ケース本体における対向配置された2つの側面の間の距離に対応する、請求項1または請求項2に記載の冊子収容ケース。
【請求項4】
前記持ち手部は、
前記ケース本体の第1側面に設けられた第1持ち手と、
前記第1側面に対向配置される前記ケース本体の第2側面に設けられた第2持ち手と、を含む、請求項1に記載の冊子収容ケース。
【請求項5】
前記持ち手部は、前記持ち手部の突出方向の長さを伸縮させる伸縮機構を含む、請求項1に記載の冊子収容ケース。
【請求項6】
前記移動機構は、前記保持板の前記上下方向の位置を固定するストッパーを含む、請求項1に記載の冊子収容ケース。
【請求項7】
前記収容部における前記ケース本体の側面から前記ケース本体の内部に向かって突出する少なくとも1つのクッションを、さらに備える、請求項1に記載の冊子収容ケース。
発明の詳細な説明
【技術分野】
【0001】
本開示は、冊子収容ケースに関する。
続きを表示(約 1,500 文字)
【背景技術】
【0002】
書類等を整理して収容するため、ファイルボックス等の収容ケースが知られている。特許文献1には、書類等を収納して保管する書類収納箱が開示されている。その書籍収納箱の内部には、手掛孔と摺動自在な仕切部とが設けられており、片手で持ち運べるとともに、書類の分類整理を可能にしている。
【先行技術文献】
【特許文献】
【0003】
特開2009-190194号公報
【発明の概要】
【発明が解決しようとする課題】
【0004】
収容ケースを使用する場合、その収容ケースへの出し入れなど冊子を丁寧に取り扱う必要がある。例えば、収容ケース内で冊子を保存したり、収容ケースから冊子取り出したりする際、冊子に貼付された付箋が折れ曲がらないようその状態を維持したまま取り扱うことは容易ではない。
【0005】
本開示は、上記の課題を解決するため、収容される冊子の取り扱いを容易にする冊子収容ケースの提供を目的とする。
【課題を解決するための手段】
【0006】
本開示に係る冊子収容ケースは、ケース本体および移動機構を含む。ケース本体は、冊子を立てた状態で収容可能な収容部を含む。移動機構は、収容部に収容される冊子を上下方向に移動させる。移動機構は、保持板、孔および持ち手部を含む。保持板は、収容部の底部に設けられ、冊子を保持可能である。孔は、ケース本体の側面に設けられている。持ち手部は、保持板に連結され、孔からケース本体の外側に突出している。持ち手部は、孔に沿って移動することで保持板の上下方向の位置を制御する。
【発明の効果】
【0007】
本開示によれば、収容される冊子の取り扱いを容易にする冊子収容ケースが提供される。
【0008】
本開示の目的、特徴、局面、および利点は、以下の詳細な説明と添付図面とによって、より明白になる。
【図面の簡単な説明】
【0009】
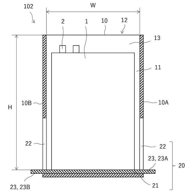
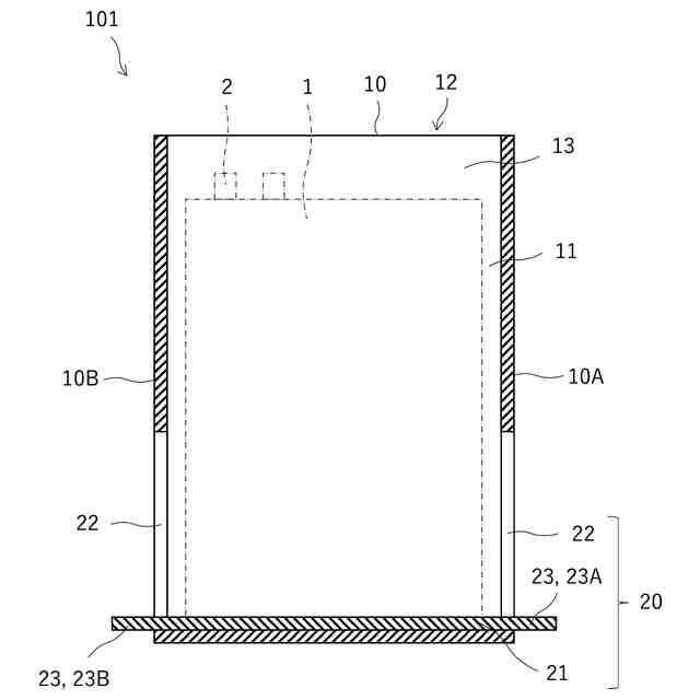
実施の形態1における冊子収容ケースの構成を示す斜視図である。
冊子収容ケースの構成を示す正面図である。
冊子収容ケースの構成を示す側面図である。
冊子収容ケースの構成を示す断面図である。
冊子が冊子収容ケースに収容されている状態を示す断面図である。
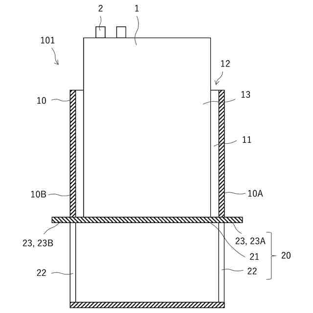
移動機構によって冊子が持ち上げられている状態を示す断面図である。
実施の形態1の変形例2における冊子の収容状態を示す断面図である。
実施の形態2における冊子収容ケースの構成を示す断面図である。
実施の形態3における冊子収容ケースの構成を示す断面図である。
実施の形態4における冊子収容ケースの構成を示す斜視図である。
実施の形態5における冊子収容ケースの構成を示す断面図である。
実施の形態5における冊子収容ケースの構成を示す断面図である。
実施の形態5の変形例における冊子収容ケースの構成を示す断面図である。
【発明を実施するための形態】
【0010】
<実施の形態1>
図1は、実施の形態1における冊子収容ケース101の構成を示す斜視図である。図2は、冊子収容ケース101の構成を示す正面図である。図3は、冊子収容ケース101の構成を示す側面図である。図4は、冊子収容ケース101の構成を示す断面図である。図4は、図3に示されるA-A’に沿った断面を示している。
(【0011】以降は省略されています)
この特許をJ-PlatPat(特許庁公式サイト)で参照する
関連特許
個人
書籍
6か月前
個人
リフター
1か月前
個人
手帳
1か月前
個人
書類ホルダー
5か月前
個人
ノート
5か月前
個人
紙片収容保持具
8か月前
個人
ブランドハガキ
3か月前
個人
ファイル
1か月前
個人
ダブルクリップ
6か月前
個人
ページめくり穴
2日前
個人
メッセージカード
6か月前
個人
折り曲げ式しおり
1か月前
個人
カレンダー
9日前
FRC株式会社
学習ノート
5か月前
個人
脱着リーフ綴込み補助具
7か月前
個人
吊下式カレンダー
7か月前
東洋紡株式会社
地図フィルム
10か月前
個人
脱着リングノートシステム
8か月前
株式会社リコー
綴じ装置
1か月前
ネオライト工業株式会社
しおり
28日前
個人
冊子収容ケース
1か月前
ダイニック株式会社
ブッククロス
8か月前
独立行政法人 国立印刷局
積層体
3か月前
独立行政法人 国立印刷局
潜像物
8か月前
独立行政法人 国立印刷局
積層体
3か月前
個人
シート状印刷物セット
1か月前
有限会社ライト工房
起立する台紙
4か月前
個人
タロットカード解説書
6か月前
個人
見開きアルバム立て掛け飾り具
4か月前
独立行政法人 国立印刷局
画像形成体
20日前
個人
環状具
9か月前
個人
シートセット及びワークセット
2か月前
株式会社Luciaube
クリアファイル
8か月前
株式会社デュプロ
冊子作成システム
10か月前
独立行政法人 国立印刷局
真偽判別印刷物
12か月前
独立行政法人 国立印刷局
潜像画像形成体
3か月前
続きを見る
他の特許を見る