TOP
|
特許
|
意匠
|
商標
特許ウォッチ
Twitter
他の特許を見る
公開番号
2025037209
公報種別
公開特許公報(A)
公開日
2025-03-17
出願番号
2023161754
出願日
2023-09-05
発明の名称
メッセージカード
出願人
個人
代理人
主分類
B42D
15/02 20060101AFI20250310BHJP(製本;アルバム;ファイル;特殊印刷物)
要約
【課題】各種記念日のプレゼントや各種イベント等の記念品などに一緒に添えて贈られるメッセージカードだが、持ち歩くとなくしたり、劣化したり、プライバシーが守れずメッセージを見られたりする。又家などに置いておく場合も存在を忘れてなくしてしまい、贈られた時の想いを長く持ち続ける事ができないという問題があった。
【解決手段】メッセージカードの少なくとも一方の面上にメッセージ記載部を備え、当該メッセージ記載部を覆う第一の外表面保護材と当該一方の面上のメッセージ記載部以外を覆う第二の外表面保護材を備え、上記第一の外表面保護材は第二の外表面保護材より非粘着性が高い事を特徴とするメッセージカード。
【選択図】図1
特許請求の範囲
【請求項1】
メッセージカードの少なくとも一方の面上にメッセージ記載部を備え、当該メッセージ記載部を覆う第一の外表面保護材と当該一方の面上のメッセージ記載部以外を覆う第二の外表面保護材を備え、上記第一の外表面保護材は第二の外表面保護材より非粘着性が高い事を特徴とするメッセージカード。
続きを表示(約 250 文字)
【請求項2】
前記メッセージ記載部は、当該メッセージ記載部に形成される文字及び/又は図柄を構成する膜の厚み以上くぼんで構成されることを特徴とする請求項1に記載のメッセージカード。
【請求項3】
前記第一の外表面保護材は前記第二の外表面保護材に対して面一又はくぼんで構成されることを特徴とする請求項1または請求項2記載のメッセージカード。
【請求項4】
前記第一の外表面保護材の少なくとも一部を被うマスキング部材を備えることを特徴とする請求項1記載のメッセージカード。
発明の詳細な説明
【技術分野】
【0001】
本発明は、結婚式や夫婦の記念日、親子の記念日、大会や式典などにて贈るメッセージカードに関するものである。
続きを表示(約 2,200 文字)
【背景技術】
【0002】
一般的にメッセージカードはプレゼントや記念品に添えたり、単体で贈られたりする。このようなメッセージカードは、贈る人達の気持ちを受け取る人に伝えるものとして使用される。
従来から特開平11-011053号公報に記載のように、贈り物等に添えるメッセージカードを想い出として大切に保管してもらうことができる、実用に即したメッセージカードなどがある事が知られている。また実用新案登録第3231375号(U3231375)公報に記載のように記入したメッセージの劣化を防ぎ、保存や保護をする事ができるメッセージカードが知られている。
【先行技術文献】
【特許文献】
【0003】
特開平11-011053号公報
実用新案登録第3231375号公報
【発明の概要】
【発明が解決しようとする課題】
【0004】
一般的に、贈られたメッセージカードを受け取った人は贈った人への感謝の気持ちを常に感じたい為に自分の身近に置いておきたい。その為持ち歩いたり常に目のつく所に置いたりするが、持ち歩くとメッセージカードが傷んだり、他人に見られたりするおそれがある。又は持ち歩かずに常に目のつく所に保管すると他人に見られたりするため、目のつかない場所に保管する場合もあり、長い時間保管しておくとメッセージカードの存在が薄れていき最初にもらった時の想いを継続するのが難しくなる。特許文献1に開示されたメッセージカードは持ち歩いたり長く保管するとメッセージカードに記載されたメッセージが傷んだり、メッセージや写真が貼り付き剥がれたりする問題がある。また特許文献2に開示されたメッセージカードは長時間保管したり常に持ち歩いたりすると透明保護フィルム部分が傷ついたり、接する物に貼りついて剥がれたりするという問題があった。
【課題を解決するための手段】
【0005】
上述した課題を解決するために、請求項1に示すメッセージカードは、メッセージカードの少なくとも一方の面上にメッセージ記載部を備え、当該メッセージ記載部を覆う第一の外表面保護材と当該一方の面上のメッセージ記載部以外を覆う第二の外表面保護材を備え、上記第一の外表面保護材は第二の外表面保護材より非粘着性が高い事を特徴とする。
【0006】
請求項2に示すメッセージカードは、前記メッセージ記載部が、当該メッセージ記載部に形成される文字及び/又は図柄を構成する膜の厚み以上くぼんで構成されることを特徴とする。
【0007】
請求項3に示すメッセージカードは、前記第一の外表面保護材が前記第二の外表面保護材に対して面一又はくぼんで構成される事を特徴とする。
【0008】
請求項4に示すメッセージカードは、前記第一の外表面保護材の少なくとも一部を被うマスキング部材を備えることを特徴とする。
【発明の効果】
【0009】
上記本発明に係るメッセージカードは、上記のような構成を採用する事により、メッセージ記載部の非粘着性を確保しつつ、メッセージカードが接触する物品の表面で滑ったり擦れたりすることによる損傷の発生を抑制する事ができる。故にメッセージ記載部を備えた面が物品に接した状態で保管される場合であっても、第二の外表面保護材より非粘着性が高い第一の外表面保護材で覆われているメッセージ記載部は、接触している物品に貼りついたりせずにメッセージ記載部以外の第二の外表面保護材により滑ったり擦れたりすることなく保管できるようになる。メッセージカードを自分の身近に置いておく為に、携帯用物品収納具である財布、鞄、小物入れ、名刺入れ又は手帳などと一緒に持ち歩いたり、他人に見られないようにメッセージ記載部を隠し被う為に他の物品と常に接触した状態であっても、第一の外表面保護材で覆われたメッセージを記入及び/又は印刷した時の文字及び/又は図柄を構成する膜が、接触した物に貼りついて剥がれたり傷ついたりする事なく保護する事ができるようになり、メッセージカードに込められた想いも長く持ち続ける事ができる。又常に目のつく所に置いておく為に、他人に見られないようにメッセージ記載部をトロフィー、楯、賞状や証明書などの額縁、時計などの物品に常に接触した状態で保管しても大丈夫になり、メッセージカードの存在を常に意識させることで、込められた想いも長く持ち続ける事ができるという効果を奏する。
【図面の簡単な説明】
【0010】
第一の実施例に係るメッセージカードの構成を示す図である。
第二の実施例に係るメッセージカードの構成を示す図である。
本発明に係るメッセージカードを財布に2枚取り付けた一例を示す斜視図である。
本発明に係るマスキング部材を備えたメッセージカードを財布に2枚取り付けた構成を示す図である。
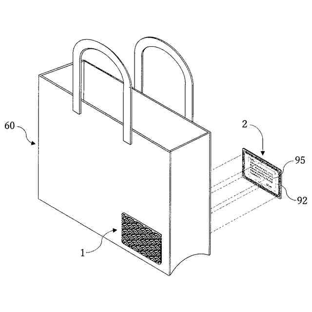
本発明に係るメッセージカードを鞄に2枚取り付けた一例を示す斜視図である。
本発明に係るメッセージカードをトロフィーに取り付けた一例を示す斜視図である。
本発明に係るメッセージカードの一例を示す図である。
本発明に係るメッセージカードの他の一例を示す図である。
【発明を実施するための形態】
(【0011】以降は省略されています)
この特許をJ-PlatPat(特許庁公式サイト)で参照する
関連特許
個人
書籍
6か月前
個人
リフター
1か月前
個人
手帳
1か月前
個人
ノート
5か月前
個人
書類ホルダー
5か月前
個人
紙片収容保持具
8か月前
個人
ファイル
1か月前
個人
ページめくり穴
3日前
個人
ブランドハガキ
3か月前
個人
ダブルクリップ
7か月前
個人
折り曲げ式しおり
1か月前
個人
カレンダー
10日前
個人
メッセージカード
6か月前
FRC株式会社
学習ノート
5か月前
個人
吊下式カレンダー
7か月前
東洋紡株式会社
地図フィルム
10か月前
個人
脱着リーフ綴込み補助具
7か月前
個人
脱着リングノートシステム
8か月前
ネオライト工業株式会社
しおり
29日前
株式会社リコー
綴じ装置
1か月前
ダイニック株式会社
ブッククロス
8か月前
有限会社ライト工房
起立する台紙
4か月前
個人
シート状印刷物セット
1か月前
独立行政法人 国立印刷局
潜像物
8か月前
個人
タロットカード解説書
6か月前
独立行政法人 国立印刷局
積層体
3か月前
独立行政法人 国立印刷局
積層体
3か月前
個人
冊子収容ケース
1か月前
個人
見開きアルバム立て掛け飾り具
4か月前
独立行政法人 国立印刷局
画像形成体
21日前
個人
環状具
9か月前
独立行政法人 国立印刷局
潜像画像形成体
3か月前
株式会社デュプロ
冊子作成システム
10か月前
個人
シートセット及びワークセット
2か月前
株式会社Luciaube
クリアファイル
8か月前
株式会社ユニオン産業
クリップ
8か月前
続きを見る
他の特許を見る