TOP
|
特許
|
意匠
|
商標
特許ウォッチ
Twitter
他の特許を見る
10個以上の画像は省略されています。
公開番号
2025133664
公報種別
公開特許公報(A)
公開日
2025-09-11
出願番号
2024044221
出願日
2024-03-01
発明の名称
しおり
出願人
ネオライト工業株式会社
代理人
主分類
B42D
9/00 20060101AFI20250904BHJP(製本;アルバム;ファイル;特殊印刷物)
要約
【課題】 読書途中の書物を本棚から素早く見つけることができるとともに、本棚を飾ることもでき、書籍用の広告POPにも活用できるしおりを提供する。
【解決手段】 開示されるしおりは、書籍のページに挟み込む本体部(1)からアーム部(3)を経由して飾り部(2)を持ち、アーム部(3)は設置された折り罫(6)を使って折り込むことができる。この結果、本来背表紙側からは視認できないしおりの一部の意匠を、背表紙側から視認することができるようになる。
【選択図】図11
特許請求の範囲
【請求項1】
書籍のページ間に挟んで使用するしおりであって、
シート状の本体部と、
前記本体部から延出したシート状の延出部と、を備え、
前記延出部は、その少なくとも一部に、前記本体部を挟み込んだ前記書籍の外部に露出する飾り部を含み、
前記飾り部は、前記延出部を屈曲又は湾曲させることにより、前記本体部の側方を向く、しおり。
続きを表示(約 810 文字)
【請求項2】
前記延出部は、前記本体部の頭部から前記側方に延出し、前記飾り部を挟んだ基端側及び先端側に、互いに係合する係合部を有し、当該係合部が互いに係合することにより、前記飾り部を含む環状部を形成するように前記延出部を屈曲又は湾曲させ、それにより前記側方を向く前記飾り部の姿勢を保持する、請求項1に記載のしおり。
【請求項3】
前記係合部は、一方がスリットであり、他方が前記スリットに挿入される突起部である、請求項2に記載のしおり。
【請求項4】
前記延出部は、前記基端側に折り罫を有し、当該折り罫で所望の角度に折り曲げることが可能である、請求項2に記載のしおり。
【請求項5】
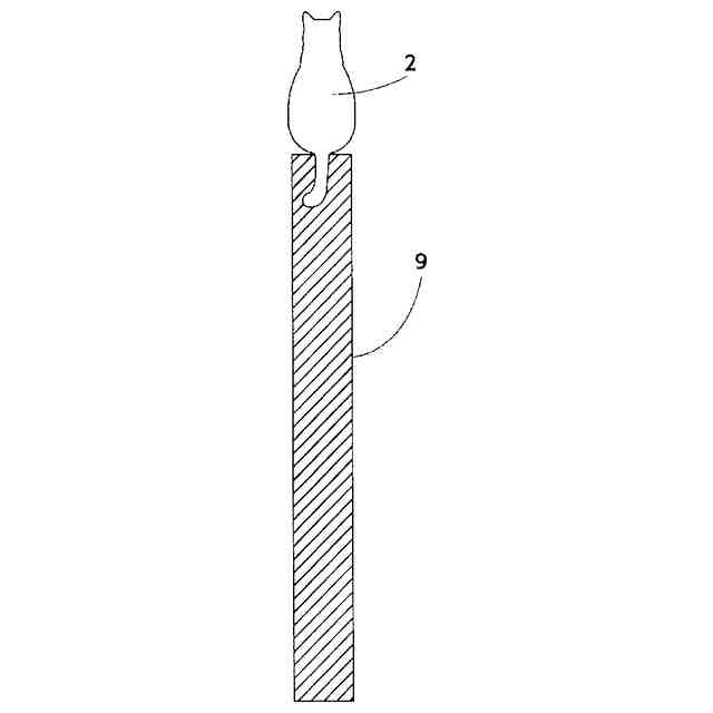
前記飾り部が、キャラクターをかたどった輪郭形状を有する、請求項1から4のいずれかに記載のしおり。
【請求項6】
前記本体部は、前記書籍のページの上縁部分を挟むことにより、自身の沈み込みを防ぐ、略「U」字状の切れ込みを有する、請求項1から4のいずれかに記載のしおり。
【請求項7】
前記飾り部に、メモを書き込むためのメモ欄が印刷されている、請求項1から4のいずれかに記載のしおり。
【請求項8】
前記本体部から延出したシート状の別の延出部を、更に備え、
前記別の延出部は、その少なくとも一部に、前記本体部を挟み込んだ前記書籍の外部に露出する別の飾り部を含み、
前記別の飾り部は、前記別の延出部を屈曲又は湾曲させることにより、前記本体部の側方を向く、請求項1から4のいずれかに記載のしおり。
【請求項9】
請求項1から4のいずれかに記載のしおりの使用方法であって、
前記飾り部に、広告情報を印刷するか、又は記入することにより、前記しおりを前記書籍の広告POPとして使用する、しおりの使用方法。
発明の詳細な説明
【技術分野】
【0001】
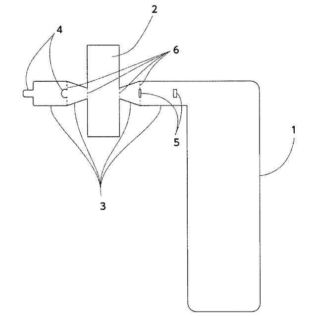
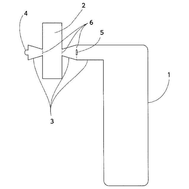
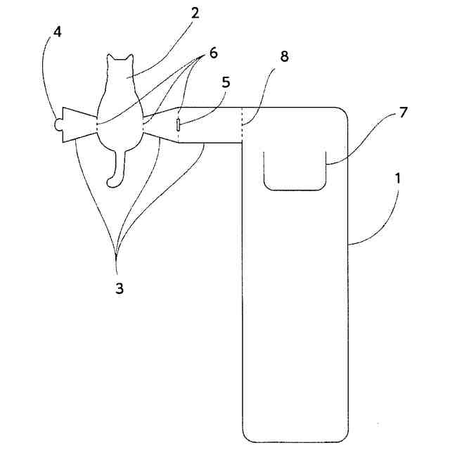
本発明は、書籍にはさむことで読書経過を記録するしおりとして使用することができ、また、上部にある飾り部にほどこされた意匠が書籍の背表紙方向に面することで、本棚等に陳列した際の飾りや、書籍と連動した広告としても機能せしめうるものである。
続きを表示(約 1,200 文字)
【背景技術】
【0002】
従来、しおりは読書を中断し書籍を閉じる際に、現在読み進めているページに挟んでおくことで、読書の再開時に続きとなるページを手早く開くための紙もしくは他の材質で形成されたシート状の物体であるが、その書籍を書棚等に収納する際には、たとえ書籍の上部にその一部が飛び出していたとしても、平面を横から見る形となるため、たとえそれが意匠を凝らしたものであっても存在が希薄となってしまっていた。
【0003】
また、同じ理由により、しおりは複数の書籍が並んだ書棚において、現在読み進めている最中である書籍を見つけ出す一助とはならないものであった。
【0004】
一方、書店等において、特定の書籍についての広告POPを書棚に設置することがあるが、書棚内の書籍はある程度の流動性を持つため、当該書籍と広告POPとの位置関係が安定しないという問題があった。
【発明の概要】
【発明が解決しようとする課題】
【0005】
この発明は上記の問題点を解決したものであり、しおりの、書籍のページ間に挟むシート状の部分からアーム部を介して延出した飾り部が立体的に組み上がり、書籍の背表紙方向に、平面として、又は屈曲および湾曲する立体として前記書籍の背表紙方向から視認されることで、書棚の飾りとして、又は現在読書途中の書籍の目印として、又は書店における書籍に直接に設置できるPOPとして活用されることを目的としたものである。
【課題を解決するための手段】
【0006】
上記の目的を達成するため、本発明の第1の形態は、
書籍のページ間に挟み込むシート状の本体部からアーム部を経由して延出した飾り部を1つ以上有し、且つ、前記飾り部が書籍の背表紙方向を向く平面、又は屈曲および湾曲した面を有しているしおりである。
【0007】
この構成によれば、書籍に当該しおりを挟んだ状態で書棚に陳列した際に、飾り部によって閲覧者にしおりの存在を認識されやすくなり、又、前記書籍の背表紙よりも閲覧者方向に飾り部を飛び出させるならば、より目立ちやすい構造となりえる。
【0008】
本発明の第2の形態は、飾り部を挟んだ基端側及び先端側に、互いに係合する係合部を有している。
【0009】
この構成によると、当該係合部が互いに係合することにより、飾り部を含む環状部を形成するように前記延出部を屈曲又は湾曲させることとなり、飾り部が本体部よりみて側方、しおりを書籍に設置している場合は背表紙方向を向く姿勢を保持することができる。
【0010】
本発明の第3の形態は、前記係合部は、一方がスリットであり、他方が前記スリットに挿入される突起部である。
(【0011】以降は省略されています)
この特許をJ-PlatPat(特許庁公式サイト)で参照する
関連特許
個人
書籍
6か月前
個人
リフター
1か月前
個人
手帳
1か月前
個人
書類ホルダー
5か月前
個人
ノート
5か月前
個人
ダブルクリップ
6か月前
個人
ページめくり穴
2日前
個人
紙片収容保持具
8か月前
個人
ファイル
1か月前
個人
ブランドハガキ
3か月前
個人
メッセージカード
6か月前
個人
カレンダー
9日前
個人
折り曲げ式しおり
1か月前
FRC株式会社
学習ノート
5か月前
東洋紡株式会社
地図フィルム
10か月前
個人
吊下式カレンダー
7か月前
個人
脱着リーフ綴込み補助具
7か月前
ネオライト工業株式会社
しおり
28日前
株式会社リコー
綴じ装置
1か月前
個人
脱着リングノートシステム
8か月前
有限会社ライト工房
起立する台紙
4か月前
独立行政法人 国立印刷局
潜像物
8か月前
個人
冊子収容ケース
1か月前
個人
タロットカード解説書
6か月前
独立行政法人 国立印刷局
積層体
3か月前
独立行政法人 国立印刷局
積層体
3か月前
個人
シート状印刷物セット
1か月前
ダイニック株式会社
ブッククロス
8か月前
個人
見開きアルバム立て掛け飾り具
4か月前
独立行政法人 国立印刷局
画像形成体
20日前
個人
環状具
9か月前
独立行政法人 国立印刷局
潜像画像形成体
3か月前
株式会社デュプロ
冊子作成システム
10か月前
個人
シートセット及びワークセット
2か月前
株式会社Luciaube
クリアファイル
8か月前
独立行政法人 国立印刷局
真偽判別印刷物
12か月前
続きを見る
他の特許を見る