TOP
|
特許
|
意匠
|
商標
特許ウォッチ
Twitter
他の特許を見る
公開番号
2025035937
公報種別
公開特許公報(A)
公開日
2025-03-14
出願番号
2023149628
出願日
2023-08-29
発明の名称
ダブルクリップ
出願人
個人
代理人
主分類
B42F
1/02 20060101AFI20250306BHJP(製本;アルバム;ファイル;特殊印刷物)
要約
【課題】薄い書類でも大きな力で挟んで留めることができ且つ書類を留める際に一対のレバーを二つの指で掴む力を小さくできるダブルクリップを提供する。
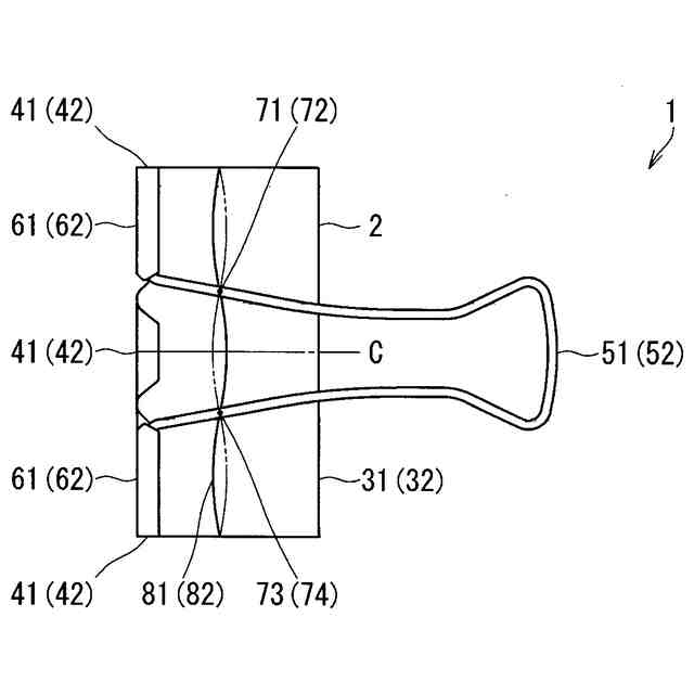
【解決手段】ダブルクリップ1は、ばね材2の長手方向の中心から等しい間隔で折り曲げられた一対の第一折曲部31,32と、ばね材の両端に設けられ且つ書類を挟んで留める一対の挟口部41,42と、一対の挟口部を開く一対のレバー51,52と、一対の挟口部のばね材に設けられ且つ一対のレバーを回動させる一対の支持部61,62と、一対の挟口部及び一対の第一折曲部の間に、一対の挟口部を一対のレバーで開く際に支点71~74となる一対の第二折曲部81,82を備えている。
【選択図】図2
特許請求の範囲
【請求項1】
ばね材の長手方向の中心から等しい間隔で折り曲げられた一対の第一折曲部と、前記ばね材の両端に設けられ且つ書類などを挟んで留める一対の挟口部と、前記一対の挟口部を開く一対のレバーと、前記一対の挟口部の両側の前記ばね材に設けられ且つ前記一対のレバーを回動させる一対の支持部と、前記一対の挟口部及び前記一対の第一折曲部の間に前記一対の挟口部を前記一対のレバーで開く際に支点となる一対の第二折曲部と、を備えたダブルクリップ。
続きを表示(約 250 文字)
【請求項2】
前記一対の第二折曲部は、ばね材の中心Cの両側の少なくても一部が曲線状に形成されている請求項1に記載のダブルクリップ。
【請求項3】
前記支点の近傍の前記一対の第二折曲部は、前記ばね材の中心Cから近い側が前記一対の第一折曲部に近く、前記ばね材の中心Cから遠い側が前記一対の挟口部に近くなるように、又は前記ばね材の中心Cから遠い側が前記一対の第一折曲部に近く、前記ばね材の中心Cから近い側が前記一対の挟口部に近くなるように形成されている請求項1に記載のダブルクリップ。
発明の詳細な説明
【技術分野】
【0001】
本発明は、ダブルクリップに関する。
続きを表示(約 1,700 文字)
【背景技術】
【0002】
従来、例えば特許文献1や特許文献2に開示されたダブルクリップが知られている。特許文献1に開示されたダブルクリップは、ばね材の長手方向の中心から等しい間隔で折り曲げられた一対の折曲部と、ばね材の両端に設けられ且つ書類などを挟んで留める一対の挟口部と、一対の挟口部を開く一対のレバーと、一対の挟口部の両側のばね材に設けられ且つ一対のレバーを回動させる一対の支持部と、一対の挟口部から一対の折曲部までの間のばね材に設けられ且つ一対の挟口部を一対のレバーで開いた際に支点となる凸状に形成された一対の支点部を備えている。
【0003】
特許文献2(図4)に開示されたダブルクリップ10は、図8に示すように、ばね材2の長手方向の中心から等しい間隔で折り曲げられた一対の折曲部33,34と、ばね材2の両端に設けられ且つ書類など(不図示)を挟んで留める一対の挟口部41,42と、一対の挟口部41,42を開く一対のレバー51,52と、一対の挟口部41,42のばね材2に設けられ且つ一対のレバー51,52を回動させる一対の支持部61,62と、一対の挟口部41,42から一対の折曲部33,34までの間のばね材2の外側の表面に設けられ且つ一対の挟口部41,42を一対のレバー51,52で開く際に一対の支点となる一対の支点部91,92を備えている。
【先行技術文献】
【特許文献】
【0004】
実開昭52-15918号公報
特開2019-18551号公報(図4)
【発明の概要】
【発明が解決しようとする課題】
【0005】
特許文献1に開示されたダブルクリップは、書類などを挟んで留める場合に、一対のレバーを二つの指で掴み一対の挟口部を開くと、一対のレバーが一対の支点部に当接してばね材が湾曲する。そのため、更に挟口部を大きく開くと、一対のレバーが一対の支点部から一対の折曲部に当接して支点が移動し、一対のレバーを二つの指で掴む力が大きくなるという問題がある。
【0006】
特許文献2(図4)に開示されたダブルクリップ10は、図8に示すように、一対の支点部91,92が一方の3ヶ所(支点、911、912)及び他方の3ヶ所(支点、921、922)で、折り曲げられているため、一対の挟口部41,42で書類など(不図示)を挟んで留める際に、一対の支点部91,92が6ヶ所で変形するため、一対の挟口部41,42が書類など(不図示)を挟んで留める力が小さくなるという問題がある。
【0007】
本発明は前述の問題を解決するため、薄い書類でも一対の挟口部で大きな力で挟んで留めることができ且つ一対の挟口部を開く際に、一対のレバーを二つの指で掴む力を小さくできるダブルクリップを提供することを目的とする。
【問題を解決するための手段】
【0008】
本発明は前述の問題を解決するため、請求項1に記載のダブルクリップは、ばね材の長手方向の中心から等しい間隔で折り曲げられた一対の第一折曲部と、前記ばね材の両端に設けられ且つ書類などを挟んで留める一対の挟口部と、前記一対の挟口部を開く一対のレバーと、前記一対の挟口部の両側の前記ばね材に設けられ且つ前記一対のレバーを回動させる一対の支持部と、前記一対の挟口部及び前記一対の第一折曲部の間に前記一対の挟口部を前記一対のレバーで開く際に支点となる一対の第二折曲部を備えている。
【0009】
また、請求項2に記載のダブルクリップは、前記一対の第二折曲部が、ばね材の中心Cの両側の少なくても一部が曲線状に形成されている。
【0010】
また、請求項3に記載のダブルクリップは、前記支点の近傍の前記一対の第二折曲部が前記ばね材の中心Cから近い側が前記一対の第一折曲部に近く、前記ばね材の中心Cから遠い側が前記一対の挟口部に近くなるように、又は前記ばね材の中心Cから遠い側が前記一対の第一折曲部に近く、前記ばね材の中心Cから近い側が前記一対の挟口部に近くなるように形成されている。
【発明の効果】
(【0011】以降は省略されています)
この特許をJ-PlatPat(特許庁公式サイト)で参照する
関連特許
個人
書籍
6か月前
個人
リフター
1か月前
個人
手帳
1か月前
個人
書類ホルダー
5か月前
個人
ノート
5か月前
個人
ダブルクリップ
6か月前
個人
ページめくり穴
2日前
個人
紙片収容保持具
8か月前
個人
ファイル
1か月前
個人
ブランドハガキ
3か月前
個人
メッセージカード
6か月前
個人
カレンダー
9日前
個人
折り曲げ式しおり
1か月前
FRC株式会社
学習ノート
5か月前
東洋紡株式会社
地図フィルム
10か月前
個人
吊下式カレンダー
7か月前
個人
脱着リーフ綴込み補助具
7か月前
ネオライト工業株式会社
しおり
28日前
株式会社リコー
綴じ装置
1か月前
個人
脱着リングノートシステム
8か月前
有限会社ライト工房
起立する台紙
4か月前
独立行政法人 国立印刷局
潜像物
8か月前
個人
冊子収容ケース
1か月前
個人
タロットカード解説書
6か月前
独立行政法人 国立印刷局
積層体
3か月前
独立行政法人 国立印刷局
積層体
3か月前
個人
シート状印刷物セット
1か月前
ダイニック株式会社
ブッククロス
8か月前
個人
見開きアルバム立て掛け飾り具
4か月前
独立行政法人 国立印刷局
画像形成体
20日前
個人
環状具
9か月前
独立行政法人 国立印刷局
潜像画像形成体
3か月前
株式会社デュプロ
冊子作成システム
10か月前
個人
シートセット及びワークセット
2か月前
株式会社Luciaube
クリアファイル
8か月前
独立行政法人 国立印刷局
真偽判別印刷物
12か月前
続きを見る
他の特許を見る