TOP
|
特許
|
意匠
|
商標
特許ウォッチ
Twitter
他の特許を見る
公開番号
2025019265
公報種別
公開特許公報(A)
公開日
2025-02-06
出願番号
2024205820
出願日
2024-11-08
発明の名称
紙片収容保持具
出願人
個人
代理人
主分類
B42F
9/00 20060101AFI20250130BHJP(製本;アルバム;ファイル;特殊印刷物)
要約
【課題】文書類等の紙片に自由に書き込むことができる紙片収容保持具を提供する。
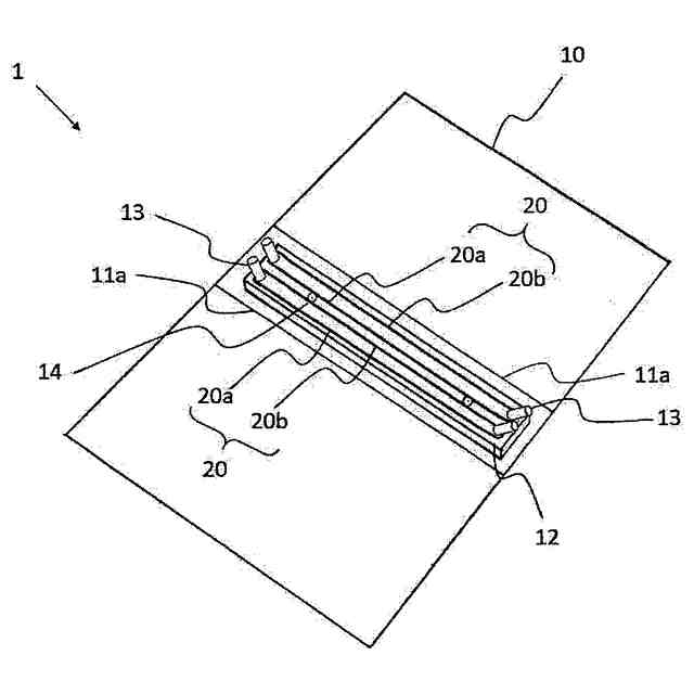
【解決手段】紙片収容保持具1は、中央部分に形成された折り線11aで二つ折りすることが可能な紙片を収容し、紙片を開いた状態で保持可能な紙片収容保持であって、中央部分に形成された折り線で二つ折りすることが可能な表紙部10と、表紙部の略中央部に取り付けられ、表紙部の折り線が延伸する第1の方向に沿って延伸する綴具12と、第1の方向に沿って延伸する紐部材20とを備える。綴具12は、紐部材を係止するためのフック部13を有している。紐部材は、環状形状を有しており、紐部材を係止部に係止したときに、第1の方向に延伸する2つの紐部20a、20bを形成し、紙片が綴具と紐部の一方との間に配置されて、紙片を収容するように構成されている。
【選択図】図1
特許請求の範囲
【請求項1】
中央部分に形成された折り線で二つ折りすることが可能な紙片を収容し、紙片を開いた状態で保持可能な紙片収容保持であって、
中央部分に形成された折り線で二つ折りすることが可能な表紙部と、
前記表紙部の略中央部に取り付けられ、前記表紙部の折り線が延伸する第1の方向に沿って延伸する綴具と、
前記第1の方向に沿って延伸する紐部材と、を備え、
前記綴具は、前記紐部材を係止するためのフック部を有しており、
前記紐部材は、環状形状を有しており、前記紐部材を前記係止部に係止したときに、前記第1の方向に延伸する2つの紐部を形成し、
前記紙片が前記綴具と前記紐部の一方との間に配置されて、前記紙片を収容するように構成されたことを特徴とする紙片収容保持具。
続きを表示(約 310 文字)
【請求項2】
前記綴具は、コの字形状の引掛部を有し、当該引掛部を前記表紙部に着脱可能に係止するように構成されていることを特徴とする請求項1に記載の紙片収容保持具。
【請求項3】
前記綴具は、2つに分離されて、前記表紙部に取り付け可能に構成されていることを特徴とする請求項1又は2に記載の紙片収容保持具。
【請求項4】
前記フック部が、前記第1の方向と交差する第2の方向に複数配列されていることを特徴とする請求項1に記載の紙片収容保持具。
【請求項5】
前記フック部は、前記綴具の上側側面又は下側側面に形成されていることを特徴とする請求項1に記載の紙片収容保持具。
発明の詳細な説明
【技術分野】
【0001】
本発明は、紙片収容保持具に関する。
続きを表示(約 1,100 文字)
【背景技術】
【0002】
従来、複数枚綴じ込んだファイルブックにおいて、文書等の収容物をファイル体に収容したままでの状態で加筆ができるクリアファイルブックが、特許文献1で提案されている。
【先行技術文献】
【特許文献】
【0003】
実用新案登録第3184301号
【発明の概要】
【発明が解決しようとする課題】
【0004】
しかしながら、特許文献1のクリアファイルブックは、対角コーナー部に付着した帯状シート片によって、文書類を挿入してファイリングすることを特徴としているので、文書類等の紙片に書き込む自由度が制限されている。
【課題を解決するための手段】
【0005】
本発明に係る紙片収容保持具は、中央部分に形成された折り線で二つ折りすることが可能な紙片を収容し、紙片を開いた状態で保持可能な紙片収容保持であって、中央部分に形成された折り線で二つ折りすることが可能な表紙部と、前記表紙部の略中央部に取り付けられ、前記表紙部の折り線が延伸する第1の方向に沿って延伸する綴具と、前記第1の方向に沿って延伸する紐部材とを備える。前記綴具は、前記紐部材を係止するためのフック部を有している。また、前記紐部材は、環状形状を有している。また、前記紐部材を前記係止部に係止したときに、前記第1の方向に延伸する2つの紐部を形成し、前記紙片が前記綴具と前記紐部の一方との間に配置されて、前記紙片を収容するように構成されたことを特徴とする。
【0006】
また、本発明に係る紙片収容保持具において、前記綴具は、コの字形状の引掛部を有し、当該引掛部を前記表紙部に着脱可能に係止するように構成されていることを特徴としてもよい。
【0007】
また、本発明に係る紙片収容保持具において、前記綴具は、2つに分離されて、前記表紙部に取り付け可能に構成されていることを特徴としてもよい。
【0008】
また、本発明に係る紙片収容保持具において、前記フック部が、前記第1の方向と交差する第2の方向に複数配列されていることを特徴としてもよい。
【0009】
また、本発明に係る紙片収容保持具において、前記フック部は、前記綴具の上側側面又は下側側面に形成されていることを特徴としてもよい。
【発明の効果】
【0010】
本発明によれば、紙片への書き込みの自由度を向上できる。
【図面の簡単な説明】
(【0011】以降は省略されています)
この特許をJ-PlatPat(特許庁公式サイト)で参照する
関連特許
個人
書籍
6か月前
個人
リフター
1か月前
個人
手帳
1か月前
個人
書類ホルダー
5か月前
個人
ノート
5か月前
個人
紙片収容保持具
8か月前
個人
ブランドハガキ
3か月前
個人
ファイル
1か月前
個人
ダブルクリップ
6か月前
個人
ページめくり穴
2日前
個人
メッセージカード
6か月前
個人
折り曲げ式しおり
1か月前
個人
カレンダー
9日前
FRC株式会社
学習ノート
5か月前
個人
脱着リーフ綴込み補助具
7か月前
個人
吊下式カレンダー
7か月前
東洋紡株式会社
地図フィルム
10か月前
個人
脱着リングノートシステム
8か月前
株式会社リコー
綴じ装置
1か月前
ネオライト工業株式会社
しおり
28日前
個人
冊子収容ケース
1か月前
ダイニック株式会社
ブッククロス
8か月前
独立行政法人 国立印刷局
積層体
3か月前
独立行政法人 国立印刷局
潜像物
8か月前
独立行政法人 国立印刷局
積層体
3か月前
個人
シート状印刷物セット
1か月前
有限会社ライト工房
起立する台紙
4か月前
個人
タロットカード解説書
6か月前
個人
見開きアルバム立て掛け飾り具
4か月前
独立行政法人 国立印刷局
画像形成体
20日前
個人
環状具
9か月前
個人
シートセット及びワークセット
2か月前
株式会社Luciaube
クリアファイル
8か月前
株式会社デュプロ
冊子作成システム
10か月前
独立行政法人 国立印刷局
真偽判別印刷物
12か月前
独立行政法人 国立印刷局
潜像画像形成体
3か月前
続きを見る
他の特許を見る