TOP
|
特許
|
意匠
|
商標
特許ウォッチ
Twitter
他の特許を見る
10個以上の画像は省略されています。
公開番号
2025025463
公報種別
公開特許公報(A)
公開日
2025-02-21
出願番号
2023130244
出願日
2023-08-09
発明の名称
用紙積載装置
出願人
デュプロ精工株式会社
代理人
個人
主分類
B26D
5/00 20060101AFI20250214BHJP(切断手工具;切断;切断機)
要約
【課題】本発明の目的は、第2加工装置を備えるシート加工システムにおいて、第2加工装置から排出される成果物が、紙積載装置の区分け位置に対して第1加工装置と同じ位置に排紙されるように成果物のレイアウト情報を作成することである。
【解決手段】レイアウト情報は、成果物の加工時において、複数の中間シート相互間で、第2加工装置における裁断手段の設置位置及び、サイドガイドの幅方向位置を変更することなく連続して加工が行われることを前提として作成される。
【選択図】図9
特許請求の範囲
【請求項1】
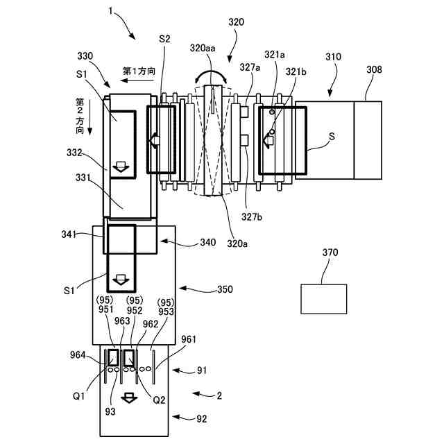
少なくとも1つの成果物が配置されたシートを第1方向に搬送し、前記シートを停止させた状態で加工ジョブに従って少なくとも1つの第1切断位置で切断して中間シートを排出する第1加工装置と、前記第1加工装置から排出された前記中間シートを、前記加工ジョブに従って加工して成果物を排出する第2加工装置と、前記第2加工装置からシート搬送方向に1列又は複数列で連続的に排出される単票用紙を受けて区分け単位で積み重ねるシート区分け装置と、前記第1加工装置及び前記第2加工装置でそれぞれ実施する加工内容を指示する前記加工ジョブを生成する加工ジョブ生成装置と、をさらに備えた、シート加工システムにおいて、
前記加工ジョブ生成装置は、シートに配置された成果物の位置に関する情報を含むレイ
アウト情報に基づいて、前記加工ジョブを生成する、ことを特徴とするシート加工システム。
続きを表示(約 930 文字)
【請求項2】
前記加工ジョブには、シートの大きさおよび種類、成果物の大きさおよびシート上における配置、シートに施す加工の位置、種類、数および寸法の情報が含まれる、ことを特徴とする請求項1に記載のシート加工システム。
【請求項3】
前記シート区分け装置は載置部を有し、前記載置部は、前記単票用紙の用紙搬送幅方向の左右端縁を規制するサイドガイド、を備えている、ことを特徴とする請求項1に記載のシート加工システム。
【請求項4】
前記第1加工装置において前記シートを複数の前記中間シートに分割する場合、前記加工ジョブ生成装置により、前記第2加工装置から排出される成果物が、前記載置部の区分け位置に対して同じ区分け位置に排出されるように、前記載置部において区分けされる区画毎の成果物の種類に基づき、前記レイアウト情報を作成すると共に、
前記レイアウト情報に基づき、ガイド駆動部により前記サイドガイドの位置が調整される、ことを特徴とする請求項3に記載のシート加工システム。
【請求項5】
前記レイアウト情報は、成果物の加工時において、前記複数の中間シート相互間で、前記第2加工装置における裁断手段の設置位置及び、前記サイドガイドの幅方向位置を変更することなく連続して加工が行われることを前提として作成される、ことを特徴とする請求項4に記載のシート加工システム。
【請求項6】
前記レイアウト情報における前記分割する複数の中間シートには、各々、前記第2加工装置におけるシート搬送基準線に相当する裁断加工線が設定され、前記裁断加工線は、少なくとも、前記裁断加工線に近接する第1の成果物の一端までの距離が、前記載置部の第1の区分け位置に位置決めされるように、設定される、ことを特徴とする請求項5に記載のシート加工システム。
【請求項7】
シート加工装置を2台以上用いた前記シート加工システムにおいて、加工ジョブ生成装置は、前記第1加工装置及び前記第2加工装置の各々に前記各加工ジョブのデータ分を出力するようになっている、ことを特徴とする請求項1に記載のシート加工システム。
発明の詳細な説明
【技術分野】
【0001】
本発明は、シートに印刷された、例えばチケット等の成果物をシートから裁断して取り出すシート加工システムに関するものである。
続きを表示(約 2,300 文字)
【背景技術】
【0002】
従来、シートに印刷された、例えばチケット等の成果物をシートから裁断して取り出す
シート加工システムが知られている。例えば、特許文献1には、成果物(単票)が複数印刷された大きいサイズのシートを第1加工装置(第1シート裁断装置)で裁断して、サイズを小型化した加工処理後のシートを第2加工装置(第2シート裁断装置)で個々の成果物に裁断する装置が記載されている。
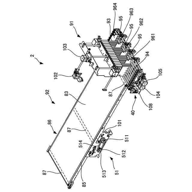
又、特許文献2には、紙切断装置にて切断後の紙実用部を整列状態で積載し、操作者が容易に取り出すことができる紙積載装置が開示されている。具体的には、紙積載装置は紙仕分装置を備え、紙仕分装置は、仕切板と側板によって紙の搬送方向の位置を定め、ストッパ板により紙の搬送方向に垂直な位置を定めることで、仕分けされた複数列の紙実用部を、所定の場所に順次整列状態で積載することができるように構成されている。
【先行技術文献】
【特許文献】
【0003】
特開2022-35429号公報
特開2000-95421号公報
【発明の概要】
【発明が解決しようとする課題】
【0004】
例えば、特許文献1に開示されるような、成果物が印刷された大きいサイズのシートを第1加工装置で裁断して、サイズを小型化した加工処理後のシート(少なくとも一つの中間シート)を第2加工装置で個々の成果物に裁断する装置の後段に、裁断加工後の成果物を整列状態で仕分け積み上げできるようにする為、特許文献2に開示されるような、紙仕分装置を備える紙積載装置を接続した場合、複数作成された中間シート相互間において、第2加工装置から排出される成果物が、紙積載装置(紙仕分装置)の区分け位置に対して同じ位置に排紙されずに、作業途中で紙仕分装置における仕切板と側板の幅方向位置の移動が必要となり、作業効率が悪くなることが考えられる。又、成果物が同じサイズであっても区分け位置に対して同じ位置に排紙されない場合、すでに積載しているものを保持しつつ移動ができないことが考えられる。
【0005】
本発明の目的は、前記従来技術の課題に鑑み、加工ジョブに従って少なくとも1つの切断位置で切断して中間シートを排出する第1加工装置と、第1加工装置から排出された中間シートを、加工ジョブに従って加工して成果物を排出する第2加工装置を備えるシート加工システムにおいて、第2加工装置から排出される成果物が、紙積載装置(紙仕分装置)の区分け位置に対して同じ位置に排紙されるように成果物のレイアウト情報を作成することにより、レイアウト情報に基づいて連続して加工を行うことができるシート加工システムを提供することである。したがって、作業効率が良好である。
【課題を解決するための手段】
【0006】
上記目的を達成するために、請求項1記載の発明は、少なくとも1つの成果物が配置されたシートを第1方向に搬送し、前記シートを停止させた状態で加工ジョブに従って少なくとも1つの第1切断位置で切断して中間シートを排出する第1加工装置と、前記第1加工装置から排出された前記中間シートを、前記加工ジョブに従って加工して成果物を排出する第2加工装置と、前記第2加工装置からシート搬送方向に1列又は複数列で連続的に排出される単票用紙を受けて区分け単位で積み重ねるシート区分け装置と、前記第1加工装置及び前記第2加工装置でそれぞれ実施する加工内容を指示する前記加工ジョブを生成する加工ジョブ生成装置と、をさらに備えた、シート加工システムにおいて、
前記加工ジョブ生成装置は、シートに配置された成果物の位置に関する情報を含むレイ
アウト情報に基づいて、前記加工ジョブを生成する、ことを特徴とするものである。
【0007】
請求項2記載の発明は、請求項1記載のシート加工システムにおいて、前記加工ジョブには、シートの大きさおよび種類、成果物の大きさおよびシート上における配置、シートに施す加工の位置、種類、数および寸法の情報が含まれる、ことを特徴とするものである。
【0008】
請求項3記載の発明は、請求項1記載のシート加工システムにおいて、前記シート区分け装置は載置部を有し、前記載置部は、前記単票用紙の用紙搬送幅方向の左右端縁を規制するサイドガイド、を備えている、ことを特徴とするものである。
【0009】
請求項4記載の発明は、請求項3記載のシート加工システムにおいて、前記第1加工装置において前記シートを複数の前記中間シートに分割する場合、前記加工ジョブ生成装置により、前記第2加工装置から排出される成果物が、前記載置部の区分け位置に対して同じ区分け位置に排出されるように、前記載置部において区分けされる区画毎の成果物の種類に基づき、前記レイアウト情報を作成すると共に、前記レイアウト情報に基づき、ガイド位置制御手段により前記サイドガイドの位置が調整される、ことを特徴とするものである。
【0010】
請求項5記載の発明は、請求項4記載のシート加工システムにおいて、前記レイアウト情報は、成果物の加工時において、前記複数の中間シート相互間で、前記第2加工装置における裁断手段の設置位置及び、前記サイドガイドの幅方向位置を変更することなく連続して加工が行われることを前提として作成される、ことを特徴とするものである。
(【0011】以降は省略されています)
この特許をJ-PlatPat(特許庁公式サイト)で参照する
関連特許
個人
ハサミ
3か月前
個人
曲線カッター
2日前
個人
テープカッター
11か月前
個人
円弧状刃の包丁
6か月前
有限会社カルチエ
ナイフ
9か月前
個人
理美容はさみ
3か月前
株式会社サボテン
鋏
5か月前
個人
折り畳みナイフ
9か月前
コクヨ株式会社
ハサミ
10か月前
個人
剃刀具
11か月前
個人
2wayコーナーパンチ
7か月前
株式会社文創
切創抑制器具
10か月前
株式会社和田機械
栗切り機の刃物
1か月前
株式会社フタミ
表面処理装置
5か月前
個人
自動曲機とそれに使用する刃物
10日前
やおき工業株式会社
鋏
3か月前
デュプロ精工株式会社
加工装置
2か月前
第一精工株式会社
ナイフ
11か月前
トヨタ自動車株式会社
切断装置
8か月前
大創株式会社
打抜き部受支装置
10か月前
株式会社日本キャリア工業
食料切断装置
3か月前
株式会社日本キャリア工業
食料切断装置
3か月前
株式会社日本キャリア工業
食料切断装置
3か月前
株式会社日本キャリア工業
食料切断装置
4か月前
株式会社日本キャリア工業
食料切断装置
4か月前
株式会社日本キャリア工業
食料切断装置
4か月前
独立行政法人 国立印刷局
打ち抜き装置
1か月前
船井電機株式会社
電動器具
2か月前
株式会社日本キャリア工業
食料切断装置
8か月前
デュプロ精工株式会社
用紙積載装置
7か月前
鈴茂器工株式会社
棒状食材切断装置
7か月前
本田技研工業株式会社
切断装置
6日前
近畿刃物工業株式会社
切断加工用刃物
4か月前
近畿刃物工業株式会社
切断加工用刃物
3か月前
グンゼ株式会社
切断方法及び切断装置
11か月前
株式会社アストラ
果菜の分割裁断装置
11か月前
続きを見る
他の特許を見る