TOP
|
特許
|
意匠
|
商標
特許ウォッチ
Twitter
他の特許を見る
公開番号
2025071678
公報種別
公開特許公報(A)
公開日
2025-05-08
出願番号
2023182057
出願日
2023-10-23
発明の名称
鋏
出願人
株式会社サボテン
代理人
個人
主分類
B26B
13/20 20060101AFI20250428BHJP(切断手工具;切断;切断機)
要約
【課題】柄体に配置された磁石の磁力により開動作や閉動作を補助する鋏について、磁石を簡易な構成で交換が容易に行える鋏を提供することを目的とする。
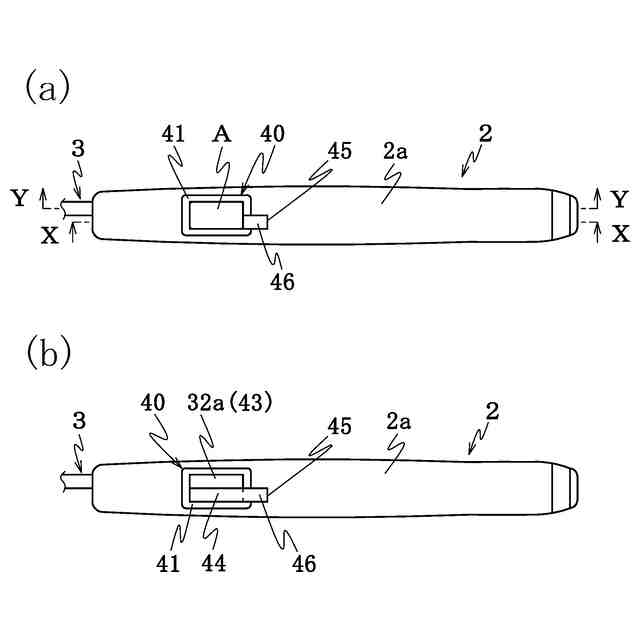
【解決手段】本発明にかかる鋏は、一対の柄体2、2と、柄体2、2に挿入固定された一対の刃体3、3と、刃体3、3を交差位置で回動可能に軸支された鋏であって、柄体2、2を閉じた閉状態で各々対向する位置に磁石を収容する磁石収容部を設け、柄体2、2に開口して磁石収容部に連通する案内口45、45を有することを特徴とする鋏。
【選択図】図2
特許請求の範囲
【請求項1】
一対の柄体と、前記柄体に挿入固定された一対の刃体と、前記刃体を交差位置で回動可能に軸支された鋏であって、
前記柄体を閉じた閉状態で各々対向する位置に磁石を収容する磁石収容部を設け、前記柄体に開口して前記磁石収容部に連通する案内口を有することを特徴とする鋏。
続きを表示(約 240 文字)
【請求項2】
磁石収容部は、その内部に磁石を吸着して収容保持する吸着部と空洞部分とを有し、前記空洞部分に案内口と連通する連通路を有することを特徴とする請求項1に記載の鋏。
【請求項3】
刃体は、切断可能な刃部と柄体に挿入される柄体挿入部とを有し、吸着部は前記柄体に挿入された部位が磁石収容部内に露出する刃体露出部分であることを特徴とする請求項2に記載の鋏。
【請求項4】
磁石収容部の周囲を立設した突出縁を有することを特徴とする請求項3に記載の鋏。
発明の詳細な説明
【技術分野】
【0001】
本発明は磁石を用いた鋏に関する発明である。
続きを表示(約 1,300 文字)
【0002】
鋏を用いて切断対象物の切断を行う場合、鋏の柄体の指掛孔に指を掛け、鋏の刃体を開く方向に力を加えると鋏が開放し、切断対象物に鋏の刃体を当接し、鋏の刃体を閉じる方向に指の力を加える。鋏の切断動作には力を要するため、採果用に用いる農業従事者など何度も切断を繰り返す場合に負担になっていた。
【0003】
上記の理由から負担を軽減するために磁力を利用した鋏が提案されていた。特許文献1に記載の先行技術は、磁石の吸着力や反発力で負担軽減をするものであり、磁石の着脱についても開示されている。しかし、特許文献1では磁石の凸部をケースの凹部に係合することで磁石をケースに取り付けることができ、磁石をケースの開口部に引き出すことで、磁石とケースの係合を解除し、取り外すもので、係合解除が必ずしも簡易なものではなかった。すなわち、磁石をケースに凹凸で係合されている磁石を取り外すことを前提としており、容易に磁石の取り外しを行えるものではなかった。特に、農業従事者のなかには磁石の反発力により鋏が開動作を行うものが好まれているが、自らの好みに応じた反発力とするために磁石を容易に取り換えることが求められている。
【先行技術文献】
【特許文献】
【0004】
特許第5420468号公報
【発明の概要】
【0005】
そこで、本発明は上記特許文献1の発明の問題点を鑑み、柄体に配置された磁石の磁力により開動作や閉動作を補助する鋏について、磁石を簡易な構成で交換が容易に行える磁石付き鋏を提供することを目的とする。
【課題を解決するための手段】
【0006】
そこで、本発明にかかる鋏は、一対の柄体と、前記柄体に挿入固定された一対の刃体と、前記刃体を交差位置で回動可能に軸支された鋏であって、前記柄体を閉じた閉状態で各々対向する位置に磁石を収容する磁石収容部を設け、前記柄体に開口して前記磁石収容部に連通する案内口を有することを特徴とするものである。
【0007】
また、磁石収容部は、その内部に磁石を吸着して収容保持する吸着部と空洞部分とを有し、前記空洞部分に案内口と連通する連通路を有することを特徴とすることが好ましい。
【0008】
また、刃体は、切断可能な刃部と柄体に挿入される柄体挿入部とを有し、吸着部は前記柄体に挿入された部位が磁石収容部内に露出する刃体露出部分であることを特徴とすることが好ましい。
【0009】
また、磁石収容部の周囲を立設した突出縁を有することを特徴とすることが好ましい。
【発明の効果】
【0010】
請求項1に記載の発明により、閉状態で各々対向する位置に磁石収容部を設けることで、磁石の反発力により鋏の開動作を補助することが可能となり、磁着する作用を利用して閉動作を補助することも可能になる。この誘導作用を適宜変化させたり、磁力の強さを好みのものに変更するために磁石収容部に連通する案内口に千枚通し等の棒状器具を挿入することで、磁石を容易に取り外して交換することが可能となる。
(【0011】以降は省略されています)
この特許をJ-PlatPat(特許庁公式サイト)で参照する
関連特許
個人
ハサミ
3か月前
個人
曲線カッター
2日前
個人
テープカッター
11か月前
個人
円弧状刃の包丁
6か月前
有限会社カルチエ
ナイフ
9か月前
個人
理美容はさみ
3か月前
株式会社サボテン
鋏
5か月前
個人
折り畳みナイフ
9か月前
コクヨ株式会社
ハサミ
10か月前
個人
剃刀具
11か月前
個人
2wayコーナーパンチ
7か月前
株式会社文創
切創抑制器具
10か月前
株式会社和田機械
栗切り機の刃物
1か月前
株式会社フタミ
表面処理装置
5か月前
個人
自動曲機とそれに使用する刃物
10日前
やおき工業株式会社
鋏
3か月前
デュプロ精工株式会社
加工装置
2か月前
第一精工株式会社
ナイフ
11か月前
トヨタ自動車株式会社
切断装置
8か月前
大創株式会社
打抜き部受支装置
10か月前
株式会社日本キャリア工業
食料切断装置
3か月前
株式会社日本キャリア工業
食料切断装置
3か月前
株式会社日本キャリア工業
食料切断装置
3か月前
株式会社日本キャリア工業
食料切断装置
4か月前
株式会社日本キャリア工業
食料切断装置
4か月前
株式会社日本キャリア工業
食料切断装置
4か月前
独立行政法人 国立印刷局
打ち抜き装置
1か月前
船井電機株式会社
電動器具
2か月前
株式会社日本キャリア工業
食料切断装置
8か月前
デュプロ精工株式会社
用紙積載装置
7か月前
鈴茂器工株式会社
棒状食材切断装置
7か月前
本田技研工業株式会社
切断装置
6日前
近畿刃物工業株式会社
切断加工用刃物
4か月前
近畿刃物工業株式会社
切断加工用刃物
3か月前
グンゼ株式会社
切断方法及び切断装置
11か月前
株式会社アストラ
果菜の分割裁断装置
11か月前
続きを見る
他の特許を見る