TOP
|
特許
|
意匠
|
商標
特許ウォッチ
Twitter
他の特許を見る
10個以上の画像は省略されています。
公開番号
2025017300
公報種別
公開特許公報(A)
公開日
2025-02-05
出願番号
2024013535
出願日
2024-01-31
発明の名称
食料切断装置
出願人
株式会社日本キャリア工業
代理人
主分類
B26D
3/28 20060101AFI20250129BHJP(切断手工具;切断;切断機)
要約
【課題】食料片の集合体の重量のばらつきを少なくすると共に、各集合体における食料片の厚さを揃えることのできる食料切断装置を実現すること。
【解決手段】塊状の食料を送る複数列の送り装置と切断刃とを備え、食料の先端部を送り装置から設定量ずつ送り出す毎に切断位置で切断し、設定量に略等しい厚さの食料片を切り出す。各列の食料の断面プロファイルを測定するセンサーを、送り装置の送り方向中間部上方に配置し、このセンサーによって順次測定された断面プロファイルを、各列の食料毎のプロファイル情報として格納する。格納されたプロファイル情報と食料の密度情報から、設定重量に対応した体積とするために必要な各列の食料の送り方向での第1寸法と、この第1寸法を複数に略等分割した第2寸法とを算出する。送り装置による各列の食料の送り出し量を第2寸法に略一致するように自動的に調整する。
【選択図】図19
特許請求の範囲
【請求項1】
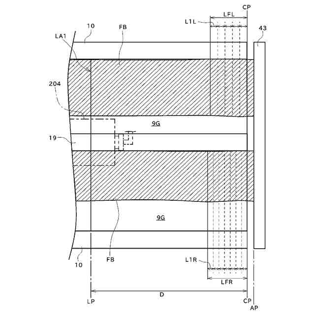
塊状の食料(FB)を送る送り装置(9)を複数列に配置し、この送り装置(9)の送り方向終端部またはこの付近に切断刃(49)による切断位置(CP)を設定し、複数列で送られる食料(FB)の先端部を各送り装置(9)から設定量ずつ送り出す毎に、この食料(FB)の先端部を切断位置(CP)で切断し、前記設定量に略等しい厚さの食料片(fb)を切り出すように構成した食料切断装置であって、前記送り装置(9)によって送られる各列の食料(FB)の断面プロファイルを、単列毎に、または複数列毎に測定するセンサー(204)を、前記送り装置(9)の送り方向中間部上方に配置し、前記センサー(204)によって順次測定される食料(FB)の断面プロファイルを、各列の食料(FB)毎にプロファイル情報として格納し、この格納されたプロファイル情報と食料(FB)の密度情報から、設定重量に対応した体積とするために必要な食料(FB)の送り方向での第1寸法(LFL,LFR)と、この第1寸法(LFL,LFR)を複数に略等分割した第2寸法(L1L,L1R)とを各列毎に算出し、前記送り装置(9)による各列の食料(FB)の送り出し量を前記第2寸法(L1L,L1R)に略一致するように自動的に調整する制御装置(300)を備えたことを特徴とする食料切断装置。
続きを表示(約 1,900 文字)
【請求項2】
前記送り装置(9)による各列の食料(FB)の送り出し量を、前記第1寸法(LFL,LFR)に略一致するように自動的に調整する状態と、前記第2寸法(L1L,L1R)に略一致するように自動的に調整する状態とに切換可能に構成した請求項1に記載の食料切断装置。
【請求項3】
前記送り装置(9)から送り出された各列の食料(FB)の先端部を当接位置(AP)で当接させて位置決め可能とする位置決め部材(43)を設け、前記当接位置(AP)を、前記切断位置(CP)から送り方向下流側の方向へ間隔をおいた位置に設定し、この切断位置(CP)と当接位置(AP)との間隔を、各列における第2寸法(L1L,L1R)に基づいて決定された間隔と略一致するように、前記位置決め部材(43)の位置を自動的に調整する構成とした請求項1に記載の食料切断装置。
【請求項4】
前記切断位置(CP)と当接位置(AP)との間隔を、各列における第2寸法(L1L,L1R)の平均値に略一致するように、前記位置決め部材(43)の位置を自動的に調整する構成とした請求項3に記載の食料切断装置。
【請求項5】
前記切断位置(CP)と当接位置(AP)との間隔を、各列における第2寸法(L1L,L1R)のうちの最大値に略一致するように、前記位置決め部材(43)の位置を自動的に調整する構成とした請求項3に記載の食料切断装置。
【請求項6】
前記切断位置(CP)と当接位置(AP)との間隔を、各列における第2寸法(L1L,L1R)のうちの最小値に略一致するように、前記位置決め部材(43)の位置を自動的に調整する構成とした請求項3に記載の食料切断装置。
【請求項7】
前記切断位置(CP)と当接位置(AP)との間隔を、各列における第2寸法(L1L,L1R)の平均値に略一致するように、前記位置決め部材(43)の位置を自動的に調整する状態と、前記切断位置(CP)と当接位置(AP)との間隔を、各列における第2寸法(L1L,L1R)のうちの最大値に略一致するように、前記位置決め部材(43)の位置を自動的に調整する状態と、前記切断位置(CP)と当接位置(AP)との間隔を、各列における第2寸法(L1L,L1R)のうちの最小値に略一致するように、前記位置決め部材(43)の位置を自動的に調整する状態とに切り換え可能に構成した請求項3に記載の食料切断装置。
【請求項8】
前記各送り装置(9)における任意の位置へ食料(FB)を供給し、所定の第1操作要素(312)を操作したときに、各列の食料(FB)の先端部が切断位置(CP)に到達するまで各列の送り装置(9)が自動的に送り作動してから停止し、この後、第2操作要素(313)の操作によって各列の送り装置(9)の終端部と切断刃(49)との相対的な位置変更が開始され、食料片(fb)が切り出されるように構成した請求項1に記載の食料切断装置。
【請求項9】
前記第1操作要素(312)の操作によって各列の送り装置(9)が自動的に送り作動している間に、前記センサー(204)によって測定された各列の食料(FB)の断面プロファイルを第1プロファイル情報として格納し、前記各列の送り装置(9)の自動的な送り作動が停止した後、第2操作要素(313)の操作によって前記第1プロファイル情報に基づく食料片(fb)の切り出しが開始され、この食料片(fb)の切り出し中に、送られている各列の食料(FB)の断面プロファイルを前記センサー(204)によって順次測定し、この測定された断面プロファイルを、前記第1プロファイル情報に後続する第2プロファイル情報として順次格納していき、前記第1プロファイル情報に基づく食料片(fb)の切り出しが完了した時点で、前記第2プロファイル情報に基づく食料片(fb)の切り出しへ移行するように構成した請求項8に記載の食料切断装置。
【請求項10】
前記第2寸法(L1L,L1R)ごとに切断された食料片(fb)を、少なくともその一部が互いに重なるように送り方向にずらしながら並べて、前記設定重量を有した食料片(fb)の集合体(BG)を列毎に形成するように構成し、前記センサー(204)によって測定された各列の食料(FB)の断面プロファイルに基づいて、食料片(fb)を並べるピッチ(K)を自動的に変更し、各集合体(BG)の長さを設定された長さ(E)に形成する構成とした請求項1に記載の食料切断装置。
(【請求項11】以降は省略されています)
発明の詳細な説明
【技術分野】
【0001】
本発明は、塊状の食料を切断する食料切断装置に関するものである。
続きを表示(約 2,400 文字)
【背景技術】
【0002】
従来の塊状の食料を切断する装置として、例えば、生の部分肉等の塊状の食品を順次薄く切断して食料片とし、これら複数の食料片を、その一部が互いに重なるように並べて食料片の集合体を形成するものがある。
このように複数の食料片を一つの集合体とすることで、トレーに容易に収容でき、加工工場での作業能率が向上する。また、容器から食料片を一枚ずつ分離しながら取り出すことが容易となり、調理における利便性も向上する。
【0003】
しかして、集合体を収容したトレーはラップによって包装され、食料の種類や重量等を表示したラベルが貼付されて商品となり、加工工場から出荷される。
この商品が入荷したスーパー等の店先では、食料の種類や重量帯等に応じてトレーの陳列位置が区分けされている。
このため、加工工場において集合体ごとに重量を揃えておく必要があり、このために種々の切断方法および切断装置が試みられている。
【0004】
例えば特許文献1には、以下のような技術が開示されている。
すなわち、塊状の食料を切断位置へ向けて送り、送り出された食料の先端部を所定の切断位置で切断して食料片とし、この切断された食料片の数が設定数に達した時点で、この設定数の食料片の合計重量を計測する。
そして、この計測結果から、規定数の食料片としたときの合計重量を予測し、この予測した合計重量と、規定数の食料片を収容したトレーに表示する重量との差に基づいて、食料の送り出し量を増減させ、切断される食料片の厚さを自動的に調節するというものである。
【先行技術文献】
【特許文献】
【0005】
特開平11-123697号公報
【発明の概要】
【発明が解決しようとする課題】
【0006】
例えば生の部分肉等の塊状の食料は、先端部から後端部まで均一な断面形状ではなく、この断面形状は不規則に変化する。
このため、この食料を均一な厚さに切断しても、切断された食料片の重量は均一にならない。
したがって、同一数の食料片で集合体を形成した場合、各集合体の重量がばらつき、加工工場における手作業での調整を要し、作業能率が低下するような問題が生じる。
また、特許文献1に開示された技術を利用し、切断される食料片の厚さを調整した場合、同じトレーに収容された食料片の厚さがばらつき、例えば食感が均一でないなどの理由により、商品価値が低下する問題が生じうる。
【0007】
また、特許文献1に開示された技術では、食料片の切断厚さが、食料の送り出し量に依存する。
すなわち、送り出された食料の先端部を当接させて位置決めし、この位置決めされた食料の先端部を切断するものではない。
このため、切断される食料片の厚さを揃えることが困難である。
本発明は、上述のような従来技術の課題を解決し、切断された食料片の集合体の重量のばらつきを少なくすると共に、各集合体における食料片の厚さを揃えることのできる食料切断方法および食料切断装置を実現することを目的とする。
【課題を解決するための手段】
【0008】
本発明は、上述の課題を解決するために、以下の技術的手段を講じる。
すなわち、請求項1に記載の発明は、塊状の食料(FB)を送る送り装置(9)を複数列に配置し、この送り装置(9)の送り方向終端部またはこの付近に切断刃(49)による切断位置(CP)を設定し、複数列で送られる食料(FB)の先端部を各送り装置(9)から設定量ずつ送り出す毎に、この食料(FB)の先端部を切断位置(CP)で切断し、前記設定量に略等しい厚さの食料片(fb)を切り出すように構成した食料切断装置であって、前記送り装置(9)によって送られる各列の食料(FB)の断面プロファイルを、単列毎に、または複数列毎に測定するセンサー(204)を、前記送り装置(9)の送り方向中間部上方に配置し、前記センサー(204)によって順次測定される食料(FB)の断面プロファイルを、各列の食料(FB)毎にプロファイル情報として格納し、この格納されたプロファイル情報と食料(FB)の密度情報から、設定重量に対応した体積とするために必要な食料(FB)の送り方向での第1寸法(LFL,LFR)と、この第1寸法(LFL,LFR)を複数に略等分割した第2寸法(L1L,L1R)とを各列毎に算出し、前記送り装置(9)による各列の食料(FB)の送り出し量を前記第2寸法(L1L,L1R)に略一致するように自動的に調整する制御装置(300)を備えたことを特徴とする食料切断装置とする。
【0009】
請求項2に記載の発明は、前記送り装置(9)による各列の食料(FB)の送り出し量を、前記第1寸法(LFL,LFR)に略一致するように自動的に調整する状態と、前記第2寸法(L1L,L1R)に略一致するように自動的に調整する状態とに切換可能に構成した請求項1に記載の食料切断装置とする。
【0010】
請求項3に記載の発明は、前記送り装置(9)から送り出された各列の食料(FB)の先端部を当接位置(AP)で当接させて位置決め可能とする位置決め部材(43)を設け、前記当接位置(AP)を、前記切断位置(CP)から送り方向下流側の方向へ間隔をおいた位置に設定し、この切断位置(CP)と当接位置(AP)との間隔を、各列における第2寸法(L1L,L1R)に基づいて決定された間隔と略一致するように、前記位置決め部材(43)の位置を自動的に調整する構成とした請求項1に記載の食料切断装置とする。
(【0011】以降は省略されています)
この特許をJ-PlatPat(特許庁公式サイト)で参照する
関連特許
株式会社日本キャリア工業
移載システム及び移載方法
6日前
個人
ハサミ
3か月前
個人
テープカッター
11か月前
個人
円弧状刃の包丁
6か月前
有限会社カルチエ
ナイフ
9か月前
個人
理美容はさみ
2か月前
株式会社サボテン
鋏
5か月前
個人
折り畳みナイフ
9か月前
コクヨ株式会社
ハサミ
9か月前
個人
2wayコーナーパンチ
7か月前
個人
剃刀具
11か月前
株式会社文創
切創抑制器具
9か月前
株式会社和田機械
栗切り機の刃物
1か月前
やおき工業株式会社
鋏
2か月前
個人
自動曲機とそれに使用する刃物
6日前
株式会社フタミ
表面処理装置
5か月前
トヨタ自動車株式会社
切断装置
8か月前
大創株式会社
打抜き部受支装置
10か月前
デュプロ精工株式会社
加工装置
2か月前
第一精工株式会社
ナイフ
11か月前
株式会社日本キャリア工業
食料切断装置
8か月前
独立行政法人 国立印刷局
打ち抜き装置
1か月前
株式会社日本キャリア工業
食料切断装置
3か月前
株式会社日本キャリア工業
食料切断装置
3か月前
株式会社日本キャリア工業
食料切断装置
3か月前
株式会社日本キャリア工業
食料切断装置
3か月前
船井電機株式会社
電動器具
2か月前
株式会社日本キャリア工業
食料切断装置
3か月前
株式会社日本キャリア工業
食料切断装置
4か月前
鈴茂器工株式会社
棒状食材切断装置
7か月前
デュプロ精工株式会社
用紙積載装置
7か月前
近畿刃物工業株式会社
切断加工用刃物
4か月前
近畿刃物工業株式会社
切断加工用刃物
3か月前
本田技研工業株式会社
切断装置
2日前
THESTANDBYME合同会社
鋏
3か月前
株式会社アストラ
果菜の分割裁断装置
11か月前
続きを見る
他の特許を見る