TOP
|
特許
|
意匠
|
商標
特許ウォッチ
Twitter
他の特許を見る
公開番号
2025007575
公報種別
公開特許公報(A)
公開日
2025-01-17
出願番号
2023109065
出願日
2023-07-03
発明の名称
切断装置
出願人
トヨタ自動車株式会社
代理人
個人
主分類
B26D
1/40 20060101AFI20250109BHJP(切断手工具;切断;切断機)
要約
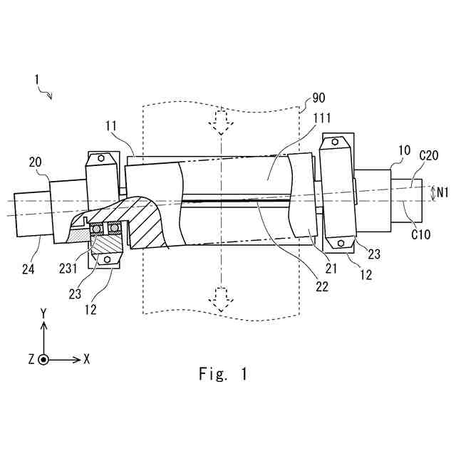
【課題】装置の大型化を抑制しつつ好適に処理対象を切断できる切断装置を提供する。
【解決手段】切断装置1において、アンビルローラ10は、帯状の薄板材である処理対象の搬送方向に対して垂直な回転軸に沿って回転可能であって、水平方向に延伸して、処理対象の下面を支持する円筒状の支持面を有する。ローラカッター20は、アンビルローラ10の上方において水平方向に延伸しアンビルローラ10に連動して回転するカッター軸21と、カッター軸21に立設しており回転しながら処理対象を上面側から切断する切刃22と、を有する。ローラカッター20の回転軸は、鉛直方向から見た場合に、アンビルローラ10の回転軸に対して傾斜している。切刃22は、鉛直方向から見た場合に、処理対象に接触する位置においてアンビルローラ10の回転軸と平行になるようにカッター軸に立設している。
【選択図】図1
特許請求の範囲
【請求項1】
帯状の薄板材である処理対象の搬送方向に対して垂直な回転軸に沿って回転可能であって、水平方向に延伸して、前記処理対象の下面を支持する円筒状の支持面を有するアンビルローラと、
前記アンビルローラの上方において水平方向に延伸し前記アンビルローラに連動して回転するカッター軸と、前記カッター軸に立設しており回転しながら前記処理対象を上面側から切断する切刃と、を有するローラカッターと、を備え、
前記ローラカッターの回転軸は、鉛直方向から見た場合に、前記アンビルローラの回転軸に対して傾斜しており、
前記切刃は、鉛直方向から見た場合に、前記処理対象に接触する位置において前記アンビルローラの回転軸と平行になるように前記カッター軸に立設している、
切断装置。
続きを表示(約 470 文字)
【請求項2】
前記ローラカッターは、前記カッター軸の延伸方向の一方側の端部における前記切刃の刃先が、他方側の端部における前記切刃の刃先より先に前記処理対象に接触する、
請求項1に記載の切断装置。
【請求項3】
前記アンビルローラは、前記処理対象の切断部の近傍において前記処理対象を吸引するための吸引孔を有している、
請求項1に記載の切断装置。
【請求項4】
前記アンビルローラは、前記カッター軸の一端側から他端側へ向かって所定の回転角の範囲において前記処理対象を逐次連続して切断した前記切刃を受け入れる可撓性および復元性を有する受け部または前記切刃が入り込む溝部のいずれかを有している、
請求項1に記載の切断装置。
【請求項5】
前記ローラカッターは、前記切刃の近傍かつ前記カッター軸の延伸方向の少なくとも端部において前記切刃が前記処理対象に接触する際に前記処理対象を前記支持面に押圧可能な弾性体を有する、
請求項1~4のいずれか一項に記載の切断装置。
発明の詳細な説明
【技術分野】
【0001】
本発明は切断装置に関する。
続きを表示(約 1,300 文字)
【背景技術】
【0002】
金属材料等から構成される帯状ないしロール状の薄板から所定形状の薄帯片を製造する技術が存在する。
【0003】
例えば、ロータリーダイカッターを用いて、切刃と溝を含むダイロールとアンビルロールの間で薄帯材を挟圧しながら、切刃を溝に隙間を有した状態で篏合させて薄帯材を切断し、薄帯片を打ち抜く技術が開示されている(特許文献1)。
【先行技術文献】
【特許文献】
【0004】
特開2023-032897号公報
【発明の概要】
【発明が解決しようとする課題】
【0005】
上述の技術を用いて幅広の薄板材を搬送方向に対し直角なラインで切断する場合、切断するための荷重(切断荷重)は、薄板材の幅に応じて大きくなる。一方、切断荷重が大きくなると、切刃を薄板材が押し切るための切断力や、切刃を支持する構造体の剛性が不足する可能性がある。しかし、この現象を抑制するために、アンビルローラとローラカッターを大径化すると、設備の大型化およびコストの増大につながり好ましくない。
【0006】
本開示はこのような課題を解決するために成されたものであって、装置の大型化を抑制しつつ好適に処理対象を切断できる切断装置を提供することを目的としている。
【課題を解決するための手段】
【0007】
本開示にかかる切断装置は、アンビルローラとローラカッターとを有している。アンビルローラは、帯状の薄板材である処理対象の搬送方向に対して垂直な回転軸に沿って回転可能であって、水平方向に延伸して、処理対象の下面を支持する円筒状の支持面を有する。ローラカッターは、アンビルローラの上方において水平方向に延伸しアンビルローラに連動して回転するカッター軸と、カッター軸に立設しており回転しながら処理対象を上面側から切断する切刃と、を有する。ローラカッターの回転軸は、鉛直方向から見た場合に、アンビルローラの回転軸に対して傾斜している。切刃は、鉛直方向から見た場合に、処理対象に接触する位置においてアンビルローラの回転軸と平行になるようにカッター軸に立設している。
【0008】
上記構成により、ローラカッターが有する切刃は、刃先が処理対象に接触するタイミングを刃先の位置に応じてずらすことができる。
【発明の効果】
【0009】
本開示によれば、装置の大型化を抑制しつつ好適に処理対象を切断できる切断装置を提供できる。
【図面の簡単な説明】
【0010】
実施の形態にかかる切断装置の上面図である。
実施の形態にかかる切断装置の正面図である。
実施の形態にかかる切断装置の側面方向の断面図である。
切断装置の切断動作を説明するための図である。
切断装置の切刃の形態のバリエーションを示す図である。
切断装置の押さえ部の形態のバリエーションを示す図である。
【発明を実施するための形態】
(【0011】以降は省略されています)
この特許をJ-PlatPat(特許庁公式サイト)で参照する
関連特許
トヨタ自動車株式会社
電池
今日
トヨタ自動車株式会社
電池
9日前
トヨタ自動車株式会社
車両
5日前
トヨタ自動車株式会社
電池
1日前
トヨタ自動車株式会社
車両
5日前
トヨタ自動車株式会社
車両
9日前
トヨタ自動車株式会社
サーバ
13日前
トヨタ自動車株式会社
ロータ
7日前
トヨタ自動車株式会社
電動車
7日前
トヨタ自動車株式会社
回転子
5日前
トヨタ自動車株式会社
電解液
5日前
トヨタ自動車株式会社
電動車
5日前
トヨタ自動車株式会社
電動車
5日前
トヨタ自動車株式会社
電動車
1日前
トヨタ自動車株式会社
電動車
5日前
トヨタ自動車株式会社
ケース
今日
トヨタ自動車株式会社
切断装置
5日前
トヨタ自動車株式会社
電源装置
5日前
トヨタ自動車株式会社
蓄電セル
5日前
トヨタ自動車株式会社
冷却構造
12日前
トヨタ自動車株式会社
蓄電装置
5日前
トヨタ自動車株式会社
駆動装置
5日前
トヨタ自動車株式会社
制御装置
5日前
トヨタ自動車株式会社
育苗装置
6日前
トヨタ自動車株式会社
蓄電装置
6日前
トヨタ自動車株式会社
蓄電装置
9日前
トヨタ自動車株式会社
蓄電装置
9日前
トヨタ自動車株式会社
検査装置
9日前
トヨタ自動車株式会社
制御装置
9日前
トヨタ自動車株式会社
蓄電装置
9日前
トヨタ自動車株式会社
制御装置
9日前
トヨタ自動車株式会社
蓄電装置
9日前
トヨタ自動車株式会社
制御装置
9日前
トヨタ自動車株式会社
蓄電装置
6日前
トヨタ自動車株式会社
蓄電装置
9日前
トヨタ自動車株式会社
二次電池
9日前
続きを見る
他の特許を見る