TOP
|
特許
|
意匠
|
商標
特許ウォッチ
Twitter
他の特許を見る
公開番号
2025021366
公報種別
公開特許公報(A)
公開日
2025-02-13
出願番号
2023133163
出願日
2023-07-31
発明の名称
2wayコーナーパンチ
出願人
個人
代理人
主分類
B26F
1/32 20060101AFI20250205BHJP(切断手工具;切断;切断機)
要約
【課題】 チャック袋の角を丸くするカットと、開口部に段差をつけるカットが1台ででき、収納に困らないコーナーパンチを提供する。
【解決手段】 2種類のカット面を持つ筒状の可動刃1と、可動刃1が貫通することでチャック袋をカットできる孔状の固定刃17と、チャック袋を2方向から正しく載置するためのガイド14と、本体をくっつけて保管するための磁石30を有するコーナーパンチで、チャック袋を挿し入れる方向によって、角を丸くするカットと、開口部に段差をつけるカットの、2つの機能が使い分けられる。
【選択図】図2
特許請求の範囲
【請求項1】
2種類のカット面を持つ可動刃(1)と、可動刃(1)が密に貫通する孔を持つ固定刃(17)と、チャック袋(32)を正しく載置するためのガイド(14)と、本体をくっつけて保管するための磁石(30)とを有し、チャック袋(32)を挿し入れる方向によって2種類のカットを使い分けられる2wayコーナーパンチ。
続きを表示(約 330 文字)
【請求項2】
前記可動刃(1)は、弾性材の付勢力によって、孔状の前記固定刃(17)の孔の内側を上下動してカットする筒状の刃であり、チャック袋(32)のコーナー部(33)を丸くカットできるコーナー部用刃a(2)と、開口部(34)に段差をつけるためのカットができる開口部用刃a(3)の2面を持つ、請求項1に記載の2wayコーナーパンチ。
【請求項3】
前記ガイド(14)は、チャック袋(32)のコーナー部(33)を挿し入れた時に、角に合わせてセットするコーナー部用ガイド(16)と、開口部(34)を挿し入れた時に、縁に合わせてセットする開口部用ガイド(15)の2面を持って形成されている、請求項1又は2に記載の2wayコーナーパンチ。
発明の詳細な説明
【技術分野】
【0001】
本発明は、紙の角を丸くカットするコーナーパンチに関する。
続きを表示(約 1,600 文字)
【背景技術】
【0002】
従来、文房具として紙の角を丸くカットする場合、コーナーパンチが使用されているが、書類や写真のような紙製品に利用されるのが主であり、角を丸くカットするという単一の目的で使われている。
【先行技術文献】
【特許文献】
【0003】
特開2005-074548号広報
【発明の概要】
【発明が解決しようとする課題】
【0004】
家庭内において、紙製品以外に角を丸くカットしたい物としては、食品やサプリメントの外装として使われているチャック袋がある。
保存用であるチャック袋は、素材や厚みによっては角が鋭利になり、手を傷つけることがある。
また、チャック袋は、最初に外装を開封すると、次からはチャックを開閉することになるが、チャック部分は袋本体より硬いため、開口部の表面と裏面の縁に段差がないと、ぴったり重なって、とても開けづらくなる。
【0005】
これらの不便を、コーナーパンチで角を丸くカットした上、開口部にハサミで切り込みを入れるのは手間がかかり、複数の道具を用いるのは邪魔になる。また、調理中には、道具を収納場所から出し入れするのも煩わしい。
【0006】
上記のことから、本発明が解決しようとする課題は、1台でチャック袋の角を丸くカットする機能の他に、開口部の重なった部分に段差をつけて、開けやすくするためのカットができる機能を持ち、収納に困らないコーナーパンチを提供することにある。
【課題を解決するための手段】
【0007】
本発明の2wayコーナーパンチは、2種類のカット面を持つ筒状の可動刃1と、可動刃1が密に貫通する孔を持つ固定刃17と、チャック袋32を正しく載置するためのガイド14と、本体を金属性のものにくっつけて保管するための磁石30とを有しており、チャック袋32を挿し入れる方向によって、この一対の可動刃1と固定刃17で、コーナー部33を丸くするカットと、開口部34に段差をつけるカットの2種類のカットを使い分けられる。
【発明の効果】
【0008】
本発明の2wayコーナーパンチは、一対の可動刃1と固定刃17に、チャック袋32のコーナー部33を丸くカットできる面と、開口部34の重なった部分に段差をつけて開けやすくするための、緩やかなカーブ状の凹形のカットができる面があるので、カットする部位に合わせた面を持つガイド14に合わせて挿入することで、1台で2種類のカットが手間なくでき、何度も使用するチャック袋に対して、鋭利な角で手を怪我したり、開けづらいという不快感をなくすことができる。
さらに、2つの機能を一対の刃に持たせているのでコンパクトに設計でき、また、本体裏面の磁石30を冷蔵庫のような金属部分に貼り付けることで、収納の手間を省くことができる。
【図面の簡単な説明】
【0009】
本発明を示す斜視図である。
図1の分解斜視図である。
本発明の可動刃とそのA-A線断面図である。
台座裏面の斜視図である。
【発明を実施するための形態】
【0010】
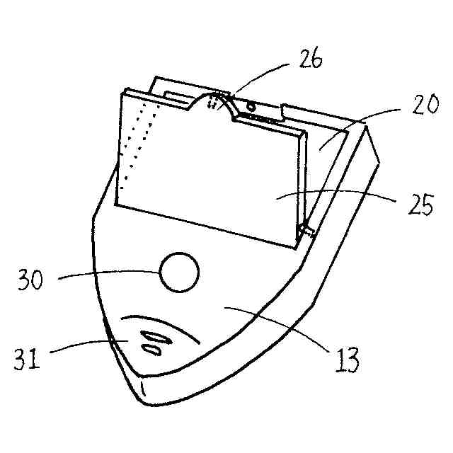
図1は本発明の実施例を示す斜視図であり、図2は図1の分解斜視図である。
図1、図2に示すように、本体上部のカバー21はハート形の平面形状で、外枠があり、枠の幅は後部のガードのため後方に向かって広くなっている。
本実施例では、女性が片手で軽く握れるコンパクトなサイズに設計されることを想定しており、冷蔵庫などの金属部分に貼れるように本体裏面に磁石30が付いている。その際常に目につくことになっても、道具っぽくなくアクセントになるようにカバー21をハート形にしているが、他に、水滴形や丸形、それ以外の形への変更も可能である。
(【0011】以降は省略されています)
この特許をJ-PlatPat(特許庁公式サイト)で参照する
関連特許
個人
ハサミ
3か月前
個人
円弧状刃の包丁
6か月前
個人
理美容はさみ
2か月前
株式会社サボテン
鋏
5か月前
株式会社和田機械
栗切り機の刃物
1か月前
やおき工業株式会社
鋏
3か月前
個人
自動曲機とそれに使用する刃物
8日前
株式会社フタミ
表面処理装置
5か月前
デュプロ精工株式会社
加工装置
2か月前
独立行政法人 国立印刷局
打ち抜き装置
1か月前
株式会社日本キャリア工業
食料切断装置
4か月前
株式会社日本キャリア工業
食料切断装置
3か月前
株式会社日本キャリア工業
食料切断装置
3か月前
株式会社日本キャリア工業
食料切断装置
3か月前
株式会社日本キャリア工業
食料切断装置
3か月前
株式会社日本キャリア工業
食料切断装置
3か月前
船井電機株式会社
電動器具
2か月前
鈴茂器工株式会社
棒状食材切断装置
7か月前
デュプロ精工株式会社
用紙積載装置
7か月前
THESTANDBYME合同会社
鋏
3か月前
近畿刃物工業株式会社
切断加工用刃物
4か月前
近畿刃物工業株式会社
切断加工用刃物
3か月前
近畿刃物工業株式会社
切断加工用刃物
4か月前
本田技研工業株式会社
切断装置
4日前
株式会社ホリゾン
断裁装置
6か月前
株式会社 ベアック
切断装置
8日前
日本協同企画株式会社
葉柄切断装置
7か月前
株式会社DIC
ヘアカット用レザー
7か月前
株式会社カネシゲ刃物
抜け止め防止付き刃物の鞘
6か月前
THESTANDBYME合同会社
毛すき鋏
3か月前
第一高周波工業株式会社
切込形成装置
4か月前
グラフテック株式会社
カッティングプロッタ
1か月前
株式会社島精機製作所
保護板を備えた裁断機
3か月前
株式会社前川製作所
食肉切断装置
3か月前
株式会社ミマキエンジニアリング
媒体切断装置
6か月前
大阪シーリング印刷株式会社
レーザ焼入れ方法
7か月前
続きを見る
他の特許を見る