TOP
|
特許
|
意匠
|
商標
特許ウォッチ
Twitter
他の特許を見る
公開番号
2025027398
公報種別
公開特許公報(A)
公開日
2025-02-27
出願番号
2023132175
出願日
2023-08-14
発明の名称
鉄道車両
出願人
日本製鉄株式会社
代理人
アセンド弁理士法人
主分類
B61F
5/52 20060101AFI20250219BHJP(鉄道)
要約
【課題】配管の設置作業の負担を軽減することのできる鉄道車両を提供する。
【解決手段】鉄道車両(1)は、台車(20)と、台車(20)上に支持された車体(10)と、を備える。台車(20)は、台車枠(21)と、第1配管(25)と、第2配管(26)と、を含む。第1配管(25)は、台車枠(21)の前後方向中央よりも前側に設けられた第1接続部(251)と接続され、第1接続部(251)から前方に向かって延びる。第2配管(26)は、台車枠(21)の前後方向中央よりも後側に設けられた第2接続部(261)と接続され、第2接続部(261)から後方に向かって延びる。第1接続部(251)から第2接続部(261)までの間、台車枠(21)の内部は連続している。
【選択図】図2
特許請求の範囲
【請求項1】
台車枠と、前記台車枠の前後方向中央よりも前側に設けられた第1接続部と接続され、前記第1接続部から前方に向かって延びる第1配管と、前記台車枠の前記前後方向中央よりも後側に設けられた第2接続部と接続され、前記第2接続部から後方に向かって延びる第2配管と、を含む台車と、
前記台車上に支持された車体と、を備え、
前記第1接続部から前記第2接続部までの間、前記台車枠の内部は連続している、鉄道車両。
続きを表示(約 700 文字)
【請求項2】
請求項1に記載の鉄道車両であって、
前記台車枠は、
各々が前後方向に延びる2本の側ばりと、
各々が左右方向に延び、前記2本の側ばりの両方に接合される2本の横ばりと、
前記2本の横ばりの両方に接合され、前記2本の横ばりの各々と内部同士が連続した中継管と、を含み、
前記第1接続部は、前記2本の横ばりのうち前方の横ばりに設けられ、
前記第2接続部は、前記2本の横ばりのうち後方の横ばりに設けられる、鉄道車両。
【請求項3】
請求項1に記載の鉄道車両であって、
前記台車枠は、
各々が前後方向に延びる2本の側ばりと、
左右方向に延び、前記2本の側ばりの両方に接合される横ばりと、を含み、
前記第1接続部は、前記2本の側ばりのうち一方の側ばりの前端部に設けられ、
前記第2接続部は、前記一方の側ばりの後端部に設けられ、
前記第1接続部から前記第2接続部までの間、前記一方の側ばりの内部は連続している、鉄道車両。
【請求項4】
請求項3に記載の鉄道車両であって、
前記台車は、
前記2本の側ばりのうち他方の側ばりの前端部に設けられた第3接続部と接続され、前記第3接続部から前方に向かって延びる第3配管と、
前記他方の側ばりの後端部に設けられた第4接続部と接続され、前記第4接続部から後方に向かって延びる第4配管と、をさらに含み、
前記第3接続部から前記第4接続部までの間、前記他方の側ばりの内部は連続している、鉄道車両。
発明の詳細な説明
【技術分野】
【0001】
本開示は、鉄道車両に関する。
続きを表示(約 1,400 文字)
【背景技術】
【0002】
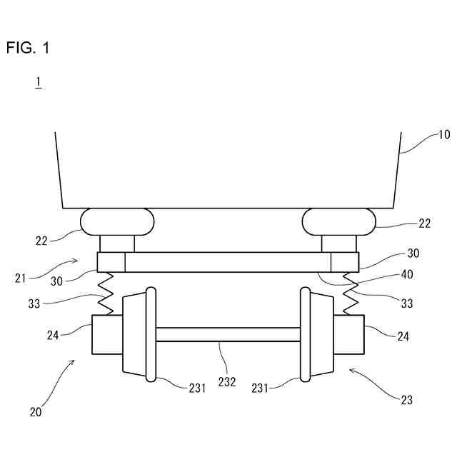
鉄道車両(以下、単に「車両」とも言う。)は、骨格として台車枠を含む台車と、車体とを備える。台車は、通常、車体の前側及び後側にそれぞれ配置されている。車体は、各台車上に配置された左右一対の空気ばねによって支持されている。一般に、複数の車両が連結されて、レール上を走行する。車両同士の連結は、連結器によって維持される。連結器は、車体の前端梁及び後端梁にそれぞれ結合されている。
【0003】
鉄道車両において、空気ばねの動力は圧縮空気である。圧縮空気は、コンプレッサで生成される。生成された圧縮空気は、空気溜めに蓄積される。空気溜め内の圧縮空気が空気ばねに供給される。コンプレッサ及び空気溜めは、例えば、車体下部の前後方向の中央に配置される。空気溜め内の圧縮空気は、車両が備える様々な機器の動力として利用される。例えば、ドア開閉、パンタグラフの昇降、連結器の動力として圧縮空気が利用される。その他に、ブレーキ等の動力として圧縮空気が利用される。
【0004】
圧縮空気を利用する機器に圧縮空気を供給するため、圧縮空気を輸送する配管が不可欠である。例えば、空気溜めと連結器とをつなぐ配管は、台車と車体との間に形成される隙間に通される。しかしながら、台車と車体との間の隙間は、台車の前後方向の中央部付近で極端に狭くなっている。空気ばね、中心ピン、牽引装置などの多くの部品が密集しているからである。台車と車体との間の狭い隙間に配管を通す作業は、作業者にとって慎重さを要する負担の大きい作業である。
【0005】
従来、そのような配管の設置作業を容易にする技術が知られている(例えば、特許文献1)。特許文献1には、台車枠内に各種配管を設置した鉄道車両の台車が開示されている。特許文献1では、台車枠は2本の側ばり及び横ばりを含む。側ばりは中空であり、側ばりの内部に各種配管が設置される。
【先行技術文献】
【特許文献】
【0006】
実開昭59-102564号公報
【発明の概要】
【発明が解決しようとする課題】
【0007】
上述した通り、台車の前後方向の中央部付近において、台車と車体との間の狭い隙間に配管を通すのは、作業者にとって負担が大きい。特許文献1に記載の技術を用いたとしても、中空の側ばりの内部に配管を設置するために、大掛かりな作業が必要となる。
【0008】
本開示の目的は、配管の設置作業の負担を軽減することのできる鉄道車両を提供することである。
【課題を解決するための手段】
【0009】
本開示に係る鉄道車両は、台車と、台車上に支持された車体と、を備える。台車は、台車枠と、第1配管と、第2配管と、を含む。第1配管は、台車枠の前後方向中央よりも前側に設けられた第1接続部と接続され、第1接続部から前方に向かって延びる。第2配管は、台車枠の前後方向中央よりも後側に設けられた第2接続部と接続され、第2接続部から後方に向かって延びる。第1接続部から第2接続部までの間、台車枠の内部は連続している。
【発明の効果】
【0010】
本開示に係る鉄道車両によれば、配管の設置作業の負担を軽減することができる。
【図面の簡単な説明】
(【0011】以降は省略されています)
この特許をJ-PlatPat(特許庁公式サイト)で参照する
関連特許
日本製鉄株式会社
剪断機
8日前
日本製鉄株式会社
ボルト
8日前
日本製鉄株式会社
床構造
8日前
日本製鉄株式会社
床構造
8日前
日本製鉄株式会社
構造部材
18日前
日本製鉄株式会社
管理装置
29日前
日本製鉄株式会社
耐火構造物
20日前
日本製鉄株式会社
リクレーマ
29日前
日本製鉄株式会社
耐火構造物
20日前
日本製鉄株式会社
耐火構造物
20日前
日本製鉄株式会社
高Ni合金板
29日前
日本製鉄株式会社
学習システム
今日
日本製鉄株式会社
転炉精錬方法
18日前
日本製鉄株式会社
高炉の操業方法
26日前
日本製鉄株式会社
高炉の冷却構造
1か月前
日本製鉄株式会社
高炉の操業方法
28日前
日本製鉄株式会社
スポット溶接継手
26日前
日本製鉄株式会社
鉄道車両用の台車
今日
日本製鉄株式会社
焼結鉱の製造方法
26日前
日本製鉄株式会社
合成梁及び床構造
18日前
日本製鉄株式会社
合成梁及び床構造
18日前
日本製鉄株式会社
鋼の連続鋳造方法
4日前
日本製鉄株式会社
焼結鉱の製造方法
18日前
日本製鉄株式会社
金属材の製造方法
4日前
日本製鉄株式会社
微細藻類の培養装置
8日前
日本製鉄株式会社
除去装置及び搬送設備
29日前
日本製鉄株式会社
計測装置及び計測方法
5日前
日本製鉄株式会社
試験体および試験方法
1か月前
日本製鉄株式会社
連続鋳造用浸漬ノズル
26日前
日本製鉄株式会社
試験体および試験方法
1か月前
日本製鉄株式会社
鋼板およびその製造方法
6日前
日本製鉄株式会社
スプリング圧接式温度計
4日前
日本製鉄株式会社
方向性電磁鋼板の製造方法
18日前
日本製鉄株式会社
極低炭素鋼の連続鋳造方法
20日前
日本製鉄株式会社
接合構造体および車体骨格
18日前
日本製鉄株式会社
壁用下地部材及び壁パネル
4日前
続きを見る
他の特許を見る