TOP
|
特許
|
意匠
|
商標
特許ウォッチ
Twitter
他の特許を見る
10個以上の画像は省略されています。
公開番号
2025036839
公報種別
公開特許公報(A)
公開日
2025-03-17
出願番号
2023143421
出願日
2023-09-05
発明の名称
断裁装置
出願人
株式会社ホリゾン
代理人
個人
,
個人
,
個人
主分類
B26D
7/26 20060101AFI20250310BHJP(切断手工具;切断;切断機)
要約
【課題】第1刃と第2刃との隙間を容易に調整して良好な断裁を行う。
【解決手段】上刃10と、所定位置に固定される下刃20と、上刃10が固定される固定部材30と、上刃10を固定部材30の固定位置に着脱可能に固定する固定機構35と、固定部材30を鉛直方向VDの非断裁位置と断裁位置との間で移動させることにより、上刃10の第1先端部10aが下刃20の第2先端部20aから鉛直方向VDに離間した非断裁状態と第1先端部10aが第2先端部20aを通過した断裁状態とを切り替える移動機構40と、を備え、固定機構35は、鉛直方向VDに直交しかつ第1先端部10aと第2先端部20aとが近接または離間する第1方向DR1において、固定位置を調整可能である断裁装置100を提供する。
【選択図】図6
特許請求の範囲
【請求項1】
用紙束を断裁する断裁装置であって、
第1刃と、
所定位置に固定される第2刃と、
前記第1刃が固定される固定部材と、
前記第1刃を前記固定部材の固定位置に着脱可能に固定する固定機構と、
前記固定部材を鉛直方向の非断裁位置と断裁位置との間で移動させることにより、前記第1刃の第1先端部が前記第2刃の第2先端部から前記鉛直方向に離間した非断裁状態と前記第1先端部が前記第2先端部を通過した断裁状態とを切り替える移動機構と、を備え、
前記固定機構は、前記鉛直方向に直交しかつ前記第1先端部と前記第2先端部とが近接または離間する第1方向において、前記固定位置を調整可能である断裁装置。
続きを表示(約 780 文字)
【請求項2】
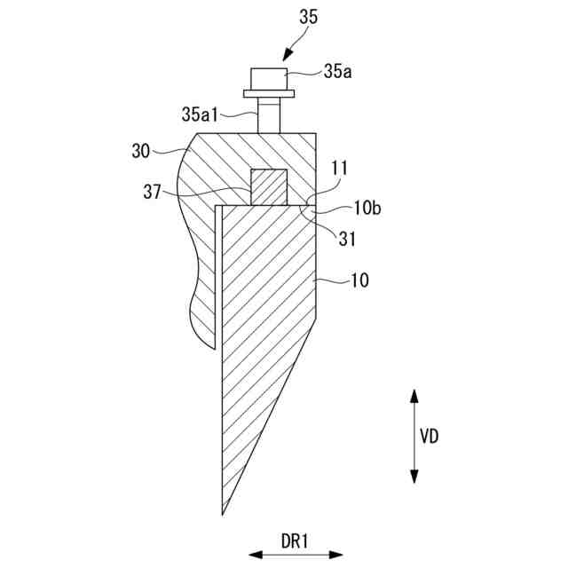
前記第1刃は、前記鉛直方向における前記第1先端部の反対側の第1基端部に形成された第1端面と、前記鉛直方向に沿って延びるように前記第1端面に形成されるとともに内周面に雌ねじが形成された締結穴と、を有し、
前記固定部材は、前記鉛直方向において前記第1端面と対向して配置される第2端面と、前記鉛直方向に沿って延びるとともに前記第1方向の一端側が開口した取付溝と、を有し、
前記固定機構は、外周面に雄ねじが形成されるとともに前記締結穴に締結される締結ボルトを有し、前記第1端面と前記第2端面が接触した状態で前記締結ボルトを前記締結穴に締結して前記第1刃を前記固定部材の前記固定位置に固定する請求項1に記載の断裁装置。
【請求項3】
前記固定部材は、前記鉛直方向および前記第1方向に直交する第2方向に沿って間隔を空けて配置される複数の前記取付溝を有し、
前記第1刃は、前記第2方向に沿って間隔を空けて配置される複数の前記締結穴を有し、
前記固定機構は、複数の前記締結ボルトを有し、前記第1端面と前記第2端面が接触した状態で複数の前記締結ボルトを複数の前記締結穴に締結して前記第1刃を前記固定部材の前記固定位置に固定する請求項2に記載の断裁装置。
【請求項4】
前記第1刃が前記固定部材が前記固定位置に固定されない非固定状態において、前記第1端面と前記第2端面が接触した状態を保持する保持部を備える請求項2または請求項3に記載の断裁装置。
【請求項5】
前記保持部は、前記第1端面および前記第2端面のいずれか一方の一部を形成するように配置される磁石であり、
前記第1端面および前記第2端面のいずれか他方は磁性体により形成されている請求項4に記載の断裁装置。
発明の詳細な説明
【技術分野】
【0001】
本開示は、断裁装置に関するものである。
続きを表示(約 1,600 文字)
【背景技術】
【0002】
従来、冊子の小口辺縁部等を断裁する断裁装置が知られている(例えば、特許文献1参照)。特許文献1には、固定された下刃物に対して上刃物を下降させることにより、下刃物に位置決めされた冊子の小口等を断裁することが開示されている。
【先行技術文献】
【特許文献】
【0003】
特開2006-159385号公報
【発明の概要】
【発明が解決しようとする課題】
【0004】
固定された下刃物に対して上刃物を下降させる方式の断裁装置において、良好な断裁を行うためには下刃物と上刃物との隙間を可能な限り狭くするように下刃物に対する上刃物の位置決めを行う必要がある。
【0005】
しかしながら、特許文献1には、下刃物と上刃物の隙間を調整する機構が開示されておらず、断裁装置による個体差や断裁装置の使用状態に応じて下刃物と上刃物の隙間が変動してしまうと、良好な断裁を行うことができない可能性がある。また、下刃物と上刃物の設置位置をそれぞれ調整しようとすると、作業者による調整作業に時間を要するとともに困難な作業となってしまう可能性がある。
【0006】
例えば、特許文献1の図3に示す下刃物を他の部材に対してねじにより固定し、上刃物に対する下刃物の位置を図中の左右方向に移動させて下刃物と上刃物の隙間を調整する方法が考えられる。しかしながら、上刃物の先端が下刃物の先端を通過した図3(c)に示す状態では、上刃物と連動して上下動する押圧板が下刃物を押し付ける方向に移動するため、この状態で下刃物の左右方向の位置を調整してねじで固定する作業を行うことが容易ではない。そのため、例えば、下刃物と上刃物の隙間を調整する際には、上刃物と連動して上下動する押圧板を予め取り外しておくなどの追加の作業が必要となってしまう。
【0007】
本発明は、このような事情に鑑みてなされたものであって、第1刃と第2刃との隙間を容易に調整して良好な断裁を行うことが可能な断裁装置を提供することを目的とする。
【課題を解決するための手段】
【0008】
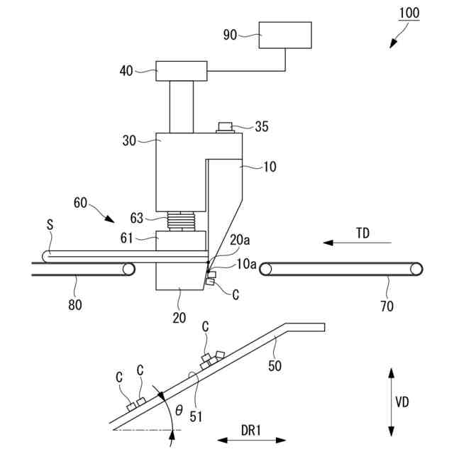
本発明の一態様に係る断裁装置は、用紙束を断裁し、第1刃と、所定位置に固定される第2刃と、前記第1刃が固定される固定部材と、前記第1刃を前記固定部材の固定位置に着脱可能に固定する固定機構と、前記固定部材を鉛直方向の非断裁位置と断裁位置との間で移動させることにより、前記第1刃の第1先端部が前記第2刃の第2先端部から前記鉛直方向に離間した非断裁状態と前記第1先端部が前記第2先端部を通過した断裁状態とを切り替える移動機構と、を備え、前記固定機構は、前記鉛直方向に直交しかつ前記第1先端部と前記第2先端部とが近接または離間する第1方向において、前記固定位置を調整可能である。
【0009】
本発明の一態様に係る断裁装置によれば、移動機構によって第1刃が固定された固定部材が鉛直方向の非断裁位置と断裁位置との間で移動し、第1刃の第1先端部が第2刃の第2先端部から鉛直方向に離間した非断裁状態と第1先端部が第2先端部を通過した断裁状態とが切り替わり、用紙束が断裁される。
【0010】
本発明の一態様に係る断裁装置によれば、鉛直方向に直交しかつ第1刃の第1先端部と第2刃の第2先端部とが近接または離間する第1方向において、固定位置が固定機構により調整可能となっている。そのため、断裁装置による個体差や断裁装置の使用状態に応じて第1刃と第2刃の第1方向における隙間が変動する場合であっても、第1刃と第2刃との隙間を容易に調整して良好な断裁を行うことが可能な断裁装置を提供することができる。
(【0011】以降は省略されています)
この特許をJ-PlatPat(特許庁公式サイト)で参照する
関連特許
個人
ハサミ
3か月前
個人
曲線カッター
2日前
個人
テープカッター
11か月前
個人
円弧状刃の包丁
6か月前
有限会社カルチエ
ナイフ
9か月前
個人
理美容はさみ
3か月前
株式会社サボテン
鋏
5か月前
個人
折り畳みナイフ
9か月前
コクヨ株式会社
ハサミ
10か月前
個人
剃刀具
11か月前
個人
2wayコーナーパンチ
7か月前
株式会社文創
切創抑制器具
10か月前
株式会社和田機械
栗切り機の刃物
1か月前
株式会社フタミ
表面処理装置
5か月前
個人
自動曲機とそれに使用する刃物
10日前
やおき工業株式会社
鋏
3か月前
デュプロ精工株式会社
加工装置
2か月前
第一精工株式会社
ナイフ
11か月前
トヨタ自動車株式会社
切断装置
8か月前
大創株式会社
打抜き部受支装置
10か月前
株式会社日本キャリア工業
食料切断装置
3か月前
株式会社日本キャリア工業
食料切断装置
3か月前
株式会社日本キャリア工業
食料切断装置
3か月前
株式会社日本キャリア工業
食料切断装置
4か月前
株式会社日本キャリア工業
食料切断装置
4か月前
株式会社日本キャリア工業
食料切断装置
4か月前
独立行政法人 国立印刷局
打ち抜き装置
1か月前
船井電機株式会社
電動器具
2か月前
株式会社日本キャリア工業
食料切断装置
8か月前
デュプロ精工株式会社
用紙積載装置
7か月前
鈴茂器工株式会社
棒状食材切断装置
7か月前
本田技研工業株式会社
切断装置
6日前
近畿刃物工業株式会社
切断加工用刃物
4か月前
近畿刃物工業株式会社
切断加工用刃物
3か月前
グンゼ株式会社
切断方法及び切断装置
11か月前
株式会社アストラ
果菜の分割裁断装置
11か月前
続きを見る
他の特許を見る