TOP
|
特許
|
意匠
|
商標
特許ウォッチ
Twitter
他の特許を見る
10個以上の画像は省略されています。
公開番号
2025105150
公報種別
公開特許公報(A)
公開日
2025-07-10
出願番号
2023223489
出願日
2023-12-28
発明の名称
通信レシーバ
出願人
株式会社デンソー
代理人
名古屋国際弁理士法人
主分類
H04L
12/28 20060101AFI20250703BHJP(電気通信技術)
要約
【課題】通信装置の主制御部にプロトコルスタックを実装できない場合でも、サービス指向通信を実現する技術を提供する。
【解決手段】本開示の1つの局面の通信レシーバ22は、通信装置20Aの主制御部21に接続され、第1IF225と、第2IF226と、サービス制御部221と、サービスIF部222と、を備える。サービス制御部は、第1IFを介して主制御部から受けた第1設定情報に基づき、サービス通信プロトコルである第1プロトコルに従って、電子制御装置(10A)へ探索メッセージを送信する。サービスIF部は、第1IFを介して主制御部から受けた第2設定情報に基づき、電子制御装置から受信した第1プロトコル又は第2プロトコルに従ったイベントメッセージを、ストリームデータに変換し、第2IFを介してストリームデータを主制御部へ送信する。
【選択図】図2
特許請求の範囲
【請求項1】
単一又は複数の通信線(50A,50B)を介して電子制御装置(10A,10B)に接続されるように構成された通信装置(20A,20B)内で、前記通信装置の主制御部(21)に接続される通信レシーバ(22)であって、
前記主制御部に接続されるように構成された第1インターフェース(225)と、
前記主制御部に接続されるように構成された第2インターフェース(226)と、
前記第1インターフェースを介して前記主制御部から受けた第1設定情報に基づき、サービス通信プロトコルである第1プロトコルに従って、前記電子制御装置へサービスを探索するための探索メッセージを送信するように構成されたサービス制御部(221)と、
前記第1インターフェースを介して前記主制御部から受けた第2設定情報に基づき、前記電子制御装置から受信した前記第1プロトコル又は前記第1プロトコルと異なる第2プロトコルに従ったイベントメッセージを、ストリームデータに変換し、前記第2インターフェースを介して前記ストリームデータを前記主制御部へ送信するように構成されたサービスインターフェース部(222)と、
を備える、通信レシーバ。
続きを表示(約 960 文字)
【請求項2】
前記サービス制御部(221)は、前記電子制御装置(10A,10B)へサービス購読要求を自発的に発信するように構成されている、
請求項1に記載の通信レシーバ。
【請求項3】
前記サービスインターフェース部(222)は、前記第2インターフェース(226)及び前記主制御部(21)を介して、前記第2設定情報により指定されたメモリ(28)へ、ダイレクトメモリアクセス方式で前記ストリームデータを送るように構成されている、
請求項1に記載の通信レシーバ。
【請求項4】
前記第1プロトコルは、Scalable service - Oriented MiddlewarE over IP(SOME/IP)、又は、Data Distribution Service (DDS)である、
請求項1に記載の通信レシーバ。
【請求項5】
前記第2プロトコルは、Institute of Electrical and Electronics Engineers (IEEE)1722である、
請求項1に記載の通信レシーバ。
【請求項6】
前記第1インターフェース(225)は、Serial Peripheral Interface (SPI)である、
請求項1に記載の通信レシーバ。
【請求項7】
前記第2インターフェース(226)は、Mobile Industry Processor Interface -Camera Serial Interface (MIPI-CSI)、Mobile Industry Processor Interface - Camera Serial Interface 2 (MIPI-CSI2)、Mobile Industry Processor Interface - Display Serial Interface (MIPI-DSI)、Peripheral Component Interconnect - Express (PCI-Express)及びDouble Data Rate (DDR)のいずれかである、
請求項1に記載の通信レシーバ。
発明の詳細な説明
【技術分野】
【0001】
本開示は、サービス指向通信に実現する技術に関する。
続きを表示(約 2,200 文字)
【背景技術】
【0002】
引用文献1に記載の車載通信システムは、統合ECUと、統合ECUに接続された複数の中継ECUと、複数の中継ECUの各々に接続された複数のECUと、を備え、統合ECUをサーバーとし、複数の中継ECU及び複数のECUをクライアントとしたサービス指向通信を行う。具体的には、上記車載通信システムでは、各中継装置が、サービス指向プロトコル以外のプロトコルに従ったデータを、サービス指向プロトコルに変換することで、各中継装置と総合ECUとの間でサービス指向通信を実現している。
【先行技術文献】
【特許文献】
【0003】
特開2022-18622号公報
【発明の概要】
【発明が解決しようとする課題】
【0004】
上記車載通信システムは、統合ECUの処理部が、サービス指向通信用のプロトコルスタックを備え、サービス指向プロトコルのメッセージを生成する。しかしながら、ECUの用途によっては、ECUが備えているマイコンが、処理能力が低い場合がある。このようなマイコンには、プロトコルスタックを実装することができない。
【0005】
本開示の1つの局面は、通信装置の主制御部にプロトコルスタックを実装できない場合でも、サービス指向通信を実現する技術を提供する。
【課題を解決するための手段】
【0006】
本開示の1つの局面の通信レシーバは、単一又は複数の通信線(50A,50B)を介して電子制御装置(10A,10B)に接続されるように構成された通信装置(20A,20B)内で、通信装置の主制御部(21)に接続される通信レシーバ(22)であって、第1インターフェース(225)と、第2インターフェース(226)と、サービス制御部(221)と、サービスインターフェース部(222)と、を備える。第1インターフェースは、主制御部に接続される。第2インターフェースは、主制御部に接続される。サービス制御部は、第1インターフェースを介して主制御部から受けた第1設定情報に基づき、サービス通信プロトコルである第1プロトコルに従って、電子制御装置へサービスを探索するための探索メッセージを送信する。サービスインターフェース部は、第1インターフェースを介して主制御部から受けた第2設定情報に基づき、電子制御装置から受信した第1プロトコル又は第1プロトコルと異なる第2プロトコルに従ったイベントメッセージを、ストリームデータに変換し、第2インターフェースを介してストリームデータを主制御部へ送信する。
【0007】
本開示の1つの局面の通信レシーバは、主制御部に接続され、第1設定情報及び第2設定情報が設定される。これにより、主制御部にサービス通信用のプロトコルスタックを実装できない場合でも、通信装置にサービス指向通信を導入することができる。したがって、通信装置と電子制御装置との間で全体的にサービス指向通信を実現することができる。
【図面の簡単な説明】
【0008】
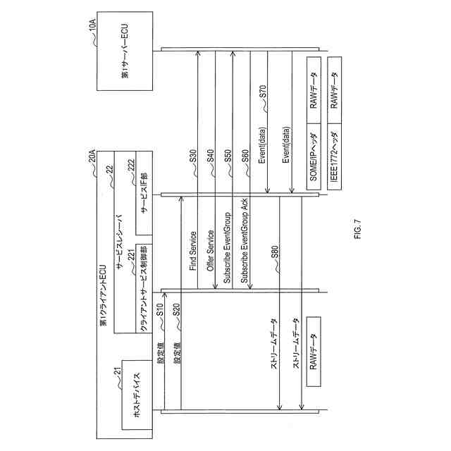
本実施形態に係る通信システムの構成を示すブロック図である。
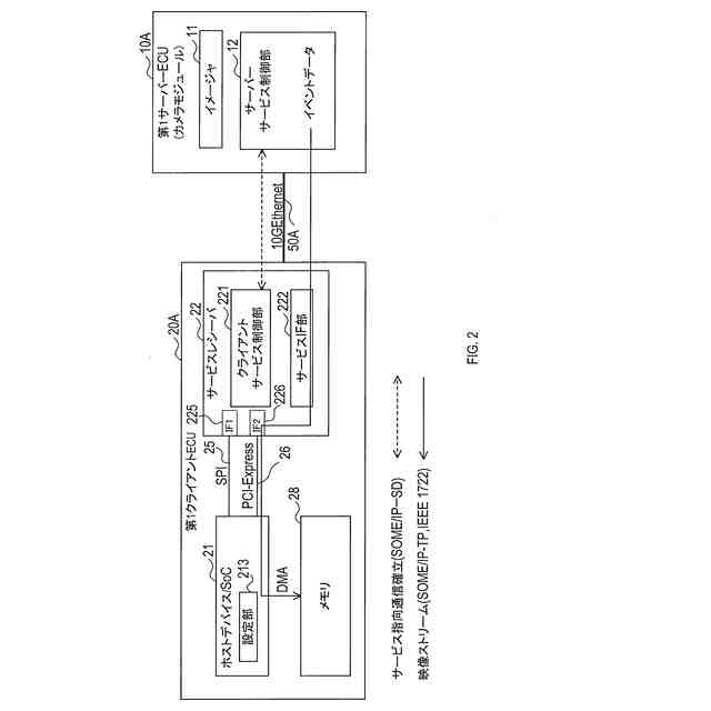
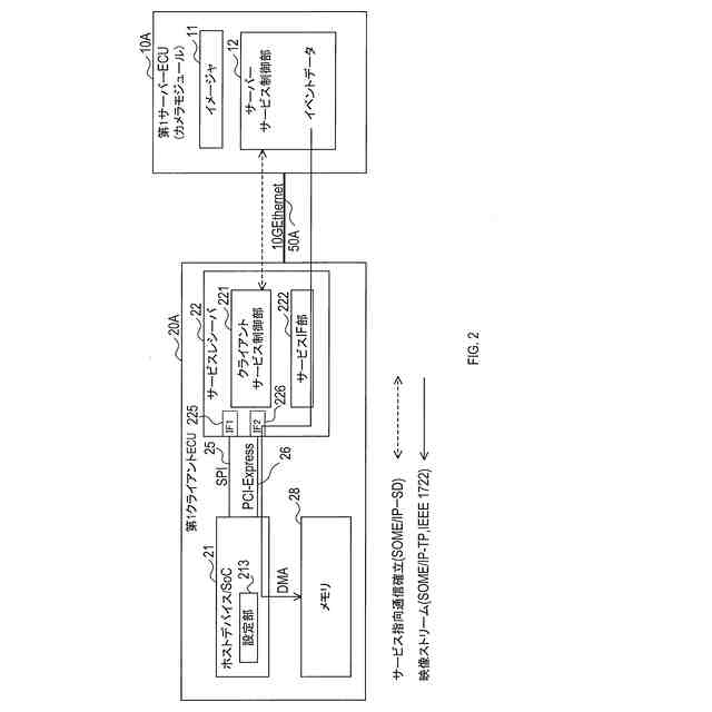
本実施形態に係るサーバーECU及びクライアントECUの構成を示すブロック図である。
本実施形態に係るクライアントECU内のデータの流れを示す図である。
本実施形態に係るクライアントECUのホストデバイスが有するサービスの検索及び自ノードに関する設定値の例を示す図である。
本実施形態に係るクライアントECUのホストデバイスが有するサーバーECUとのデータの相互変換に用いる設定値の例を示す図である。
本実施形態に係るクライアントECUのホストデバイスが有する購読イベントを配信しているサーバーECUに関する情報の例を示す図である。
本実施形態に係るサーバーECUとクライアントECUとの間の通信を示すシーケンス図である。
本実施形態に係るクライアントECUのサービスレシーバのサービス利用状態の遷移を示す図である。
本実施形態に係るクライアントECUのサービスレシーバのイベント購読状態の遷移を示す図である。
【発明を実施するための形態】
【0009】
<1.構成>
図1を参照して、本実施形態に係る通信システム100の構成について説明する。本実施形態において、通信システム100は、車両に搭載されている。別の実施形態では、通信システム100の少なくとも一部は、船、電車、飛行機などの車両以外の移動体あるいは建造物に設置されていてもよいし、携帯端末であってもよい。
【0010】
通信システム100は、第1サーバー電子制御装置(以下、ECU)10Aと、第2サーバーECU10Bと、第1クライアントECU20Aと、第2クライアントECU20Bと、イーサネットスイッチ30と、を備える。本実施形態において、第1クライアントECU20A及び第2クライアントECU20Bは、本開示の通信装置に相当し、第1サーバーECU10A及び第2サーバーECU10Bは、本開示の電子制御装置に相当する。
(【0011】以降は省略されています)
この特許をJ-PlatPat(特許庁公式サイト)で参照する
関連特許
株式会社デンソーウェーブ
筐体
6日前
株式会社デンソー
車載器
19日前
株式会社デンソー
回転機
6日前
株式会社デンソー
検出装置
5日前
株式会社デンソー
反力装置
13日前
株式会社デンソー
ねじ部材
19日前
株式会社デンソー
ステータ
19日前
株式会社デンソー
ステータ
19日前
株式会社デンソー
電子装置
13日前
株式会社デンソーエレクトロニクス
発音装置
23日前
株式会社デンソー
電子装置
23日前
株式会社デンソー
電子装置
14日前
株式会社デンソー
レーダ装置
12日前
株式会社デンソー
電流センサ
6日前
株式会社デンソーテン
インバータ
13日前
株式会社デンソー
半導体装置
19日前
株式会社デンソー
半導体装置
1日前
株式会社デンソー
農業用装置
15日前
株式会社デンソー
レーダ装置
23日前
株式会社デンソー
電力変換装置
7日前
株式会社デンソー
電力変換装置
19日前
株式会社デンソー
運航管理装置
12日前
株式会社デンソー
電子制御装置
19日前
株式会社デンソーテン
車載映像装置
19日前
株式会社デンソー
車載システム
13日前
株式会社デンソーエアクール
換気空調装置
20日前
株式会社デンソー
衝突予測装置
14日前
株式会社デンソー
車載システム
13日前
株式会社デンソー
電圧検出回路
15日前
株式会社デンソー
電力変換装置
15日前
株式会社デンソー
電波吸収装置
23日前
株式会社デンソー
衝突予測装置
14日前
株式会社デンソー
運転支援装置
14日前
株式会社デンソー
車両制御装置
13日前
株式会社デンソー
電子制御装置
23日前
株式会社デンソー
電気化学セル
23日前
続きを見る
他の特許を見る