TOP
|
特許
|
意匠
|
商標
特許ウォッチ
Twitter
他の特許を見る
公開番号
2025072240
公報種別
公開特許公報(A)
公開日
2025-05-09
出願番号
2023182850
出願日
2023-10-24
発明の名称
洗浄用部品、および洗浄用部品を含む洗浄装置
出願人
ジャパンマテックス株式会社
代理人
弁理士法人みなとみらい特許事務所
主分類
B08B
9/093 20060101AFI20250430BHJP(清掃)
要約
【課題】製造時には噴射孔を穿孔しやすく、使用時には洗浄する面に満遍なく洗浄液を当てることができる、洗浄装置に用いられる洗浄用部品を提供することを目的とする。
【解決手段】上記課題を解決する本願発明は、内部に液体を貯留可能な殻部11を備え、極軸P周りに回動可能な洗浄用部品1であって、殻部11は、内部から外部を貫通する3以上の噴射孔を有し、極軸Pによって緯度と経度が定められ、隣接する少なくとも3つの該噴射孔の穿孔位置が、殻部11の該緯度方向と該経度方向のそれぞれで所定の角度ずつ変化する。
【選択図】図2
特許請求の範囲
【請求項1】
内部に液体を貯留可能な殻部を備え、極軸周りに回動可能な洗浄用部品であって、
前記殻部は、内部から外部へ貫通する3以上の噴射孔を有し、
前記極軸によって緯度と経度が定められ、隣接する少なくとも3つの前記噴射孔の穿孔位置が、前記殻部の前記緯度方向と前記経度方向のそれぞれで所定の角度ずつ変化する、洗浄用部品。
続きを表示(約 560 文字)
【請求項2】
前記所定の角度は、前記緯度方向と前記経度方向の各々で一定値に定められる、
請求項1に記載の洗浄用部品。
【請求項3】
前記噴射孔の穿孔位置が変化する方向は、前記殻部の前記緯度方向と前記経度方向のそれぞれで所定の角度ずつ同一方向である、
請求項1に記載の洗浄用部品。
【請求項4】
前記緯度方向は、前記極軸から所定の距離だけ離間した擬似中心部を基準に定められる、
請求項1に記載の洗浄用部品。
【請求項5】
前記所定の角度は、前記経度方向では一定に定められ、前記緯度方向では低緯度から高緯度に向けて角度を拡げて定められる、
請求項1に記載の洗浄用部品。
【請求項6】
請求項1に記載の洗浄用部品を含む洗浄装置であって、
前記液体を前記洗浄用部品へ送り込む送液部を更に備え、
前記洗浄用部品は、前記送液部に対し前記極軸周りに回動可能に接続される、洗浄装置。
【請求項7】
前記殻部は、前記内部から外部を貫通する副噴射孔をさらに有し、
前記副噴射孔は、前記液体の噴射方向を示す軸線が、前記極軸に対しねじれの位置に設けられる、
請求項6に記載の洗浄装置。
発明の詳細な説明
【技術分野】
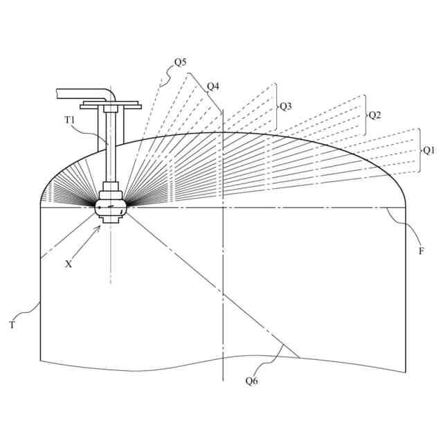
【0001】
本発明は、貯留槽等のタンクの内面を洗浄するための洗浄装置、及び洗浄装置を構成する洗浄用部品に関する。
続きを表示(約 1,300 文字)
【背景技術】
【0002】
食品や薬品を取り扱う現場では、貯蔵や調合、反応など様々な用途でタンクが使用されている。このタンクの洗浄を自動化するため、シャワーボール、スプレーボールと呼ばれる洗浄装置が開発されてきた。
【0003】
このような洗浄装置は、タンクの内部に常設されることを考慮し、タンクの大きさに対し小型の構成である。そのため、タンクの内壁までの距離を考慮し、洗浄装置から一定以上の圧力で洗浄液を噴射し、壁面に当てて流すことでタンクを洗浄する。これにおいては、洗浄のムラをなくすため、角度が異なる複数の噴射孔を設け、さらにそれが回動可能な構成である洗浄装置が開発されている。
【先行技術文献】
【特許文献】
【0004】
特開2020-157214号公報
【発明の概要】
【発明が解決しようとする課題】
【0005】
特許文献1に記載の洗浄装置は、送液管の先端に球殻状のスプレーボールを備えており、スプレーボールに設けられた噴射孔が、噴射角度をずらして2列に穿孔されている。さらに、噴射孔の角度は、球殻とは別の位置の仮想点を基準に設定されている。しかしながら、仮想点を設定すると、実際の穿孔作業が難しくなるほか、1列の中での噴射孔同士の間隔には制限があり、縦に並べようとすると噴射孔間の角度の差を極端に小さくすることはできない。このように、設計・製造・使用の各観点から制約が大きいという課題があった。
【0006】
本発明は、上記の課題に鑑み、製造時には噴射孔を穿孔しやすく、使用時には洗浄する面に満遍なく洗浄液を当てることができる、洗浄装置に用いられる洗浄用部品を提供することを目的とする。
【課題を解決するための手段】
【0007】
上記課題を解決する本願発明は、内部に液体を貯留可能な殻部を備え、極軸周りに回動可能な洗浄用部品であって、該殻部は、内部から外部へ貫通する3以上の噴射孔を有し、該極軸によって緯度と経度が定められ、隣接する少なくとも3つの該噴射孔の穿孔位置が、該殻部の該緯度方向と該経度方向のそれぞれで所定の角度ずつ変化する。
このような構成によって、製造時には噴射孔を穿孔しやすく、使用時には洗浄する面に満遍なく洗浄液を当てることができる。
【0008】
本発明の好ましい形態では、該所定の角度は、該緯度方向と該経度方向の各々で一定値に定められる。
このような構成によって、噴射孔の穿孔位置を容易に決定することができる。
【0009】
本発明の好ましい形態では、該噴射孔の穿孔位置が変化する方向は、該殻部の該緯度方向と該経度方向のそれぞれで所定の角度ずつ同一方向である。
このような構成によって、製造時には噴射孔の穿孔を容易に進めることができ、また部品の意匠性も向上できる。
【0010】
本発明の好ましい形態では、該緯度方向は、該極軸から所定の距離だけ離間した擬似中心部を基準に定められる。
このような構成によって、洗浄用部品が球形でない場合でも、適切に噴射孔の穿孔位置を設定することができる。
(【0011】以降は省略されています)
この特許をJ-PlatPat(特許庁公式サイト)で参照する
関連特許
個人
ブラシ付きノズル
1か月前
個人
物体表面洗浄装置
6日前
三浦工業株式会社
洗浄システム
1か月前
株式会社シロハチ
長尺物用の清掃用具
1か月前
大裕株式会社
敷鉄板表面の溶接残留物除去装置
1か月前
日本電気株式会社
ファン、制御方法、通知方法およびプログラム
3日前
日本ゼオン株式会社
光学フィルムの製造方法
23日前
タケウチビユーテー株式会社
ホームドア洗浄装置、ホームドア洗浄装置用の連結構造、及びホームドア洗浄方法
1か月前
揚發實業有限公司
洗浄機に用いられるノズル揺動機構
13日前
他の特許を見る