TOP
|
特許
|
意匠
|
商標
特許ウォッチ
Twitter
他の特許を見る
10個以上の画像は省略されています。
公開番号
2025070265
公報種別
公開特許公報(A)
公開日
2025-05-02
出願番号
2023180446
出願日
2023-10-19
発明の名称
清掃ロボット及び清掃ロボットユニット
出願人
国立大学法人 長崎大学
,
木下製網株式会社
代理人
個人
,
個人
,
個人
,
個人
主分類
B08B
1/32 20240101AFI20250424BHJP(清掃)
要約
【課題】網に付着した海藻類等を除去でき、さらに小型化を図ることができ、コストを下げることができる清掃ロボット及び清掃ロボットユニットを提供する。
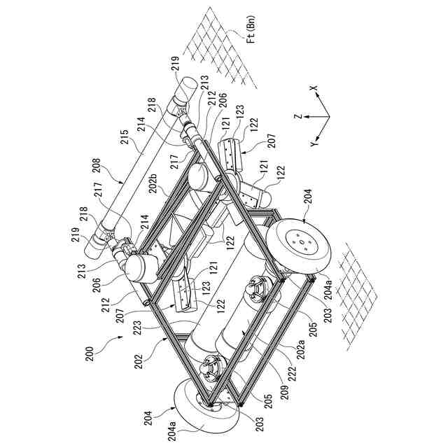
【解決手段】清掃ロボット100は、ロボットフレーム102と、ロボットフレーム102に設けられ、側網Snに沿って移動する4つの車輪103と、ロボットフレーム102に設けられる2つの洗浄部106と、2つの洗浄部106を旋回させる2つの第3モータ105と、を備える。洗浄部106は、側網Snに押し当てられる3つの洗浄ブラシ122を備える。
【選択図】図5
特許請求の範囲
【請求項1】
車体と、
前記車体に設けられ、網に沿って移動する車輪と、
前記車体に設けられ、前記網に押し当てられる洗浄道具と、
前記洗浄道具を旋回させるモータと、を備える清掃ロボット。
続きを表示(約 420 文字)
【請求項2】
前記洗浄道具が、前記車輪の回転軸に直交する旋回軸回りに旋回する、請求項1に記載の清掃ロボット。
【請求項3】
請求項1又は請求項2に記載の清掃ロボットと、
船体と、を備え、
前記清掃ロボットが前記船体から吊り下げ可能である、清掃ロボットユニット。
【請求項4】
前記清掃ロボットは、前記洗浄道具を側網に押し当てるスラスタを備え、
前記船体は、前記側網に沿って移動可能なホイールと、前記ホイールを前記側網に押し付けるスラスタと、を備える、請求項3に記載の清掃ロボットユニット。
【請求項5】
前記清掃ロボットを浮上させる浮体を備える、請求項1又は請求項2に記載の清掃ロボット。
【請求項6】
前記清掃ロボットが底網に沿って移動中において側網に接触したことを検知する側網検知部を備える、請求項1又は請求項2に記載の清掃ロボット。
発明の詳細な説明
【技術分野】
【0001】
本発明は、清掃ロボット及び清掃ロボットユニットに関する。
続きを表示(約 1,200 文字)
【背景技術】
【0002】
清掃ロボットとして、養殖網に付着している海藻類等を海中において除去するものが知られている。この清掃ロボットは、養殖網の表面に高圧水を噴射することによって、養殖網から海藻類等を除去する(例えば、特許文献1参照)。
【先行技術文献】
【特許文献】
【0003】
特許第3592204号公報
【発明の概要】
【発明が解決しようとする課題】
【0004】
しかし、従来の清掃ロボットは、養殖網に付着している海藻類等を、高圧水を噴射させて除去するために高圧ポンプを必要とする。よって、高圧ポンプを搭載する専用の船等が必要となる。このため、清掃ロボットの規模が大形になり、コストが高くなる。
【0005】
本発明は、前述した事情に鑑みてなされたものであって、網に付着した海藻類等を除去でき、さらに小型化を図ることができ、コストを下げることができる清掃ロボット及び清掃ロボットユニットを提供することを目的とする。
【課題を解決するための手段】
【0006】
前記課題を解決するために、本発明は以下の手段を提案している。
<1>本発明の一態様に係る清掃ロボットは、車体と、前記車体に設けられ、網に沿って移動する車輪と、前記車体に設けられ、前記網に押し当てられる洗浄道具と、前記洗浄道具を旋回させるモータと、を備えている。
【0007】
清掃ロボットによれば、車輪を回転させて車体が移動するときに、洗浄道具を網に押し当てるようにした。また、洗浄道具を押し当てた状態において、洗浄道具をモータで旋回させるようにした。よって、洗浄道具を網に適切に擦り付けることができる。これにより、網に付着している海藻類等を洗浄道具で除去して網を洗浄できる。
このように、洗浄道具を網に擦り付けて網から海藻類等を除去することにより、高圧水を噴射させて網を洗浄する必要がない。よって、高圧水を噴射させる高圧ポンプを不要にできる。これにより、清掃ロボットの小型化を図ることができ、コストを下げることができる。
【0008】
<2>上記<1>に係る清掃ロボットでは、前記洗浄道具が、前記車輪の回転軸に直交する旋回軸回りに旋回してもよい。
【0009】
清掃ロボットによれば、洗浄道具を車輪の回転軸に直交する旋回軸回りに旋回することにより、洗浄道具を網に沿って旋回させることができる。これにより、網を洗浄道具で効率よく洗浄でき、網から海藻類等を適切に除去できる。
【0010】
<3>本発明の一態様に係る清掃ロボットユニットは、上記<1>又は<2>に記載の清掃ロボットと、船体と、を備え、前記清掃ロボットが前記船体から吊り下げ可能である。
(【0011】以降は省略されています)
この特許をJ-PlatPat(特許庁公式サイト)で参照する
関連特許
国立大学法人 長崎大学
調査ロボットユニット
3か月前
国立大学法人 長崎大学
殺原虫速度の評価方法
4か月前
国立大学法人 長崎大学
清掃ロボット及び清掃ロボットユニット
5か月前
国立大学法人 長崎大学
給餌制御システム、給餌制御方法、及びプログラム
7日前
国立大学法人 長崎大学
水処理方法、該方法に使用するビーズ及び水処理装置
3か月前
株式会社マンダム
皮膚疾患抑制剤のスクリーニング方法
4か月前
長崎県
生物学的検体の分析方法及び検体回収容器の再生方法
7日前
株式会社mAbProtein
活性型IL-18検出キット、及び検査方法
4か月前
大阪ガスケミカル株式会社
分子篩炭素及びその製造方法、並びにガス分離装置
4か月前
国立大学法人 長崎大学
細胞、細胞を用いたタンパク質を発現させる方法、発現コンストラクト及び形質転換細胞
6か月前
個人
物体表面洗浄装置
14日前
個人
ブラシ付きノズル
1か月前
ノリタケ株式会社
洗浄装置
今日
株式会社シロハチ
長尺物用の清掃用具
1か月前
三浦工業株式会社
洗浄システム
1か月前
株式会社未来造形
チェーン洗浄具
7日前
有限会社アサヒライフ企画
2WAY水切りワイパー
4か月前
三浦工業株式会社
洗浄装置
2か月前
大裕株式会社
敷鉄板表面の溶接残留物除去装置
1か月前
栗田工業株式会社
管内面の洗浄用プラグ及び洗浄方法
2日前
トヨタ自動車株式会社
配管洗浄装置
2か月前
株式会社PFA
異物除去装置、異物除去方法およびプログラム
3か月前
株式会社ブリヂストン
配管清掃方法
3か月前
ノリタケ株式会社
スラリーアイス洗浄装置用の管状部品
今日
工機ホールディングス株式会社
作業機
2か月前
株式会社奥村組
洗浄器具および洗浄方法
7日前
株式会社松井製作所
液体供給装置及び液体供給方法
3か月前
バンドー化学株式会社
クリーニング装置
4か月前
イフコ・ジャパン 株式会社
物流容器の洗浄装置及び洗浄方法
2日前
日鉄テックスエンジ株式会社
ツール清掃装置
1日前
日本電気株式会社
ファン、制御方法、通知方法およびプログラム
11日前
日本ゼオン株式会社
光学フィルムの製造方法
1か月前
リンテック株式会社
清掃装置および清掃方法
1日前
株式会社ブルー・スターR&D
超音波照射装置
3か月前
個人
排水管洗浄システムの高圧ホース供給機
3か月前
国立大学法人九州工業大学
砂状粒子除去装置及び砂状粒子除去方法
3か月前
続きを見る
他の特許を見る