TOP
|
特許
|
意匠
|
商標
特許ウォッチ
Twitter
他の特許を見る
公開番号
2025093333
公報種別
公開特許公報(A)
公開日
2025-06-24
出願番号
2023208908
出願日
2023-12-12
発明の名称
残渣回収装置およびケース製造装置
出願人
三菱重工機械システム株式会社
代理人
個人
,
個人
,
個人
,
個人
主分類
B08B
1/16 20240101AFI20250617BHJP(清掃)
要約
【課題】糊を噴射するノズルに付着する残渣を、糊の噴射対象となる製造物の製造装置を停止させることなく、回収することができる残渣回収装置を提供すること。
【解決手段】本開示の残渣回収装置は、被加工品が搬送される第1方向に延びる第1搬送路の鉛直方向の上方に配置され、鉛直方向の上方から発生する残渣を第1搬送路の上方で受け、平面視した際に、残渣を第1搬送路の外側の領域へ搬送させる搬送部と、搬送部を駆動させる駆動部と、搬送部によって搬送された残渣を回収する収容部と、を備える。
【選択図】図2
特許請求の範囲
【請求項1】
被加工品が搬送される第1方向に延びる第1搬送路の鉛直方向の上方に配置され、鉛直方向の上方から発生する残渣を前記第1搬送路の上方で受け、平面視した際に、前記残渣を前記第1搬送路の外側の領域へ搬送させる搬送部と、
前記搬送部を駆動させる駆動部と、
前記搬送部によって搬送された前記残渣を回収する収容部と、を備える残渣回収装置。
続きを表示(約 1,200 文字)
【請求項2】
前記搬送部は、無端状のベルトを備え、
前記搬送部によって搬送された前記残渣を前記収容部の上方で前記搬送部から除去させる除去部を備える、
請求項1に記載の残渣回収装置。
【請求項3】
前記残渣を下方において待ち受ける残渣受けを備え、
前記搬送部は、前記残渣受けによって受けられた前記残渣を、所定の距離の往復運動をすることで前記残渣を搬送させる、
請求項1に記載の残渣回収装置。
【請求項4】
前記搬送部は、
螺旋状の羽根と、
前記螺旋状の羽根が収容されるケーシングと、を備え、
前記螺旋状の羽根を回転することで前記残渣を搬送させる、
請求項1に記載の残渣回収装置。
【請求項5】
前記搬送部は、前記無端状のベルトの前記残渣が載って搬送させる搬送面の少なくとも一部に離型層が形成されている、
請求項2に記載の残渣回収装置。
【請求項6】
前記残渣受けは、前記残渣が載って搬送される前記残渣受けの搬送面の少なくとも一部に離型層が形成されている、
請求項3に記載の残渣回収装置。
【請求項7】
前記螺旋状の羽根は、前記残渣を搬送させる前記螺旋状の羽根の表面の少なくとも一部に離型層が形成され、
前記ケーシングの内側表面の少なくとも一部に離型層が形成されている、
請求項4に記載の残渣回収装置。
【請求項8】
前記駆動部の回転駆動力を前記無端状のベルトに伝達する駆動側プーリと、
前記無端状のベルトを前記駆動側プーリとともに支持する従動側プーリと、
前記従動側プーリに取り付けられる被検出体と、
前記従動側プーリとともに回転する被検出体を検出する検出センサと、を備える、
請求項2に記載の残渣回収装置。
【請求項9】
前記被加工品は、シートであり、
糊の塗布および折り曲げにより前記シートを箱状のケースへ形成するケース製造装置1であって、
前記第1搬送路の前記第1方向に搬送される前記シートの所定の領域にノズルから糊を噴射する糊噴射装置と、
前記糊噴射装置の鉛直方向の下方であって、前記糊噴射装置のノズルよりも前記シートが搬送される前記第1方向の下流側に突き出るように配置され、請求項1~4のいずれか1項に記載の残渣回収装置と、を備える、ケース製造装置。
【請求項10】
制御部を備え、
前記制御部は、
前記糊噴射装置が所定の回数の糊の噴射を実行した場合に、前記残渣回収装置の前記駆動部を所定時間だけ駆動させる、
請求項9に記載のケース製造装置。
(【請求項11】以降は省略されています)
発明の詳細な説明
【技術分野】
【0001】
本開示は、残渣回収装置およびケース製造装置に関する。
続きを表示(約 1,700 文字)
【背景技術】
【0002】
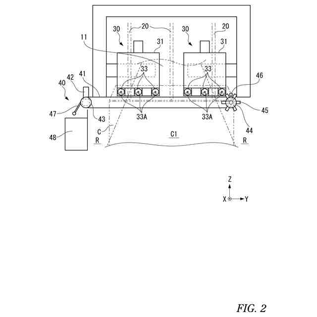
例えば飲料製品の缶やボトルの包装としての段ボールシートは、製造ラインにおいて、箱状に折り曲げられ、ホットメルトを用いて糊付けされる。コンベヤにより箱を一定のピッチで搬送しながら、所定の糊付け位置において、箱の上端部で起立した糊付け領域に対して、当該糊付け領域よりも上流側に位置する噴射ガンのノズルから糊を噴射する。
ノズルから発射された糊が空間を移動する間に糊の軌跡がばらついたり、シートの反りによって糊付け領域の位置がばらついたりすること等に起因して、塗布位置がばらつく。特許文献1は、搬送路上に配置され、糊を噴射する噴射装置と一体に変位し、ノズルに付着した糊を下方から受ける糊受けが開示されている。搬送路上に配置され、噴射装置と一体に変位する糊受けに溜まった糊を作業員が回収するには、ケース製造装置を停止させる必要があるため、ケース製造装置の稼働率は低下する。
【先行技術文献】
【特許文献】
【0003】
特開2022-126034号公報
【発明の概要】
【発明が解決しようとする課題】
【0004】
噴射装置から噴射された糊の一部はノズルに付着して残渣となる。特許文献1は、残渣の要因の一つとして、ノズルから糊付け領域へと糸状に引き出された糊が切れ、ノズルに糊が戻ることを指摘している。ケース製造装置の稼働率を維持しながらノズルに付着する残渣を処理することが求められる。
【0005】
以上より、本開示は糊を噴射するノズルに付着する残渣を、糊の噴射対象となる製造物の製造装置を停止させることなく、回収することができる残渣回収装置を提供することを目的とする。
【課題を解決するための手段】
【0006】
本開示に係る残渣回収装置は、被加工品が搬送される第1方向に延びる第1搬送路の鉛直方向の上方に配置され、鉛直方向の上方から発生する残渣を第1搬送路の上方で受け、平面視した際に、残渣を第1搬送路の外側の領域へ搬送させる搬送部と、搬送部を駆動させる駆動部と、搬送部によって搬送された残渣を回収する収容部と、を備える。
【発明の効果】
【0007】
本開示によれば、糊を噴射するノズルに付着する残渣を、糊の噴射対象となる製造物の製造装置を停止させることなく、回収することができる残渣回収装置を提供することができる。
【図面の簡単な説明】
【0008】
本開示の第1実施形態に係るケース製造装置を示す側面図である。
本開示の第1実施形態に係るケース製造装置を示す正面図である。
本開示の第1実施形態に係る残渣回収装置を示す斜視図である。
本開示の第2実施形態に係る残渣回収装置を示す斜視図である。
本開示の第3実施形態に係る残渣回収装置を示す斜視図である。
【発明を実施するための形態】
【0009】
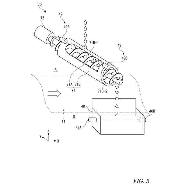
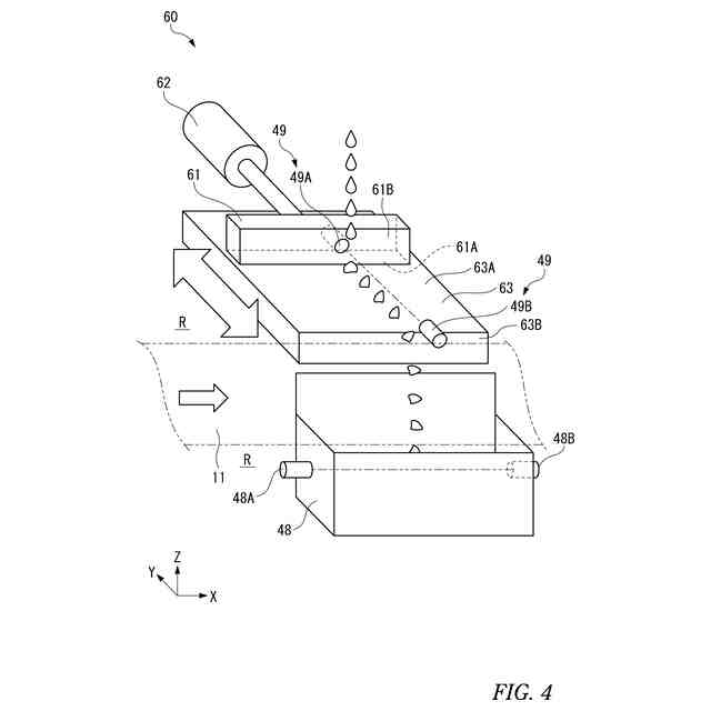
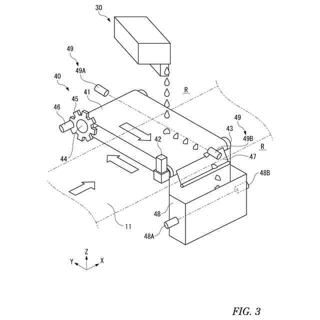
以下、段ボールシートを折り曲げるなどして箱状のケースを製造する装置を例にして、本開示の実施形態を説明する。以下の説明において、残渣を排出する手段の違いにより、第1実施形態、第2実施形態および第3実施形態という三つの態様を含んでいる。第1実施形態は直線運動するコンベアに残渣を載せて排出し、第2実施形態は進退移動が可能とされるプッシャにより残渣を押し出して排出し、第3実施形態は回転運動するスクリューに残渣を載せて排出する。
【0010】
本実施形態における残渣とは、ホットメルトと称される糊として機能する接着剤であって、ノズルから噴射された一部がノズルに付着したものであり、糊残渣ということができる固体である。
本実施形態における残渣の排出とは、自由落下する糊残渣を受けた位置からケースの製造過程の段ボールシートが搬送路11から外れる非搬送位置まで糊残渣を搬送することをいう。
以下、第1実施形態、第2実施形態および第3実施形態の順に説明する。
(【0011】以降は省略されています)
この特許をJ-PlatPat(特許庁公式サイト)で参照する
関連特許
個人
物体表面洗浄装置
16日前
個人
ブラシ付きノズル
1か月前
ノリタケ株式会社
洗浄装置
2日前
株式会社シロハチ
長尺物用の清掃用具
1か月前
三浦工業株式会社
洗浄システム
1か月前
株式会社未来造形
チェーン洗浄具
9日前
有限会社アサヒライフ企画
2WAY水切りワイパー
4か月前
大裕株式会社
敷鉄板表面の溶接残留物除去装置
1か月前
三浦工業株式会社
洗浄装置
2か月前
栗田工業株式会社
管内面の洗浄用プラグ及び洗浄方法
4日前
トヨタ自動車株式会社
配管洗浄装置
2か月前
ノリタケ株式会社
スラリーアイス洗浄装置用の管状部品
2日前
株式会社PFA
異物除去装置、異物除去方法およびプログラム
3か月前
株式会社ブリヂストン
配管清掃方法
3か月前
工機ホールディングス株式会社
作業機
2か月前
株式会社奥村組
洗浄器具および洗浄方法
9日前
株式会社松井製作所
液体供給装置及び液体供給方法
3か月前
日鉄テックスエンジ株式会社
ツール清掃装置
3日前
イフコ・ジャパン 株式会社
物流容器の洗浄装置及び洗浄方法
4日前
日本電気株式会社
ファン、制御方法、通知方法およびプログラム
13日前
日本ゼオン株式会社
光学フィルムの製造方法
1か月前
リンテック株式会社
清掃装置および清掃方法
3日前
株式会社ブルー・スターR&D
超音波照射装置
3か月前
個人
排水管洗浄システムの高圧ホース供給機
3か月前
国立大学法人九州工業大学
砂状粒子除去装置及び砂状粒子除去方法
3か月前
ノリタケ株式会社
スラリーアイス洗浄装置およびスラリーアイス洗浄方法
2日前
ノリタケ株式会社
スラリーアイス洗浄装置およびスラリーアイス洗浄方法
2日前
ノリタケ株式会社
スラリーアイス洗浄装置およびスラリーアイス洗浄方法
2日前
株式会社石野製作所
清掃方法、清掃用スポンジ及び清掃装置
2か月前
富士フイルムビジネスイノベーション株式会社
清掃装置
3か月前
株式会社ブリヂストン
洗浄ノズル補助部材及び洗浄ノズル
3か月前
三菱重工業株式会社
配管内部の付着物除去装置および方法
2か月前
三菱重工機械システム株式会社
残渣回収装置およびケース製造装置
3か月前
株式会社LIXIL
水垢の処理方法、着色剤、及び着色済み基材
2か月前
パナソニックIPマネジメント株式会社
洗浄機
3か月前
フェッテ コンパクティング ゲーエムベーハー
錠剤またはカプセルの除塵装置および方法
3か月前
続きを見る
他の特許を見る