TOP
|
特許
|
意匠
|
商標
特許ウォッチ
Twitter
他の特許を見る
公開番号
2025088585
公報種別
公開特許公報(A)
公開日
2025-06-11
出願番号
2023203371
出願日
2023-11-30
発明の名称
ヘリコプター駆動装置
出願人
個人
代理人
個人
,
個人
主分類
B64D
27/34 20240101AFI20250604BHJP(航空機;飛行;宇宙工学)
要約
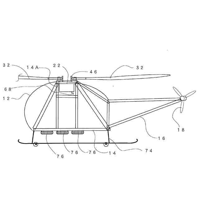
【課題】ヘリコプターの性能は、機体の重さと駆動する出力に関係するので、駆動装置の軽量化は大事な要素である。安全が考慮され、緊急事態で機体を安全に降下出来る重さに抑えた電動ヘリコプターが望まれている。
【解決手段】ヘリコプター駆動装置は、構造がシンプルな一つの滑り軸受けで電動機と回転翼を支え、ロータを大径とした滑り軸受けの内側に回転翼を可変ピッチするシフタースリーブを設け、オートローテイションで着地が可能となり、大径のロータは低速でのトルクがあり、減速機を無くし、直結でロータの力を回転翼に伝えることを特徴としている。
【選択図】図1
特許請求の範囲
【請求項1】
ヘリコプター本体の回転翼を駆動する電動機と前記回転翼を支える軸受けに滑り軸受けを設け、ロータを一つの滑り軸受けで支え、全周の摺動面で荷重を受けるのを特徴とするヘリコプター駆動装置。
続きを表示(約 380 文字)
【請求項2】
前記ヘリコプター本体の滑り軸受けの外レースを内レースで挟み、前記外レースにステータを設けるとともに前記内レースに前記ロータを設け、前記内レースの上部で前記回転翼に力を伝えることを特徴とする請求項1に記載のヘリコプター駆動装置。
【請求項3】
前記ヘリコプター本体の滑り軸受けの内レースを外レースで挟み、前記外レースにステータを設けるとともに前記内レースに前記ロータを設け、前記内レースの上部で前記回転翼に力を伝えることを特徴とする請求項1に記載のヘリコプター駆動装置。
【請求項4】
前記回転翼の可変ピッチアームとこの可変ピッチアームを操作する駆動源を設け、前記駆動源は電動操作で駆動可能とするとともに手動ハンドルにてピッチ可動するように構成されていることを特徴とする請求項1に記載のヘリコプター駆動装置。
発明の詳細な説明
【技術分野】
【0001】
本発明はヘリコプター駆動装置に係り、特に、電動ヘリコプターの軽量性と安全性を高めた駆動装置に関する。
続きを表示(約 1,100 文字)
【背景技術】
【0002】
今日、電気で駆動し、滑走路が不要な電動ヘリコプターは、移動手段として開発が進んでおり、人を載せ正確な時間に到着する利点が見直されている。風を受ける翼を持たないヘリコプターは、緊急事態に回転翼が回っていれば降下し着陸が可能となっている。電動ヘリコプターが緊急時に降下が出来る径の回転翼が必要となる。
【0003】
ヘリコプターの性能は、機体の重さと駆動する出力に関係するので、駆動装置の軽量化は重要な要素である。電動ヘリコプターにおいても安全が考慮されなければならず、緊急事態では安全に降下し、出来る重さに抑えた電動ヘリコプターの提供が望まれている。
【0004】
従来の電動ヘリコプターは、高速モーターを減速機に連結し、減速してから回転翼の駆動用縦軸へと動力が伝わる構造となっており、構造的には複雑で重かった。
【先行技術文献】
【特許文献】
【0005】
特開2020-176747
特表2021ー529125
【発明の概要】
【発明が解決しようとする課題】
【0006】
本発明は上記従来の問題点に着目し、軽量な電動で回転するロータを有し、緊急時に安全に降下することができるヘリコプター駆動装置を提供することを目的とする。
【課題を解決するための手段】
【0007】
上記目的を達成するために、本発明に係るヘリコプター駆動装置は、ヘリコプター本体の回転翼を駆動する電動機と回転翼を支える軸受けに滑り軸受けを設け、回転翼とロータを一つの滑り軸受けで支え、全周の摺動面で荷重を受けるのを特徴とする。
【0008】
このような構成において、前記ヘリコプター本体の滑り軸受けの外レースを内レースで挟み、外レースにステータを設けるとともに内レースにロータを設け、内レースの上部で回転力に力を伝えることを特徴としている。または、前記ヘリコプター本体の滑り軸受けの内レースを外レースで挟み、外レースにステータを設けるとともに内レースにロータを設け、内レースの上部で回転翼に力を伝えることを特徴としている。
【0009】
また、斯かる構成において、前記回転翼の可変ピッチアームとこの可変ピッチアームを操作する駆動源を設け、駆動源は電動操作で駆動可能とするとともに手動ハンドルにてピッチ可動するように構成されている。
【発明の効果】
【0010】
上記構成によれば、構造が簡素な一組の滑り軸受けで電動機と回転翼を支え、軸受けの一端をヘリコプター本体に載置するもので、大径のロータが直結された構造は振動の発生を抑えることができる。
(【0011】以降は省略されています)
この特許をJ-PlatPat(特許庁公式サイト)で参照する
関連特許
個人
ドローン
7か月前
個人
人工台風
2か月前
個人
着火ドローン
4か月前
個人
救難消防飛行艇
4か月前
個人
ドローンシステム
8か月前
東レ株式会社
中空回転翼
3か月前
個人
動力原付きグライダー
16日前
個人
連続回転可能な飛行機翼
4か月前
個人
陸海空用の乗り物
5か月前
個人
導風板付き垂直離着陸機
2か月前
東レ株式会社
プロペラブレード
3か月前
個人
垂直離着陸機用エンジン改
8か月前
個人
空飛ぶクルマ
3か月前
東レ株式会社
プロペラブレード
3か月前
東レ株式会社
プロペラブレード
3か月前
個人
空中移動システム
9か月前
個人
ドローンを自動離着陸する方法
8か月前
個人
ドローン消音装置
11か月前
トヨタ自動車株式会社
ドローン
6か月前
個人
エアライナー全自動パラシュート
7か月前
株式会社ACSL
システム
7か月前
株式会社小糸製作所
飛行体ポート
4か月前
株式会社ACSL
システム
7か月前
合同会社アドエア
飛行体の落下補助装置
9か月前
個人
搬送方法および搬送システム
4か月前
個人
ヘリコプター駆動装置
4か月前
合同会社アドエア
パラシュート射出装置
7か月前
株式会社SUBARU
移動体
9か月前
個人
垂直離着陸機用ガスタービンエンジン
8か月前
個人
飛行体
2日前
個人
飛行体
3か月前
個人
パラボラ型スペースデブリカタパルト
3か月前
全日本空輸株式会社
ドーリシステム
11か月前
個人
飛行体
3か月前
ミネベアミツミ株式会社
無人機
6か月前
日立建機株式会社
作業機械
3か月前
続きを見る
他の特許を見る