TOP
|
特許
|
意匠
|
商標
特許ウォッチ
Twitter
他の特許を見る
公開番号
2025088833
公報種別
公開特許公報(A)
公開日
2025-06-12
出願番号
2023203575
出願日
2023-12-01
発明の名称
アンモニアの合成装置
出願人
日本特殊陶業株式会社
,
国立大学法人東京科学大学
代理人
弁理士法人真明センチュリー
主分類
C01C
1/04 20060101AFI20250605BHJP(無機化学)
要約
【課題】水素の反応性を向上できるアンモニアの合成装置を提供する。
【課題手段】合成装置は、窒素を含むガスが流れる反応場にプラズマを発生するプラズマ発生装置と、反応場に水素を発生するカソードを含む電気化学セルと、を備え、カソードは、プラズマ発生装置のアース電極を兼ねる。電気化学セルは、プロトン伝導性の電解質を含んでいても良い。
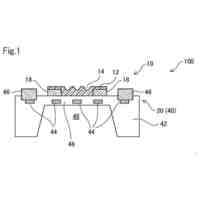
【選択図】図1
特許請求の範囲
【請求項1】
窒素を含むガスが流れる反応場にプラズマを発生するプラズマ発生装置と、
前記反応場に水素を発生するカソードを含む電気化学セルと、を備え、アンモニアを合成する合成装置であって、
前記カソードは、前記プラズマ発生装置のアース電極を兼ねる合成装置。
続きを表示(約 52 文字)
【請求項2】
前記電気化学セルは、プロトン伝導性の電解質を含む請求項1記載の合成装置。
発明の詳細な説明
【技術分野】
【0001】
本発明は窒素と水素との反応によりアンモニアを合成する合成装置に関する。
続きを表示(約 970 文字)
【背景技術】
【0002】
プラズマ発生装置を用いて励起した窒素と、水の電気分解で発生した水素と、の反応によってアンモニアを合成する先行技術は特許文献1に開示されている。特許文献2や非特許文献1にはプロトン伝導性の電解質を含む電気化学セルとプラズマとを併用したアンモニア合成に関する先行技術が開示されている。
【先行技術文献】
【特許文献】
【0003】
特開2017-164736号公報
中国実用新案第217148587号明細書
【非特許文献】
【0004】
ACS Energy Lett. 2021, 6, 2, 313-319
【発明の概要】
【発明が解決しようとする課題】
【0005】
先行技術ではプラズマ中に反応性の高い活性種が存在するが、水の電気分解で発生した水素との反応性に改善の余地がある。
【0006】
本発明はこの要求に応えるためになされたものであり、水素の窒素に対する反応性を向上できるアンモニアの合成装置の提供を目的とする。
【課題を解決するための手段】
【0007】
この目的を達成するための第1の態様は、窒素を含むガスが流れる反応場にプラズマを発生するプラズマ発生装置と、反応場に水素を発生するカソードを含む電気化学セルと、を備え、カソードは、プラズマ発生装置のアース電極を兼ねる。
【0008】
第2の態様は、第1の態様において、電気化学セルはプロトン伝導性の電解質を含む。
【発明の効果】
【0009】
本発明によれば、反応場に水素を発生する電気化学セルのカソードは、プラズマ発生装置のアース電極を兼ねる。カソードに発生した水素が、プラズマにより活性化された窒素と反応する確率が高くなるため、水素の窒素に対する反応性を向上できる。
【図面の簡単な説明】
【0010】
第1実施の形態におけるアンモニアの合成装置の模式的な断面図である。
第2実施の形態におけるアンモニアの合成装置の模式的な断面図である。
【発明を実施するための形態】
(【0011】以降は省略されています)
この特許をJ-PlatPat(特許庁公式サイト)で参照する
関連特許
日本特殊陶業株式会社
電極
7日前
日本特殊陶業株式会社
電極
7日前
日本特殊陶業株式会社
電極
7日前
日本特殊陶業株式会社
電極
7日前
日本特殊陶業株式会社
センサ
今日
日本特殊陶業株式会社
センサ
今日
日本特殊陶業株式会社
センサ
今日
日本特殊陶業株式会社
センサ
今日
日本特殊陶業株式会社
センサ
今日
日本特殊陶業株式会社
保持装置
7日前
日本特殊陶業株式会社
保持装置
7日前
日本特殊陶業株式会社
保持装置
11日前
日本特殊陶業株式会社
保持装置
9日前
日本特殊陶業株式会社
保持部材
21日前
日本特殊陶業株式会社
保持装置
1か月前
日本特殊陶業株式会社
保持装置
1か月前
日本特殊陶業株式会社
配線基板
1か月前
日本特殊陶業株式会社
樹脂成形体
21日前
日本特殊陶業株式会社
圧電発音体
今日
日本特殊陶業株式会社
抗菌処理装置
21日前
日本特殊陶業株式会社
スパークプラグ
1か月前
日本特殊陶業株式会社
超音波発生装置
11日前
日本特殊陶業株式会社
スパークプラグ
1か月前
日本特殊陶業株式会社
セラミック部品
1日前
日本特殊陶業株式会社
超音波発生装置
11日前
日本特殊陶業株式会社
マイクロリアクタ
11日前
日本特殊陶業株式会社
セラミックヒータ
8日前
日本特殊陶業株式会社
ホットモジュール
1日前
日本特殊陶業株式会社
セラミックヒータ
11日前
日本特殊陶業株式会社
ホットモジュール
1日前
日本特殊陶業株式会社
セラミックヒータ
8日前
日本特殊陶業株式会社
圧電セラミック積層体
29日前
日本特殊陶業株式会社
圧電セラミック積層体
29日前
日本特殊陶業株式会社
圧電セラミック積層体
今日
日本特殊陶業株式会社
セラミックスサセプタ
1か月前
日本特殊陶業株式会社
ガスセンサの製造方法
2日前
続きを見る
他の特許を見る