TOP
|
特許
|
意匠
|
商標
特許ウォッチ
Twitter
他の特許を見る
公開番号
2025140995
公報種別
公開特許公報(A)
公開日
2025-09-29
出願番号
2024040680
出願日
2024-03-15
発明の名称
マイクロリアクタ
出願人
日本特殊陶業株式会社
代理人
弁理士法人グランダム特許事務所
主分類
B01J
19/00 20060101AFI20250919BHJP(物理的または化学的方法または装置一般)
要約
【課題】反応制御を行い易いマイクロリアクタを提供する。
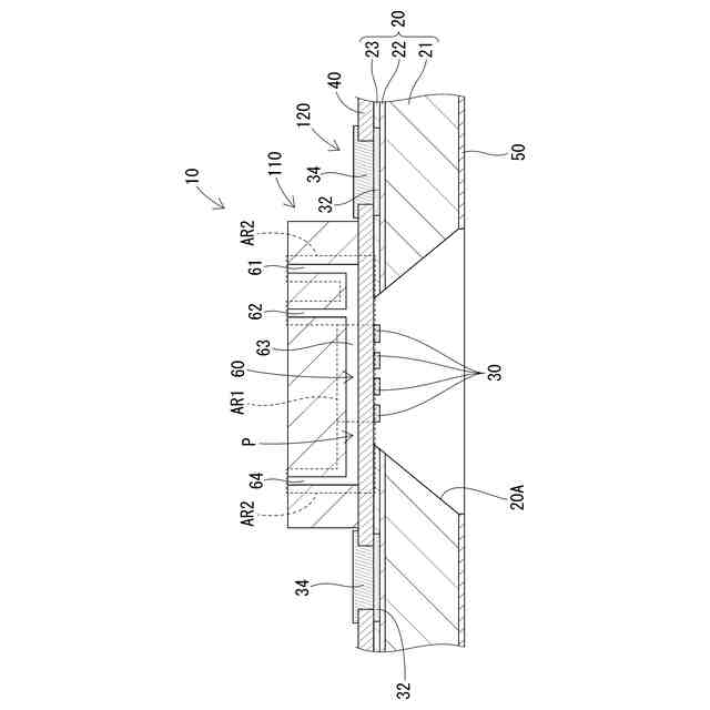
【解決手段】マイクロリアクタ10は、流路Pを構成する流路構成部60と、発熱部30と、を備えている。流路構成部60は、発熱部30によって加熱される加熱領域AR1と、発熱部30によって加熱されない非加熱領域AR2と、を有する。
【選択図】図2
特許請求の範囲
【請求項1】
流路を構成する流路構成部と、発熱部と、を備えるマイクロリアクタであって、
前記流路構成部は、前記発熱部によって加熱される加熱領域と、前記発熱部によって加熱されない非加熱領域と、を有するマイクロリアクタ。
続きを表示(約 270 文字)
【請求項2】
前記加熱領域における最高温度と前記非加熱領域における最高温度との差が、40℃以上である請求項1に記載のマイクロリアクタ。
【請求項3】
前記発熱部が配される基体を備え、
前記基体は、開口部を有し、
前記発熱部は、前記開口部内に設けられ、
前記開口部は、前記基体における前記流路とは反対側に設けられている請求項1又は請求項2に記載のマイクロリアクタ。
【請求項4】
前記非加熱領域の熱を放出する放熱部を備える請求項1又は請求項2に記載のマイクロリアクタ。
発明の詳細な説明
【技術分野】
【0001】
本発明は、マイクロリアクタに関する。
続きを表示(約 1,200 文字)
【背景技術】
【0002】
特許文献1に開示されるマイクロリアクタは、流路として構成されるA液入口、B液入口、及び反応液出口を備えている。A液とB液は、流路合流部で混合されて、混合造粒物となる。混合造粒物に対してパルスレーザーが照射されることによって、反応が促進される。
【先行技術文献】
【特許文献】
【0003】
特開2009-297668号公報
【発明の概要】
【発明が解決しようとする課題】
【0004】
マイクロリアクタでは、反応を促進するために、ヒータを用いた加熱を行う構成が知られている。しかしながら、従来のヒータを用いた場合、熱容量が比較的大きいため広範囲の加熱になってしまい、局所加熱は困難であった。そのため、流路における必要な箇所以外の箇所を加熱することになってしまい、反応制御を行い難かった。
【0005】
本開示は、反応制御を行い易いマイクロリアクタを提供する。
【課題を解決するための手段】
【0006】
本開示のマイクロリアクタは、
流路を構成する流路構成部と、発熱部と、を備えるマイクロリアクタであって、
前記流路構成部は、前記発熱部によって加熱される加熱領域と、前記発熱部によって加熱されない非加熱領域と、を有する。
【発明の効果】
【0007】
本開示に係るマイクロリアクタは、反応制御を行い易くなる。
【図面の簡単な説明】
【0008】
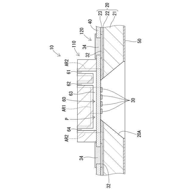
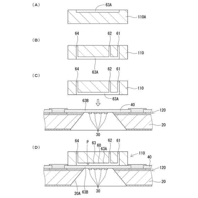
図1は、第1実施形態のマイクロリアクタを概略的に示す側断面図である。
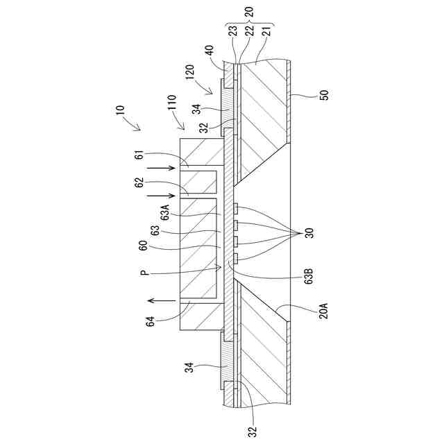
図2は、図1のマイクロリアクタの流路構成部を説明する説明図である。
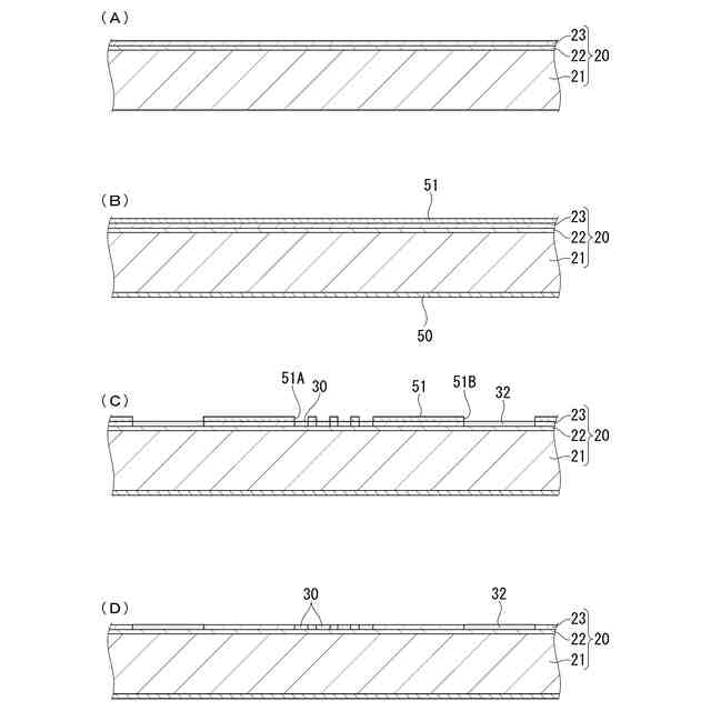
図3は、図1のマイクロリアクタの製造工程を説明する工程図である。
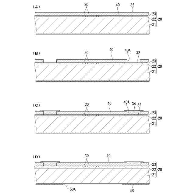
図4は、図3に続くマイクロリアクタの製造工程を説明する工程図である。
図5は、図4に続くマイクロリアクタの製造工程を説明する工程図である。
図6は、図5に続くマイクロリアクタの製造工程を説明する工程図である。
図7は、第2実施形態のマイクロリアクタを概略的に示す側断面図である。
【発明を実施するための形態】
【0009】
以下では、本開示の実施形態が列記されて例示される。
〔1〕流路を構成する流路構成部と、発熱部と、を備えるマイクロリアクタであって、
前記流路構成部は、前記発熱部によって加熱される加熱領域と、前記発熱部によって加熱されない非加熱領域と、を有するマイクロリアクタ。
【0010】
このような構成によって、発熱部によって流路構成部における加熱領域のみを加熱することができる。そのため、流路構成部における必要な箇所(加熱領域)のみを加熱することができ、反応制御を行い易くなる。
(【0011】以降は省略されています)
この特許をJ-PlatPat(特許庁公式サイト)で参照する
関連特許
日本特殊陶業株式会社
保持部材
12日前
日本特殊陶業株式会社
保持装置
2日前
日本特殊陶業株式会社
保持装置
今日
日本特殊陶業株式会社
超音波発生装置
2日前
日本特殊陶業株式会社
超音波発生装置
2日前
日本特殊陶業株式会社
マイクロリアクタ
2日前
日本特殊陶業株式会社
セラミックヒータ
2日前
日本特殊陶業株式会社
圧電素子およびその利用
2日前
日本特殊陶業株式会社
圧電素子およびその利用
2日前
日本特殊陶業株式会社
積層圧電セラミック素子及び装置
2日前
日本特殊陶業株式会社
積層圧電セラミック素子及び装置
2日前
日本特殊陶業株式会社
積層圧電セラミック素子及び装置
2日前
日本特殊陶業株式会社
ヒータの製造方法及びガスセンサの製造方法
6日前
日本特殊陶業株式会社
積層圧電セラミック部品、およびそれを備える装置
2日前
日本特殊陶業株式会社
積層圧電セラミック部品、およびそれを備える装置
2日前
日本特殊陶業株式会社
保持装置
今日
日本特殊陶業株式会社
セルスタック、セルスタックシステムの製造方法、ホットモジュール、及び、ガス製造装置
12日前
日本特殊陶業株式会社
電気化学単セル、インターコネクタ接合体、セルスタック、ホットモジュール、及び、ガス製造装置
2日前
日本特殊陶業株式会社
非接触給電用コイル、送電装置、受電装置、電力伝送システム、及び非接触給電用コイルの製造方法
5日前
東レ株式会社
複合半透膜
1か月前
日本ソリッド株式会社
屋外沈殿池
1か月前
三洋化成工業株式会社
水処理薬剤
1か月前
株式会社ニクニ
液体処理装置
12日前
株式会社大善
濃縮脱水機
22日前
日本化薬株式会社
メタノール改質触媒
13日前
三機工業株式会社
ろ過装置
1か月前
株式会社フクハラ
圧縮空気圧回路
1か月前
テルモ株式会社
ろ過デバイス
23日前
株式会社カネカ
製造システム
29日前
株式会社MRT
微細バブル発生装置
2日前
株式会社カネカ
濃縮システム
1か月前
株式会社切川物産
撹拌混合装置
26日前
株式会社Tornada
気泡発生装置
29日前
日本ソリッド株式会社
水中懸濁物質付着素材
21日前
東京理化器械株式会社
クリップ
6日前
株式会社笹山工業所
濁水処理システム
2日前
続きを見る
他の特許を見る