TOP
|
特許
|
意匠
|
商標
特許ウォッチ
Twitter
他の特許を見る
公開番号
2025143753
公報種別
公開特許公報(A)
公開日
2025-10-02
出願番号
2024043166
出願日
2024-03-19
発明の名称
セラミックヒータ
出願人
日本特殊陶業株式会社
代理人
個人
主分類
H05B
3/18 20060101AFI20250925BHJP(他に分類されない電気技術)
要約
【課題】強度に優れたセラミックヒータを提供する。
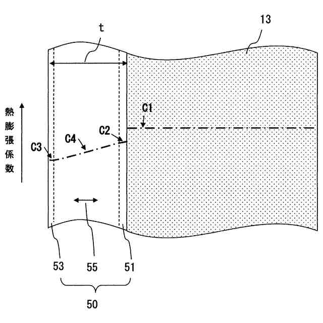
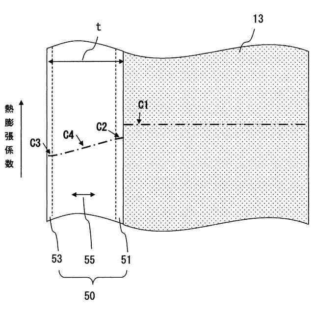
【解決手段】軸線O方向に延びる柱状のセラミック製の支持体17と、支持体の先端側の外周に巻き付けられ、発熱抵抗体40が埋設されたセラミックシート19と、を有するセラミック体13と、ガラスを主体とし、セラミック体の表面を被覆するように構成されたコート層50と、を備えたセラミックヒータ11であって、コート層は、セラミックシートのうち発熱抵抗体が埋設された領域R1を少なくとも覆うように構成され、コート層の厚みをtとし、コート層のうちセラミック体との界面から0.1×tの厚み部分をA領域51とし、コート層のうち最表面から0.1×tの厚み部分をB領域53としたとき、セラミック体の熱膨張係数C1>A領域の熱膨張係数C2>B領域の熱膨張係数C3の関係を満たす。
【選択図】図4
特許請求の範囲
【請求項1】
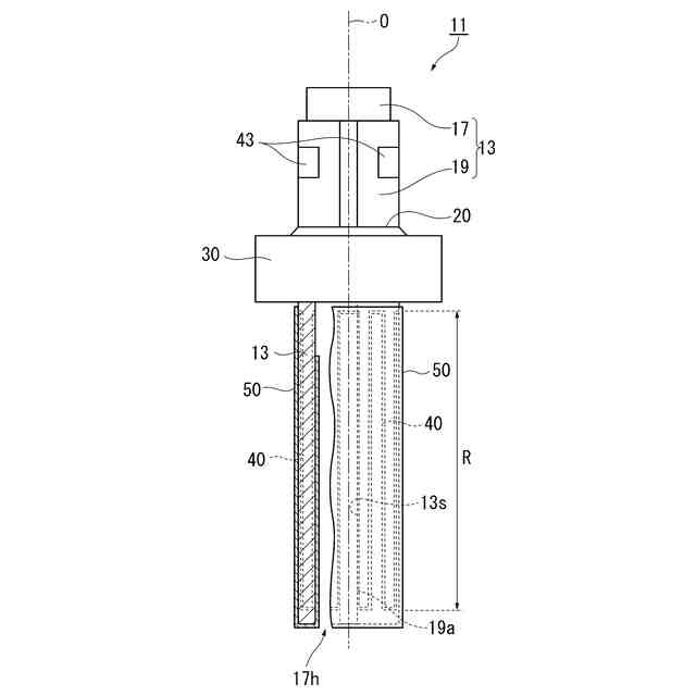
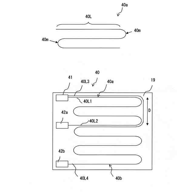
軸線方向に延びる柱状のセラミック製の支持体と、前記支持体の先端側の外周に巻き付けられ、発熱抵抗体が埋設されたセラミックシートと、を有するセラミック体と、
ガラスを主体とし、前記セラミック体の表面を被覆するように構成されたコート層と、
を備えたセラミックヒータであって、
前記コート層は、前記セラミックシートのうち前記発熱抵抗体が埋設された領域R1を少なくとも覆うように構成され、
前記コート層の厚みをtとし、前記コート層のうち前記セラミック体との界面から0.1×tの厚み部分をA領域とし、前記コート層のうち最表面から0.1×tの厚み部分をB領域としたとき、
前記セラミック体の熱膨張係数C1>前記A領域の熱膨張係数C2>前記B領域の熱膨張係数C3の関係を満たすことを特徴とするセラミックヒータ。
続きを表示(約 560 文字)
【請求項2】
前記コート層は、前記領域R1に繋がりつつ、前記セラミック体の先端向き面を覆うことを特徴とする請求項1に記載のセラミックヒータ。
【請求項3】
前記セラミック体は筒状であり、
前記コート層は、前記セラミック体の先端向き面に繋がりつつ、前記支持体の内面の少なくとも一部を覆うことを特徴とする請求項2に記載のセラミックヒータ。
【請求項4】
前記A領域のガラス転移点T2>前記B領域のガラス転移点T3の関係を満たすことを特徴とする請求項1に記載のセラミックヒータ。
【請求項5】
流体加熱用であることを特徴とする請求項1に記載のセラミックヒータ。
【請求項6】
前記B領域のアルカリ金属酸化物含有量が5.41wt%以下であることを特徴とする請求項1に記載のセラミックヒータ。
【請求項7】
前記B領域のアルミナ含有量が10wt%以下であることを特徴とする請求項6に記載のセラミックヒータ。
【請求項8】
前記コート層の厚み方向に前記A領域と前記B領域との間に、中間領域が存在し、
前記中間領域の熱膨張係数C4は、C2>C4>C3の関係を満たすことを特徴とする請求項1に記載のセラミックヒータ。
発明の詳細な説明
【技術分野】
【0001】
本発明は、例えば温水洗浄便座、ファンヒータ、電気温水器、24時間風呂、半田ごて、ヘアアイロン等に用いられるセラミックヒータに関する。
続きを表示(約 1,600 文字)
【背景技術】
【0002】
従来、例えば温水洗浄便座には、樹脂製の容器(熱交換器)を有する熱交換ユニットが用いられており、この熱交換ユニットには、熱交換器内に収容された洗浄水を暖めるために、長尺のパイプ状のセラミックヒータが配置されている。
このセラミックヒータとしては、円筒状のセラミック製碍管に、発熱抵抗体となるヒータ配線回路を印刷したセラミックシートを巻き付け、一体焼成したものが用いられている。そして、熱交換器の内壁と、セラミックヒータの外周との隙間に流れる水がセラミックヒータで加熱される。
また、セラミックヒータの外面にガラス製の平滑なコート層を被覆し、セラミックヒータ表面へのスケールの付着を抑制した技術が報告されている(特許文献1参照)。
【先行技術文献】
【特許文献】
【0003】
特開2018-92880号公報
【発明の概要】
【発明が解決しようとする課題】
【0004】
ところで、セラミックヒータはシーズヒータ等に比べて液体を急速加熱できるが、加熱したヒータ表面に冷たい液体が局所的に接触する熱衝撃や、物理的(機械的)衝撃によりヒータが破損するおそれがある。
【0005】
そこで、本発明は、強度に優れたセラミックヒータの提供を目的とする。
【課題を解決するための手段】
【0006】
上記課題を解決するため、本発明のセラミックヒータは、軸線方向に延びる柱状のセラミック製の支持体と、前記支持体の先端側の外周に巻き付けられ、発熱抵抗体が埋設されたセラミックシートと、を有するセラミック体と、ガラスを主体とし、前記セラミック体の表面を被覆するように構成されたコート層と、を備えたセラミックヒータであって、前記コート層は、前記セラミックシートのうち前記発熱抵抗体が埋設された領域R1を少なくとも覆うように構成され、前記コート層の厚みをtとし、前記コート層のうち前記セラミック体との界面から0.1×tの厚み部分をA領域とし、前記コート層のうち最表面から0.1×tの厚み部分をB領域としたとき、前記セラミック体の熱膨張係数C1>前記A領域の熱膨張係数C2>前記B領域の熱膨張係数C3の関係を満たすことを特徴とする。
【0007】
このセラミックヒータによれば、セラミック体、A領域及びB領域のうち、最表面に位置して最も熱膨張係数が小さいB領域に圧縮応力が残存するので、B領域の強度が向上する。
これにより、セラミック体の外面を覆うB領域に対し、熱衝撃や機械的衝撃が加わっても、これら衝撃に耐えてセラミックヒータの破損を抑制することができる。
【0008】
本発明のセラミックヒータにおいて、前記コート層は、前記領域R1に繋がりつつ、前記セラミック体の先端向き面を覆ってもよい。
このセラミックヒータによれば、セラミック体の先端向き面の熱衝撃や機械的衝撃にも耐えることができる。
【0009】
本発明のセラミックヒータにおいて、前記セラミック体は筒状であり、前記コート層は、前記セラミック体の先端向き面に繋がりつつ、前記支持体の内面の少なくとも一部を覆ってもよい。
このセラミックヒータによれば、支持体の内面の熱衝撃や機械的衝撃にも耐えることができる。
【0010】
本発明のセラミックヒータにおいて、前記A領域のガラス転移点T2>前記B領域のガラス転移点T3の関係を満たしてもよい。
このセラミックヒータによれば、ガラス転移点の高いA領域を形成して焼成した後、A領域の上にガラス転移点の低いB領域を形成して焼成することができる。
(【0011】以降は省略されています)
この特許をJ-PlatPat(特許庁公式サイト)で参照する
関連特許
日本特殊陶業株式会社
保持装置
3日前
日本特殊陶業株式会社
保持装置
1日前
日本特殊陶業株式会社
保持部材
13日前
日本特殊陶業株式会社
樹脂成形体
13日前
日本特殊陶業株式会社
抗菌処理装置
13日前
日本特殊陶業株式会社
超音波発生装置
3日前
日本特殊陶業株式会社
超音波発生装置
3日前
日本特殊陶業株式会社
セラミックヒータ
3日前
日本特殊陶業株式会社
セラミックヒータ
今日
日本特殊陶業株式会社
セラミックヒータ
今日
日本特殊陶業株式会社
マイクロリアクタ
3日前
日本特殊陶業株式会社
圧電セラミック積層体
21日前
日本特殊陶業株式会社
圧電セラミック積層体
今日
日本特殊陶業株式会社
限界電流式ガスセンサ
15日前
日本特殊陶業株式会社
圧電セラミック積層体
21日前
日本特殊陶業株式会社
圧電素子およびその利用
3日前
日本特殊陶業株式会社
圧電素子およびその利用
3日前
日本特殊陶業株式会社
セラミック部材の製造方法
13日前
日本特殊陶業株式会社
積層圧電セラミック素子及び装置
3日前
日本特殊陶業株式会社
積層圧電セラミック素子及び装置
3日前
日本特殊陶業株式会社
積層圧電セラミック素子及び装置
3日前
日本特殊陶業株式会社
セラミックヒータ及び液体加熱装置
今日
日本特殊陶業株式会社
ヒータの製造方法及びガスセンサの製造方法
7日前
日本特殊陶業株式会社
積層圧電セラミック部品、およびそれを備える装置
3日前
日本特殊陶業株式会社
積層圧電セラミック部品、およびそれを備える装置
3日前
日本特殊陶業株式会社
モルタル又はコンクリート、及びそれを用いた構造体
13日前
日本特殊陶業株式会社
保持装置
1日前
日本特殊陶業株式会社
セラミックス焼結体、ベアリングボール、および、切削工具
13日前
日本特殊陶業株式会社
セラミックス焼結体、ベアリングボール、および、切削工具
13日前
日本特殊陶業株式会社
セラミックス焼結体、ベアリングボール、および、切削工具
13日前
日本特殊陶業株式会社
セラミックヒータの制御装置、加熱装置、および、プログラム
今日
日本特殊陶業株式会社
セルスタック、セルスタックシステムの製造方法、ホットモジュール、及び、ガス製造装置
13日前
日本特殊陶業株式会社
固体電解質の製造方法、セパレータの製造方法、電極の製造方法および蓄電デバイスの製造方法
22日前
日本特殊陶業株式会社
セルスタックモジュール、セルスタックの故障検知システム、及び、セルスタックの故障検知方法
15日前
日本特殊陶業株式会社
非接触給電用コイル、送電装置、受電装置、電力伝送システム、及び非接触給電用コイルの製造方法
6日前
日本特殊陶業株式会社
電気化学単セル、インターコネクタ接合体、セルスタック、ホットモジュール、及び、ガス製造装置
3日前
続きを見る
他の特許を見る