TOP
|
特許
|
意匠
|
商標
特許ウォッチ
Twitter
他の特許を見る
公開番号
2025145193
公報種別
公開特許公報(A)
公開日
2025-10-03
出願番号
2024045250
出願日
2024-03-21
発明の名称
保持装置
出願人
日本特殊陶業株式会社
代理人
個人
主分類
H01L
21/683 20060101AFI20250926BHJP(基本的電気素子)
要約
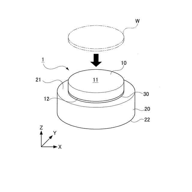
【課題】保持面における抜熱性を向上させることができる保持装置を提供すること。
【解決手段】保持面11と、厚み方向にて保持面11とは反対側に設けられる下面12とを備えるセラミックス板10と、セラミックス板10の内部に形成される冷媒を流すための冷媒流路41と、セラミックス板10の内部に形成される不活性ガスを保持面11上に供給するためのガス流路41と、を備え、保持面11上に半導体ウエハWを保持する静電チャック1において、冷媒流路41は、XY面方向に形成される冷媒トンネル14を備え、ガス流路41は、XY面方向に形成されるガストンネル42を備え、冷媒トンネル14は、ガストンネル42より保持面11側に配置されている。
【選択図】図2
特許請求の範囲
【請求項1】
第1の面と、厚み方向にて前記第1の面とは反対側に設けられる第2の面とを備える板状部材と、
前記板状部材の内部に形成される冷媒を流すための冷媒流路と、
前記板状部材の内部に形成される不活性ガスを前記第1の面上に供給するためのガス流路と、を備え、
前記第1の面上に対象物を保持する保持装置において、
前記冷媒流路は、面方向に形成される冷媒トンネルを備え、
前記ガス流路は、面方向に形成されるガストンネルを備え、
前記冷媒トンネルは、前記ガストンネルより前記第1の面側に配置されている
ことを特徴とする保持装置。
続きを表示(約 750 文字)
【請求項2】
請求項1に記載する保持装置において、
前記板状部材は、前記第1の面側に位置する第1の板状部材と、前記第2の面側に位置する第2の板状部材とを備え、
前記冷媒トンネルは、前記第1の板状部材の内部に配置され、
前記ガストンネルは、前記第1の板状部材の内部に配置されている
ことを特徴とする保持装置。
【請求項3】
請求項1に記載する保持装置において、
前記板状部材は、前記第1の面側に位置する第1の板状部材と、前記第2の面側に位置する第2の板状部材とを備え、
前記第1の板状部材と前記第2の板状部材は接合層を介して接合され、
前記ガストンネルは、前記第2の板状部材の内部に配置されている
ことを特徴とする保持装置。
【請求項4】
請求項1から請求項3のいずれか1つに記載する保持装置において、
前記板状部材は、その内部にチャック電極を備えており、
前記冷媒トンネルは、前記チャック電極より前記第2の面側に配置されている
ことを特徴とする保持装置。
【請求項5】
請求項1から請求項3のいずれか1つに記載する保持装置において、
前記板状部材には、前記第1の面と前記第2の面とを貫通する貫通孔が形成されており、
前記冷媒トンネルは、前記貫通孔の周りに配置される第1の冷媒トンネルと、前記第1の冷媒トンネルと比較して前記貫通孔から遠い位置に配置される第2の冷媒トンネルと、を備え、
前記第1の冷媒トンネルの面方向と直交する方向の断面積は、前記第2の冷媒トンネルの面方向と直交する方向の断面積より小さい
ことを特徴とする保持装置。
発明の詳細な説明
【技術分野】
【0001】
本開示は、対象物を保持する保持装置に関する。
続きを表示(約 1,500 文字)
【背景技術】
【0002】
半導体製造工程において、半導体ウエハを保持するために、静電チャック(保持装置)が使用されている。このような静電チャックとして、例えば特許文献1に、半導体ウエハを保持するセラミック絶縁板と、冷媒流路を備える金属ベースと、セラミック絶縁板と金属ベースとを接合する接着剤層とを備えるものが開示されている。
【0003】
そして、この静電チャックでは、保持する半導体ウエハを冷却するための冷却用ガスを保持面に供給するために、セラミック絶縁板の内部にガス流路が設けられている。これにより、冷媒流路を流れる冷媒と保持面に供給される冷却用ガスによって、保持する半導体ウエハを均一に冷却するようになっている。
【先行技術文献】
【特許文献】
【0004】
特許第5554525号公報
【発明の概要】
【発明が解決しようとする課題】
【0005】
しかしながら、上記の静電チャックでは、冷媒流路と保持面との間にガス流路が配置されている。そのため、冷媒流路から保持面までの距離が大きくなってしまう。また、冷媒流路と保持面との間に配置されているガス流路は空間なので熱伝達が悪くなる。これらのことから、冷媒流路を流れる冷媒による保持面の冷却効果が低下してしまうため、保持面における抜熱性(熱引き性能)が悪化するおそれがある。
【0006】
そして、近年、静電チャックに対して高電圧が印加される(ハイパワーで使用されるため)ことが増えており、半導体ウエハへの入熱量が増加している。そのため、保持面における抜熱性の向上が求められている。
【0007】
そこで、本開示は上記した問題点を解決するためになされたものであり、保持面における抜熱性を向上させることができる保持装置を提供することを目的とする。
【課題を解決するための手段】
【0008】
上記課題を解決するためになされた本開示の一形態は、
第1の面と、厚み方向にて前記第1の面とは反対側に設けられる第2の面とを備える板状部材と、
前記板状部材の内部に形成される冷媒を流すための冷媒流路と、
前記板状部材の内部に形成される不活性ガスを前記第1の面上に供給するためのガス流路と、を備え、
前記第1の面上に対象物を保持する保持装置において、
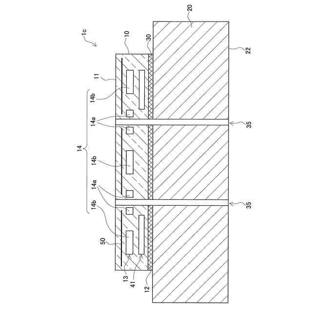
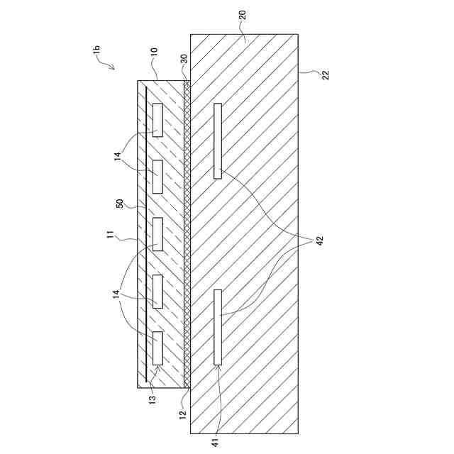
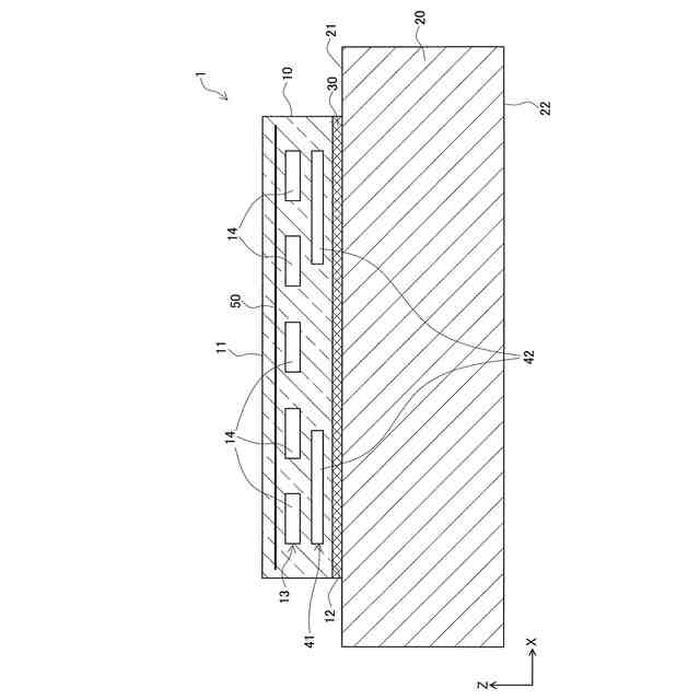
前記冷媒流路は、面方向に形成される冷媒トンネルを備え、
前記ガス流路は、面方向に形成されるガストンネルを備え、
前記冷媒トンネルは、前記ガストンネルより前記第1の面側に配置されていることを特徴とする。
【0009】
この保持装置では、冷媒流路とガス流路が板状部材内に形成されている。そして、冷媒流路に備わる冷媒トンネルが、ガス流路に備わるガストンネルより第1の面側に配置されている。そのため、冷媒流路の冷媒トンネルと第1の面との間にガス流路のガストンネルが存在しないので、冷媒トンネルを第1の面に近づけて配置することができる。これにより、冷媒流路内を流れる冷媒の熱を短時間で効率良く第1の面に伝えることができる。従って、第1の面における抜熱性を向上させることができる。
【0010】
上記した保持装置において、
前記板状部材は、前記第1の面側に位置する第1の板状部材と、前記第2の面側に位置する第2の板状部材とを備え、
前記冷媒トンネルは、前記第1の板状部材の内部に配置され、
前記ガストンネルは、前記第1の板状部材の内部に配置されていることが好ましい。
(【0011】以降は省略されています)
この特許をJ-PlatPat(特許庁公式サイト)で参照する
関連特許
日本特殊陶業株式会社
電極
5日前
日本特殊陶業株式会社
電極
5日前
日本特殊陶業株式会社
電極
5日前
日本特殊陶業株式会社
電極
5日前
日本特殊陶業株式会社
保持部材
19日前
日本特殊陶業株式会社
保持装置
5日前
日本特殊陶業株式会社
保持装置
5日前
日本特殊陶業株式会社
保持装置
9日前
日本特殊陶業株式会社
保持装置
7日前
日本特殊陶業株式会社
樹脂成形体
19日前
日本特殊陶業株式会社
超音波発生装置
9日前
日本特殊陶業株式会社
超音波発生装置
9日前
日本特殊陶業株式会社
セラミックヒータ
6日前
日本特殊陶業株式会社
マイクロリアクタ
9日前
日本特殊陶業株式会社
セラミックヒータ
6日前
日本特殊陶業株式会社
セラミックヒータ
9日前
日本特殊陶業株式会社
圧電セラミック積層体
6日前
日本特殊陶業株式会社
ガスセンサの製造方法
今日
日本特殊陶業株式会社
圧電素子およびその利用
9日前
日本特殊陶業株式会社
圧電素子およびその利用
9日前
日本特殊陶業株式会社
セラミック部材の製造方法
19日前
日本特殊陶業株式会社
金属有機構造体、および賦形体
1日前
日本特殊陶業株式会社
積層圧電セラミック素子及び装置
9日前
日本特殊陶業株式会社
配線基板および導電層の製造方法
5日前
日本特殊陶業株式会社
配線基板および導電層の製造方法
5日前
日本特殊陶業株式会社
積層圧電セラミック素子及び装置
9日前
日本特殊陶業株式会社
積層圧電セラミック素子及び装置
9日前
日本特殊陶業株式会社
海洋無脊椎動物の陸上養殖システム
5日前
日本特殊陶業株式会社
セラミックヒータ及び液体加熱装置
6日前
日本特殊陶業株式会社
基板保持部材及びセラミックスサセプタ
1日前
日本特殊陶業株式会社
基板保持部材及びセラミックスサセプタ
1日前
日本特殊陶業株式会社
ヒータの製造方法及びガスセンサの製造方法
13日前
日本特殊陶業株式会社
積層圧電セラミック部品、およびそれを備える装置
9日前
日本特殊陶業株式会社
積層圧電セラミック部品、およびそれを備える装置
9日前
日本特殊陶業株式会社
モルタル又はコンクリート、及びそれを用いた構造体
19日前
日本特殊陶業株式会社
保持装置
7日前
続きを見る
他の特許を見る