TOP
|
特許
|
意匠
|
商標
特許ウォッチ
Twitter
他の特許を見る
10個以上の画像は省略されています。
公開番号
2025145188
公報種別
公開特許公報(A)
公開日
2025-10-03
出願番号
2024045244
出願日
2024-03-21
発明の名称
保持装置
出願人
日本特殊陶業株式会社
代理人
個人
主分類
H01L
21/683 20060101AFI20250926BHJP(基本的電気素子)
要約
【課題】対象物を保持する保持面における均熱性を向上させることができる保持装置を提供すること。
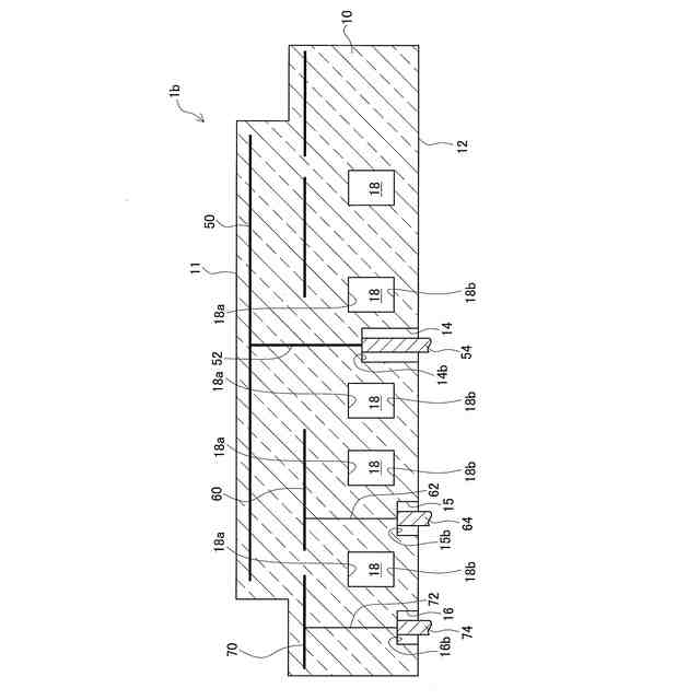
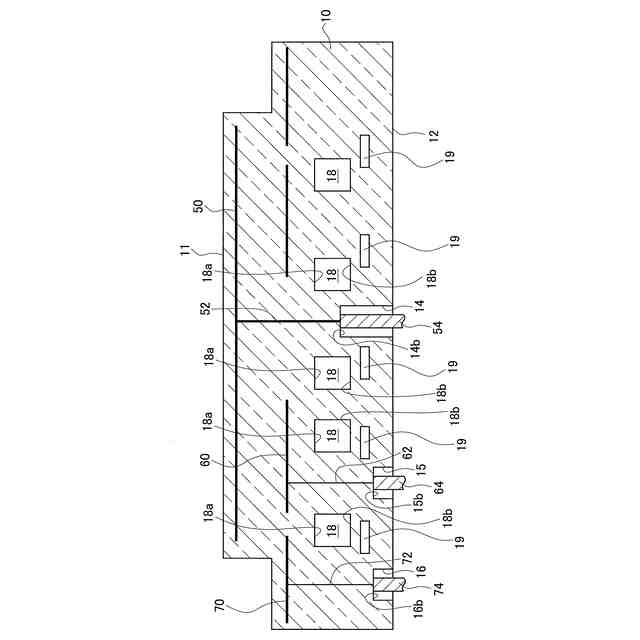
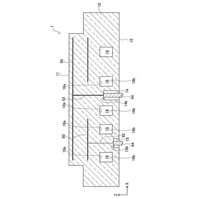
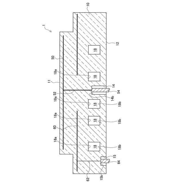
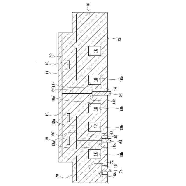
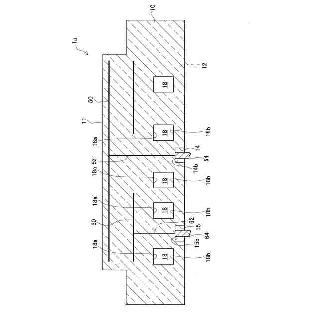
【解決手段】保持面11と、厚み方向にて保持面11とは反対側に設けられる下面12とを備えるセラミックス製の板状部材10と、板状部材10の内部に配置されるチャック電極50及びヒータ電極60と、を備え、保持面11上に半導体ウエハWを保持する静電チャック1において、板状部材10には、冷媒を流すための冷媒流路18と、チャック電極50及びヒータ電極60に電気的に接続される給電端子54及び64が配置されて下面12に開口する端子穴14及び15とが形成されており、端子穴14,15の底面14b,15bは、冷媒流路18の内面のうち保持面11側に位置する流路上面18aより下面12側に配置されている。
【選択図】図2
特許請求の範囲
【請求項1】
第1の面と、厚み方向にて前記第1の面とは反対側に設けられる第2の面とを備えるセラミックス製の板状部材と、
前記板状部材の内部に配置される内部電極と、を備え、
前記第1の面上に対象物を保持する保持装置において、
前記板状部材には、冷媒を流すための冷媒流路と、前記内部電極に電気的に接続される給電端子が配置されて前記第2の面に開口する有底穴とが形成されており、
前記有底穴の底面は、前記冷媒流路の内面のうち前記第1の面側に位置する第3の面より前記第2の面側に配置されている
ことを特徴とする保持装置。
続きを表示(約 270 文字)
【請求項2】
請求項1に記載する保持装置において、
前記有底穴の底面は、前記冷媒流路の内面のうち前記第2の面側に位置する第4の面より前記第2の面側に配置されている
ことを特徴とする保持装置。
【請求項3】
請求項1又は請求項2に記載する保持装置において、
前記板状部材は、前記内部電極を複数備えている
ことを特徴とする保持装置。
【請求項4】
請求項1に記載する保持装置において、
前記板状部材には、前記有底穴が複数形成されている
ことを特徴とする保持装置。
発明の詳細な説明
【技術分野】
【0001】
本開示は、対象物を保持する保持装置に関する。
続きを表示(約 1,800 文字)
【背景技術】
【0002】
半導体製造工程において、半導体ウエハを保持するために、静電チャック(保持装置)が使用されている。このような静電チャックとして、半導体ウエハを保持するセラミックス製の板状部材と、冷媒流路を備える金属性のベース部材と、板状部材とベース部材とを接合する接合層とを備えるものが広く知られている。この種の静電チャックでは、半導体ウエハに対するプロセス処理時において、接合層がプラズマによって損傷するおそれがある。そのため、接合層をプラズマから保護する必要がある。また、接合層はベース部材と板状部材との間における熱移動を制限してしまう。さらに、板状部材とベース部材との熱膨張率が異なるため、接合層において接合不良が発生するおそれもある。
【0003】
そこで、接合層を使用しない静電チャックとして、例えば特許文献1に、モノリシック本体(板状部材)のみで構成した静電チャックが開示されている。この静電チャックでは、セラミック製のモノリシック本体内に内部電極と冷媒流路とを設けている。これにより、接合層を備えることにより生じる上記の問題点を解消している。
【先行技術文献】
【特許文献】
【0004】
特表2022-520784号公報
【発明の概要】
【発明が解決しようとする課題】
【0005】
しかしながら、特許文献1に記載の静電チャックでは、モノリシック本体内の内部電極へ給電する給電端子を配置するために設けられた有底穴の底面が、冷媒流路の上面よりも上方(保持面側)に配置されている。そのため、有底穴が深くなり有底穴の体積が大きくなってしまう。そして、有底穴の部分は、空間であるため他の部分に比べ熱伝達がかなり悪くなる。従って、有底穴の周辺は、冷媒による冷却効果が低くなり、保持面において、有底穴の直上部分が温度特異点となり、保持面における均熱性が悪化するおそれがある。
【0006】
そこで、本開示は上記した問題点を解決するためになされたものであり、対象物を保持する保持面における均熱性を向上させることができる保持装置を提供することを目的とする。
【課題を解決するための手段】
【0007】
上記課題を解決するためになされた本開示の一形態は、
第1の面と、厚み方向にて前記第1の面とは反対側に設けられる第2の面とを備えるセラミックス製の板状部材と、
前記板状部材の内部に配置される内部電極と、を備え、
前記第1の面上に対象物を保持する保持装置において、
前記板状部材には、冷媒を流すための冷媒流路と、前記内部電極に電気的に接続される給電端子が配置されて前記第2の面に開口する有底穴とが形成されており、
前記有底穴の底面は、前記冷媒流路の内面のうち前記第1の面側に位置する第3の面より前記第2の面側に配置されていることを特徴とする。
【0008】
この保持装置では、有底穴の底面が冷媒流路の第3の面より下方に配置されているため、有底穴の深さが浅くなる。これにより、有底穴の体積が減少(板状部材の体積が増加)するため、有底穴の配置位置における熱伝達を向上させることができる。また、冷媒流路の第3の面より第1の面側には有底穴(空間)が存在しないため、冷媒の熱を平面視で板状部材全体へ均一に伝えることができる。これらのことから、板状部材において、有底穴の第3の面よりも第1の面側の部分で熱伝導を向上させることができるため、第1の面における均熱性を向上させることができる。
【0009】
上記した保持装置において、
前記有底穴の底面は、前記冷媒流路の内面のうち前記第2の面側に位置する第4の面より前記第2の面側に配置されていることが好ましい。
【0010】
このように有底穴の底面が冷媒流路の第4の面より下方に配置されていることにより、有底穴の体積を更に減少させる(板状部材の体積を更に増加させる)ことができる。そのため、冷媒の熱を第1の面へより効率良くかつ均一に伝えることができる。従って、第1の面における均熱性をより向上させることができる。
(【0011】以降は省略されています)
この特許をJ-PlatPat(特許庁公式サイト)で参照する
関連特許
日本特殊陶業株式会社
電極
今日
日本特殊陶業株式会社
電極
今日
日本特殊陶業株式会社
電極
今日
日本特殊陶業株式会社
電極
今日
日本特殊陶業株式会社
保持装置
4日前
日本特殊陶業株式会社
保持部材
14日前
日本特殊陶業株式会社
保持装置
今日
日本特殊陶業株式会社
保持装置
今日
日本特殊陶業株式会社
保持装置
2日前
日本特殊陶業株式会社
樹脂成形体
14日前
日本特殊陶業株式会社
抗菌処理装置
14日前
日本特殊陶業株式会社
超音波発生装置
4日前
日本特殊陶業株式会社
超音波発生装置
4日前
日本特殊陶業株式会社
セラミックヒータ
4日前
日本特殊陶業株式会社
セラミックヒータ
1日前
日本特殊陶業株式会社
マイクロリアクタ
4日前
日本特殊陶業株式会社
セラミックヒータ
1日前
日本特殊陶業株式会社
限界電流式ガスセンサ
16日前
日本特殊陶業株式会社
圧電セラミック積層体
1日前
日本特殊陶業株式会社
圧電素子およびその利用
4日前
日本特殊陶業株式会社
圧電素子およびその利用
4日前
日本特殊陶業株式会社
セラミック部材の製造方法
14日前
日本特殊陶業株式会社
積層圧電セラミック素子及び装置
4日前
日本特殊陶業株式会社
積層圧電セラミック素子及び装置
4日前
日本特殊陶業株式会社
積層圧電セラミック素子及び装置
4日前
日本特殊陶業株式会社
配線基板および導電層の製造方法
今日
日本特殊陶業株式会社
配線基板および導電層の製造方法
今日
日本特殊陶業株式会社
セラミックヒータ及び液体加熱装置
1日前
日本特殊陶業株式会社
海洋無脊椎動物の陸上養殖システム
今日
日本特殊陶業株式会社
ヒータの製造方法及びガスセンサの製造方法
8日前
日本特殊陶業株式会社
積層圧電セラミック部品、およびそれを備える装置
4日前
日本特殊陶業株式会社
積層圧電セラミック部品、およびそれを備える装置
4日前
日本特殊陶業株式会社
モルタル又はコンクリート、及びそれを用いた構造体
14日前
日本特殊陶業株式会社
保持装置
2日前
日本特殊陶業株式会社
セラミックス焼結体、ベアリングボール、および、切削工具
14日前
日本特殊陶業株式会社
セラミックス焼結体、ベアリングボール、および、切削工具
14日前
続きを見る
他の特許を見る