TOP
|
特許
|
意匠
|
商標
特許ウォッチ
Twitter
他の特許を見る
公開番号
2025090439
公報種別
公開特許公報(A)
公開日
2025-06-17
出願番号
2023205655
出願日
2023-12-05
発明の名称
眼科装置
出願人
株式会社ニデック
代理人
主分類
A61B
3/10 20060101AFI20250610BHJP(医学または獣医学;衛生学)
要約
【課題】 プリンタユニットに関する使い勝手を良くし、その使用感を向上する。
【解決手段】 被検眼を検査する検眼部と、ロール紙を収納する収納部と、被検眼の検査結果をロール紙から引き出された用紙に印字するプリンタと、収納部に収納されたロール紙及びプリンタを覆う開閉カバーと、を有するプリンタユニットと、を備え、プリンタユニットは、(a)ロール紙から引き出された用紙の丸まり状態を直す丸まり直し機構と、(b)プリンタから排出された用紙を切断する用紙切断部と、用紙切断部によってフルカットされた用紙を一時的に保持する用紙保持部と、を有する用紙切断・保持機構と、(c)開閉カバーを開かせるために操作者によって操作される操作ボタンを有し、操作ボタンの1回の操作によって開閉カバーを眼科装置の上側に自動的に開かせるメカ的なカバーオープン機構と、の少なくとも一つを備える。
【選択図】 図2
特許請求の範囲
【請求項1】
被検眼を検査する検眼部と、
ロール紙を収納する収納部と、前記検眼部による被検眼の検査結果を、前記ロール紙から引き出された用紙に印字するプリンタと、前記収納部に収納されたロール紙及び前記プリンタを覆う開閉カバーと、を有するプリンタユニットと、を備え、
前記プリンタユニットは、
(a)前記ロール紙から引き出された用紙の丸まり状態を直す丸まり直し機構と、
(b)前記プリンタから排出された用紙を切断する用紙切断部と、前記用紙切断部によってフルカットされた用紙を一時的に保持する用紙保持部と、を有する用紙切断・保持機構と、
(c)前記開閉カバーを開かせるために操作者によって操作される操作ボタンを有し、前記操作ボタンの1回の操作によって前記開閉カバーを前記眼科装置の上側に自動的に開かせるメカ的なカバーオープン機構と、
の少なくとも一つを備えることを特徴とする眼科装置。
続きを表示(約 1,100 文字)
【請求項2】
請求項1の眼科装置において、
前記丸まり直し機構は、前記収納部に収納された前記ロール紙と前記プリンタとの間の経路に、前記用紙の丸まり方向とは逆方向への力を前記用紙に加える力付与機構を備えることを特徴とする眼科装置。
【請求項3】
請求項2の眼科装置において、
前記力付与機構は、前記ロール紙からの前記用紙の引き出し位置と前記プリンタとを結ぶ線分に対し、前記ロール紙のロール中心が位置する側に離れたガイド部材であって、前記用紙の丸まり方向とは逆方向に前記用紙を反らせる曲面を持つガイド部材を備えることを特徴とする眼科装置。
【請求項4】
請求項1の眼科装置において、
前記用紙切断部によってフルカットされた用紙は、前記開閉カバーが閉じられた状態で、前記開閉カバーと前記眼科装置側との間に形成された隙間を持つ排出口から排出される構成であり、
前記用紙保持部は、前記開閉カバーに設けられた保持部材であって、前記開閉カバーが閉じられた場合に、前記開閉カバーに対向する前記眼科装置側との間に、前記プリンタからの用紙が排出可能な隙間が形成されると共に、前記用紙切断部によってフルカットされた前記用紙を摩擦力又は押圧力によって保持する保持部材を備えることを特徴とする眼科装置。
【請求項5】
請求項1又は4の眼科装置において、
前記用紙切断部は、用紙のフルカット及びパーシャルカットが可能とされ、
前記プリンタから送り出される用紙の長さに応じて、前記用紙のフルカットとパーシャルカットとを切換える切換手段を備えることを特徴とする眼科装置。
【請求項6】
請求項1の眼科装置において、
前記カバーオープン機構は、前記開閉カバーを開く方向に付勢する付勢手段と、前記付勢手段に抗して前記開閉カバーが閉じられた状態で開閉カバーのオープンをメカ的にロックするロック機構と、を備え、前記操作ボタンの操作によって前記ロック機構が解除されることで、前記付勢手段の付勢によって前記開閉カバーが上側に自動的に開くことを特徴とする眼科装置。
【請求項7】
請求項1又は6の眼科装置において、
眼科装置は、前記検眼部が移動可能に搭載される基台と、前記検眼部を被検眼に対して移動するために検者によって操作されるジョイスティックであって、前記基台に配置されたジョイスティックと、を備え、
前記開閉カバーは、前記ジョイスティックの周辺で前記基台に配置され、前記基台に対して上方向に開くことを特徴とする眼科装置。
発明の詳細な説明
【技術分野】
【0001】
本開示は、被検眼を検査する眼科装置に関する。
続きを表示(約 1,500 文字)
【背景技術】
【0002】
被検眼を検査する眼科装置においては、一般に、被検眼の検査結果を用紙に印字して出力するプリンタユニットを有する(例えば、特許文献1参照)。
【先行技術文献】
【特許文献】
【0003】
特開2006-326181号公報
【発明の概要】
【発明が解決しようとする課題】
【0004】
しかしながら、眼科装置が備えるプリンタユニットにおいては、使い勝手のさらなる改良が望まれる。例えば、従来のプリンタユニットにおいては、印字された用紙が丸まって排出され、カルテ等に貼り難い不都合、プリンタユニットから排出された用紙がパーシャルカット(用紙の一部が残った部分的な切断)される場合に、用紙が上手く引きちぎれない不都合、眼科装置が壁際等の窮屈な場所に設置された場合に、プリンタユニットの開閉カバーのオープンが行い難く、印字用のロール紙を交換し難い不都合、等があった。
【0005】
本開示は、上記従来装置に鑑み、プリンタユニットに関する使い勝手を良くし、その使用感を向上できる眼科装置を提供することを技術課題とする。
【課題を解決するための手段】
【0006】
本開示の第1態様に係る眼科装置は、被検眼を検査する検眼部と、ロール紙を収納する収納部と、前記検眼部による被検眼の検査結果を、前記ロール紙から引き出された用紙に印字するプリンタと、前記収納部に収納されたロール紙及び前記プリンタを覆う開閉カバーと、を有するプリンタユニットと、を備え、前記プリンタユニットは、(a)前記ロール紙から引き出された用紙の丸まり状態を直す丸まり直し機構と、(b)前記プリンタから排出された用紙を切断する用紙切断部と、前記用紙切断部によってフルカットされた用紙を一時的に保持する用紙保持部と、を有する用紙切断・保持機構と、(c)前記開閉カバーを開かせるために操作者によって操作される操作ボタンを有し、前記操作ボタンの1回の操作によって前記開閉カバーを前記眼科装置の上側に自動的に開かせるメカ的なカバーオープン機構と、の少なくとも一つを備えることを特徴とする。
【図面の簡単な説明】
【0007】
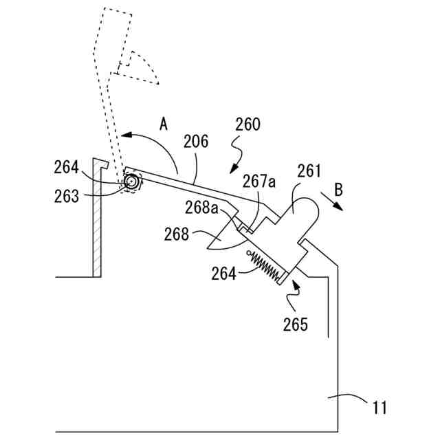
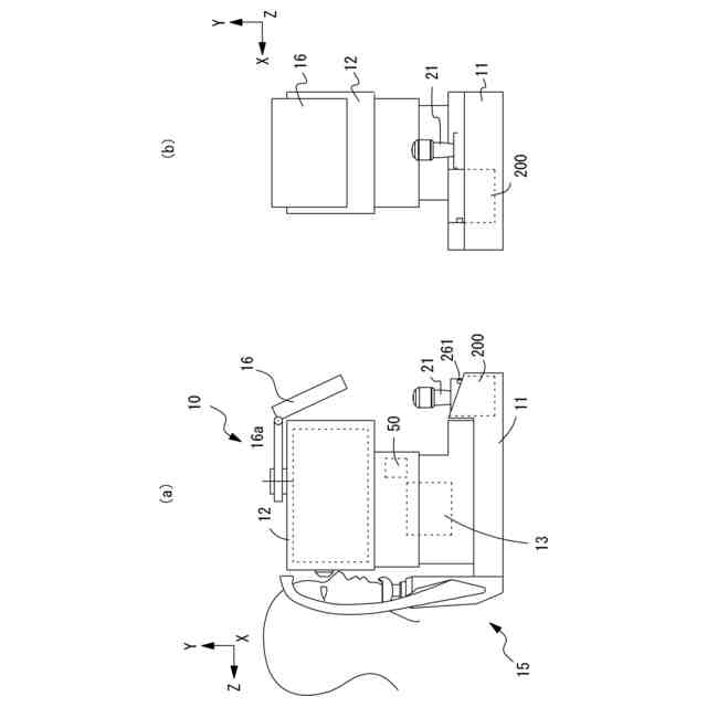
眼科装置の外観図である。
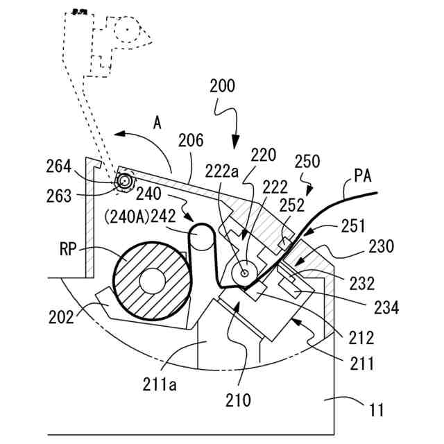
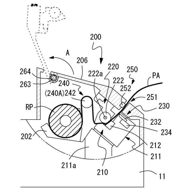
プリンタユニットの構成を説明する図である。
開閉カバーを開かせるカバーオープン機構部を説明する図である。
眼科装置の制御系を説明する図である。
用紙保持部の変容例を説明する図である。
【発明を実施するための形態】
【0008】
[概要]
以下、典型的な実施形態の1つについて、図面を参照して説明する。なお、以下の<>にて分類された項目は、独立又は関連して利用されうる。
【0009】
眼科装置(例えば、眼科装置10)は、被検眼を検査する検眼部(例えば、検眼部12)と、プリンタユニット(例えば、プリンタユニット200)と、を備える。例えば、検眼部は、被検眼の検査(測定、撮影を含む)に利用する検査光学系を備える。例えば、検査光学系は、眼屈折力測定光学系、角膜形状測定光学系、眼圧測定光学系、眼軸長測定光学系、眼組織断層像を得るOCT光学系、眼底撮影光学系、角膜内皮撮影光学系の少なくとも一つを備える。
【0010】
例えば、眼科装置は、検眼部が移動可能に搭載される基台(例えば、基台11)と、検者によって操作されるジョイスティック(例えば、ジョイスティック21)と、を備える。ジョイスティックは、検眼部を被検眼に対して移動するために利用される。
(【0011】以降は省略されています)
特許ウォッチbot のツイートを見る
この特許をJ-PlatPat(特許庁公式サイト)で参照する
関連特許
株式会社ニデック
眼科装置
17日前
株式会社ニデック
非接触眼圧測定装置、アライメント方法およびプログラム
1日前
個人
短下肢装具
2か月前
個人
洗井間専家。
6か月前
個人
嚥下鍛錬装置
2か月前
個人
白内障治療法
6か月前
個人
前腕誘導装置
2か月前
個人
アイマスク装置
1か月前
個人
胸骨圧迫補助具
29日前
個人
歯の修復用材料
3か月前
個人
ホバーアイロン
5か月前
個人
汚れ防止シート
5日前
個人
矯正椅子
4か月前
個人
バッグ式オムツ
3か月前
個人
シャンプー
5か月前
個人
車椅子持ち上げ器
6か月前
三生医薬株式会社
錠剤
6か月前
個人
歯の保護用シール
4か月前
個人
陣痛緩和具
2か月前
個人
湿布連続貼り機。
1か月前
個人
哺乳瓶冷まし容器
2か月前
個人
治療用酸化防御装置
23日前
株式会社結心
手袋
7か月前
個人
エア誘導コルセット
1か月前
個人
性行為補助具
2か月前
株式会社八光
剥離吸引管
4か月前
個人
服薬支援装置
6か月前
株式会社大野
骨壷
3か月前
個人
シリンダ式歩行補助具
2か月前
株式会社GSユアサ
歩行器
4か月前
株式会社コロナ
サウナ装置
5か月前
株式会社ダリヤ
毛髪化粧料
15日前
個人
形見の製造方法
3か月前
株式会社ニデック
眼科装置
3か月前
株式会社ニデック
眼科装置
17日前
株式会社ダリヤ
皮膚化粧料
6か月前
続きを見る
他の特許を見る