TOP
|
特許
|
意匠
|
商標
特許ウォッチ
Twitter
他の特許を見る
公開番号
2025092431
公報種別
公開特許公報(A)
公開日
2025-06-19
出願番号
2024199739
出願日
2024-11-15
発明の名称
流体デバイス
出願人
国立大学法人信州大学
代理人
個人
,
個人
,
個人
,
個人
,
個人
主分類
B01D
43/00 20060101AFI20250612BHJP(物理的または化学的方法または装置一般)
要約
【課題】音響収束を利用し液体中の微粒子を濃縮させる流体デバイスであって、動作の制御が容易な流体デバイスを提供する。
【解決手段】粒子を含む液体を流動させる流路を有し、液体を流動させながら流路の断面において粒子を収束させる収束部と、収束部の動作を制御する制御部と、を備え、収束部は、流路として液体が流動する第1流路及び第2流路を有する流路部材と、流路部材を振動させる振動部と、を有し、振動部は、主面に流路部材が取り付けられる振動板と、振動板を振動板の厚さ方向に振動させる振動子と、を有し、制御部は、第1の周波数を有し第1流路に定常波を生じさせる第1の超音波振動と、第2の周波数を有し第2流路に定常波を生じさせる第2の超音波振動と、の合成振動を振動子に生じさせる流体デバイス。
【選択図】図2
特許請求の範囲
【請求項1】
粒子を含む液体を流動させる流路を有し、前記液体を流動させながら前記流路の断面において前記粒子を収束させる収束部と、
前記収束部の動作を制御する制御部と、を備え、
前記収束部は、前記流路として前記液体が流動する第1流路及び第2流路を有する流路部材と、
前記流路部材を振動させる振動部と、を有し、
前記振動部は、主面に前記流路部材が取り付けられる振動板と、
前記振動板を前記振動板の厚さ方向に振動させる振動子と、を有し、
前記制御部は、第1の周波数を有し前記第1流路に定常波を生じさせる第1の超音波振動と、第2の周波数を有し前記第2流路に定常波を生じさせる第2の超音波振動と、の合成振動を前記振動子に生じさせる流体デバイス。
続きを表示(約 1,200 文字)
【請求項2】
前記制御部は、前記第1の超音波振動の振動波形と、前記第2の超音波振動の振動波形との合成波形の超音波振動を前記振動子に生じさせる請求項1に記載の流体デバイス。
【請求項3】
前記制御部は、単位時間内において、前記第1の周波数と前記第2の周波数との間で前記振動子に生じさせる振動の周波数を変化させる請求項1に記載の流体デバイス。
【請求項4】
前記第1流路の前記断面は円形である請求項1から3のいずれか1項に記載の流体デバイス。
【請求項5】
前記第1流路の前記断面は矩形であり、
前記制御部は、半波長が前記矩形の長辺の長さと等しい超音波振動である第1成分と、半波長が前記矩形の短辺の長さと等しい超音波振動である第2成分と、の合成振動を前記第1の超音波振動として用いる請求項1から3のいずれか1項に記載の流体デバイス。
【請求項6】
前記制御部は、前記第1流路の寸法と前記第1の周波数との対応関係を記憶する記憶部と、
前記第1流路の実寸を入力する入力手段と、
前記実寸と前記対応関係とに基づいて前記第1の超音波振動を決定する決定部と、
前記合成振動を前記振動子に生じさせる駆動信号を作成する信号作成部とを有する請求項1から3のいずれか1項に記載の流体デバイス。
【請求項7】
前記第1流路を流動する前記液体の温度を検出する検出手段を備え、
前記制御部は、前記検出手段から送信される信号から前記温度を求める測定部と、
前記温度と前記第1の周波数との対応関係を記憶する記憶部と、
前記温度と前記対応関係とに基づいて前記第1の超音波振動を決定する決定部と、
前記合成振動を前記振動子に生じさせる駆動信号を作成する信号作成部とを有する請求項1から3のいずれか1項に記載の流体デバイス。
【請求項8】
前記制御部は、前記第1流路を流動する前記液体が温度変化しうる温度帯の上限温度と前記第1の周波数との対応関係と、前記温度帯の下限温度と前記第1の周波数との対応関係と、を記憶する記憶部と、
前記上限温度と前記第1の周波数との対応関係に基づいて決定される高温超音波振動と、前記下限温度と前記第1の周波数との対応関係に基づいて決定される低温超音波振動との合成振動を、前記第1の超音波振動として決定する決定部と、
前記合成振動を前記振動子に生じさせる駆動信号を作成する信号作成部とを有する請求項1から3のいずれか1項に記載の流体デバイス。
【請求項9】
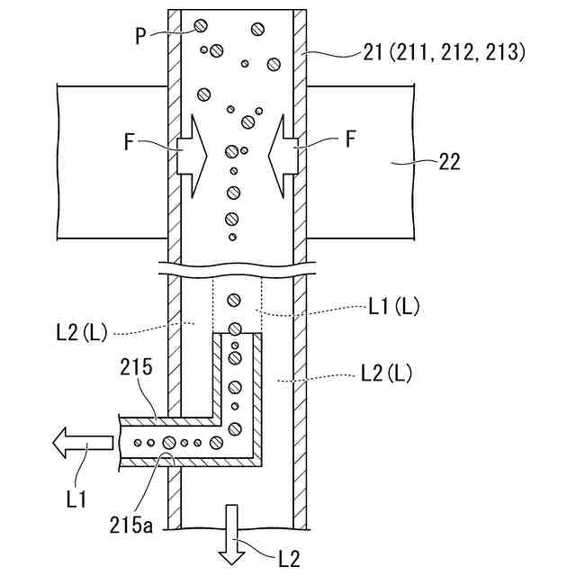
前記振動部の下流側において、前記第1流路は、前記断面の中央部を流動し前記粒子が濃縮された第1液体成分が流れ込む第1分岐流路と、
前記断面の周縁部を流動する第2液体成分が流れ込む第2分岐流路と、を有する請求項1から3のいずれか1項に記載の流体デバイス。
発明の詳細な説明
【技術分野】
【0001】
本発明は、流体デバイスに関する。
続きを表示(約 1,300 文字)
【背景技術】
【0002】
従来、流体(液体)中の微粒子を音響収束させる流体デバイスが知られている(例えば、特許文献1参照)。特許文献1に記載の流体デバイスは、流体が流通する流路部材と、流路に設けられた超音波素子と、を備え、超音波素子から流路内を流れる流体に超音波振動を与えることで、流体内に分散する微粒子を流路中央付近に収束させる(濃縮させる)ことができる。
【先行技術文献】
【特許文献】
【0003】
特開2022-026105号公報
【発明の概要】
【発明が解決しようとする課題】
【0004】
上記特許文献1に記載されるような音響収束を利用した流体デバイスには、以下のような課題がある。例えば、音響収束を利用した流体デバイスは、流路部材を大型化すると流路内に超音波振動を与える超音波素子も大型化する必要が生じ、デバイスの製造が困難となりやすい。そのため、音響収束を利用した流体デバイスにおいて処理量を増やす場合、通常、流路の数を増やし並列処理することが検討される。
【0005】
一方で、音響収束を利用した流体デバイスでは、通常、流路毎に超音波素子を有し、流路毎に超音波素子から与える超音波の周波数を調整している。そのため、流体デバイスの数を増やし、複数の流体デバイスを同時に制御するには、各超音波素子の調整が煩雑となりやすく、改善が求められていた。
【0006】
本発明はこのような事情に鑑みてなされたものであって、音響収束を利用し液体中の微粒子を濃縮させる流体デバイスであって、動作の制御が容易な流体デバイスを提供することを目的とする。
【課題を解決するための手段】
【0007】
発明者は、上記課題を解決するため、複数の流路に対して単一の超音波素子(振動子)から超音波振動を与えることで、調整が必要な振動子の数が減り、制御が容易になると考えた。しかし、検討を進めると、流路毎に適切な超音波振動が異なり、複数の流路に対して単一の周波数の超音波振動を与えても所望の挙動を示さないことが分かった。
【0008】
例えば、複数の流路として同じ形状、同じ大きさの流路を用意したとしても、製造誤差により流路の実寸が異なる。この実寸の違いにより、音響収束させるための超音波振動について、流路毎に適切な周波数が異なると考えられる。他にも、振動子に対する各流路の配置(相対位置)や、内部を流動する液体の液温変化など、種々の影響により、適切な周波数を設定することが困難になると考えられた。
【0009】
発明者は、上記課題について鋭意検討した結果、単一の超音波振動ではなく、適切に設定された複数の周波数の超音波振動を複数の流路に与えることにより、各流路において適切な音響収束が可能となることを見出し、発明を完成させた。
【0010】
上記の課題を解決するため、本発明の一態様は、以下の態様を包含する。
(【0011】以降は省略されています)
この特許をJ-PlatPat(特許庁公式サイト)で参照する
関連特許
国立大学法人信州大学
食品鮮度センサー
1か月前
国立大学法人信州大学
遺伝子疾患の検出方法
1日前
国立大学法人信州大学
卵巣機能調節用組成物
10日前
国立大学法人信州大学
固定子及び可変磁束モータ
1か月前
国立大学法人信州大学
複合材料の製造方法及び複合材料
2日前
国立大学法人信州大学
複合材料の製造方法及び複合材料
2日前
国立大学法人信州大学
複合材料の製造方法及び複合材料
2日前
国立大学法人信州大学
股関節用アシスト機構及びアシスト装置
2日前
国立大学法人信州大学
苗育成用灌水装置および苗育成用灌水方法
2か月前
国立大学法人信州大学
反芻動物反芻胃からのメタンガス発生量推定方法
22日前
株式会社ENEOSマテリアル
重合体の製造方法
1か月前
株式会社タクマ
脱水濃縮装置、及び二酸化炭素回収設備
2か月前
国立大学法人京都大学
二酸化炭素を回収する方法および装置
2か月前
住友金属鉱山株式会社
水素生成活性光触媒及びその製造方法
1か月前
国立大学法人信州大学
紐状物およびその製造方法、ならびに農業用誘引紐および梱包用紐
1日前
日本特殊陶業株式会社
微粒子分離装置、及び微粒子分離回収装置
3か月前
国立大学法人信州大学
紐状物およびその製造方法、ならびに農業用誘引紐および梱包用紐
1日前
株式会社ユーグレナ
パラミロン-セルロース混合繊維及びその製造方法
1か月前
国立大学法人信州大学
フッ素イオン濃度測定用試薬、フッ素イオン濃度測定方法、フッ素イオン濃度測定装置
19日前
国立大学法人信州大学
経口摂取用コリンエステル含有組成物
4日前
株式会社アドマテックス
グラフェン包接多孔質粒子材料の製造方法及び分離膜の製造方法
3か月前
国立大学法人信州大学
触媒及びその製造方法、触媒前駆体及びその製造方法、並びに光反射防止材及びその製造方法
1か月前
オーミケンシ株式会社
セルロース系繊維、及びセルロース系繊維の製造方法
1か月前
国立大学法人信州大学
心理状態改善用組成物、心理状態改善用組成物の製造方法および心理状態改善のためのナスの果実の使用
16日前
丸善製薬株式会社
エストロゲン受容体β mRNA発現促進剤、III型コラーゲン mRNA発現促進剤、エラスチン mRNA発現促進剤、マトリックスメタロプロテアーゼ-1 mRNA発現抑制剤及びマトリックスメタロプロテアーゼ-3 mRNA発現抑制剤
24日前
ユニチカ株式会社
複合中空糸膜
9日前
東レ株式会社
中空糸膜モジュール
8日前
株式会社ニクニ
液体処理装置
22日前
日本化薬株式会社
メタノール改質触媒
23日前
株式会社大善
濃縮脱水機
1か月前
株式会社MRT
微細バブル発生装置
12日前
テルモ株式会社
ろ過デバイス
1か月前
株式会社切川物産
撹拌混合装置
1か月前
東京理化器械株式会社
クリップ
16日前
株式会社笹山工業所
濁水処理システム
12日前
個人
攪拌装置
12日前
続きを見る
他の特許を見る