TOP
|
特許
|
意匠
|
商標
特許ウォッチ
Twitter
他の特許を見る
公開番号
2025108941
公報種別
公開特許公報(A)
公開日
2025-07-24
出願番号
2024002500
出願日
2024-01-11
発明の名称
脱水濃縮装置、及び二酸化炭素回収設備
出願人
株式会社タクマ
,
国立大学法人信州大学
代理人
個人
主分類
B01D
53/14 20060101AFI20250716BHJP(物理的または化学的方法または装置一般)
要約
【課題】有機化合物の濃度を高めるために要するエネルギーを抑えることができる脱水濃縮装置を提供する。
【解決手段】水と有機化合物とを含む混合物から水を脱水し、有機化合物の濃度を高める脱水濃縮装置25であって、有機化合物は、沸点が1気圧で100℃以上であり、水と共沸混合物を形成しない水溶性有機化合物であり、温度が100℃未満に設定された混合物が導入される高温側セル61と、高温側セル61から水蒸気を放出可能に配置される疎水性多孔質膜63と、疎水性多孔質膜63を挟んで、当該疎水性多孔質膜63から所定の間隔を空けて高温側セル61に対向配置され、混合物より低い温度に設定された冷媒が導入される低温側セル62とを備えるものとする。
【選択図】図2
特許請求の範囲
【請求項1】
水と有機化合物とを含む混合物から水を脱水し、有機化合物の濃度を高める脱水濃縮装置であって、
前記有機化合物は、沸点が1気圧で100℃以上であり、水と共沸混合物を形成しない水溶性有機化合物であり、
温度が100℃未満に設定された前記混合物が導入される高温側セルと、
前記高温側セルから水蒸気を放出可能に配置される疎水性多孔質膜と、
前記疎水性多孔質膜を挟んで、当該疎水性多孔質膜から所定の間隔を空けて前記高温側セルに対向配置され、前記混合物より低い温度に設定された冷媒が導入される低温側セルと、
を備える脱水濃縮装置。
続きを表示(約 1,400 文字)
【請求項2】
前記疎水性多孔質膜と前記低温側セルとの間に形成される空間を減圧する減圧手段を備える請求項1に記載の脱水濃縮装置。
【請求項3】
前記低温側セルの前記高温側セルに対向する面に、前記疎水性多孔質膜から放出される水蒸気を凝縮するコンデンサを設けてある請求項1又は2に記載の脱水濃縮装置。
【請求項4】
前記疎水性多孔質膜は、ポリスルホン、ポリエーテルスルホン、ポリエチレン、ポリプロピレン、ポリフッ化ビニリデン、ポリテトラフルオロエチレン、エチレン・四フッ化エチレン共重合体、及びポリクロロトリフルオロエチレンからなる群から選択される少なくとも一つの樹脂で構成される請求項1又は2に記載の脱水濃縮装置。
【請求項5】
前記有機化合物は、ジメチルスルホキシド、ヘキサメチルリン酸トリアミド、1,3-ジメチル-2-イミダゾリジノン、N,N´-ジメチルプロピレン尿素、テトラメチル尿素、N,N-ジメチルホルムアミド、N,N-ジメチルアセトアミド、N-メチルホルムアミド、N-メチルアセトアミド、N-メチル-2-ピロリドン、スルホラン、モノエタノールアミン、ジエタノールアミン、ジプロパノールアミン、N-メチルエタノールアミン、N-エチルエタノールアミン、N-ブチルエタノールアミン、N-プロピルエタノールアミン、N-メチルジエタノールアミン、N-エチルジエタノールアミン、及びN-ブチルジエタノールアミンからなる群から選択される少なくとも一つである請求項1又は2に記載の脱水濃縮装置。
【請求項6】
前記高温側セルに導入される前記混合物の温度と、前記低温側セルに導入される前記冷媒の温度との差が10℃以上に設定される請求項1又は2に記載の脱水濃縮装置。
【請求項7】
前記高温側セルに導入される前記混合物の温度が45~90℃に設定される請求項1又は2に記載の脱水濃縮装置。
【請求項8】
前記低温側セルに導入される前記冷媒の温度が0~80℃に設定される請求項1又は2に記載の脱水濃縮装置。
【請求項9】
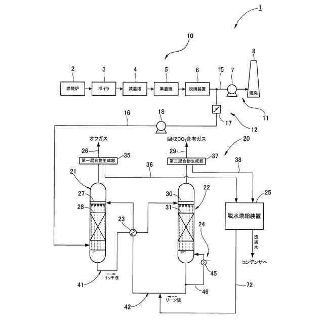
二酸化炭素含有ガスに含まれる二酸化炭素を回収する二酸化炭素回収設備であって、
1気圧において沸点が100℃以上であり、水と共沸混合物を形成しない水溶性の有機化合物を含む吸収液に前記二酸化炭素を吸収させる吸収塔と、
前記二酸化炭素を吸収した前記吸収液から前記二酸化炭素を放散させる再生塔と、
前記吸収塔及び/又は前記再生塔から排出される、前記吸収液から放散した前記有機化合物を含有するガスに対し水を接触させて当該水と前記有機化合物とを含む混合物を生成する混合物生成部と、
前記混合物から水を脱水し、前記有機化合物の濃度を高める脱水濃縮装置と、
を備え、
前記脱水濃縮装置は、
温度が100℃未満に設定された前記混合物が導入される高温側セルと、
前記高温側セルから水蒸気を放出可能に配置される疎水性多孔質膜と、
前記疎水性多孔質膜を挟んで、当該疎水性多孔質膜から所定の間隔を空けて前記高温側セルに対向配置され、前記混合物より低い温度に設定された冷媒が導入される低温側セルと、
を備える二酸化炭素回収設備。
発明の詳細な説明
【技術分野】
【0001】
本発明は、水と有機化合物とを含む混合物から水を脱水し、有機化合物の濃度を高める脱水濃縮装置、及び当該脱水濃縮装置を備える二酸化炭素回収設備に関する。
続きを表示(約 1,700 文字)
【背景技術】
【0002】
二酸化炭素の回収方法として、例えば、アルカリ性化合物による反応吸収を利用する化学吸収法が知られている。化学吸収法では、二酸化炭素を含むガスとアミン系の吸収液とを吸収塔で接触させ、二酸化炭素を吸収した吸収液を吸収塔から再生塔へと送り、再生塔で吸収液から二酸化炭素を放散させて回収する(例えば、特許文献1を参照)。ここで、二酸化炭素の吸収液としては、例えば、アミン系化合物に希釈剤(有機化合物)を加えることによって得られるものが用いられる。
【先行技術文献】
【特許文献】
【0003】
特開平11-267442号公報
【発明の概要】
【発明が解決しようとする課題】
【0004】
上記のような二酸化炭素の吸収液を用いた二酸化炭素分離回収方法では、吸収塔で二酸化炭素を吸収し、再生塔で二酸化炭素を放散させることを繰り返すと、吸収液中の有機化化合物が放散し、放散した有機化合物を含むガスが吸収塔や再生塔から排出される。排出されたガスに対し水を接触させて、水と有機化合物とを含む混合物を生成することにより、有機化合物を分離・回収できるが、有機化合物を再利用する場合、有機化合物を濃縮する必要がある。
【0005】
従来から有機化合物を濃縮する方法として、一般に、混合物の各成分の沸点差を利用した蒸留法が行われている。しかしながら、蒸留法では、有機化合物を濃縮するには水の沸点である100℃まで加熱し沸騰させて脱水する必要があり、多大なエネルギーを必要する。また、所望の純度まで有機化合物を濃縮しようとするには大がかりな蒸留設備が必要になる。
【0006】
本発明は、上記の課題に鑑みてなされたものであり、有機化合物の濃度を高めるために要するエネルギーを抑えることができる脱水濃縮装置、及び二酸化炭素回収設備を提供することを目的とする。
【課題を解決するための手段】
【0007】
上記課題を解決するための本発明に係る脱水濃縮装置の特徴構成は、
水と有機化合物とを含む混合物から水を脱水し、有機化合物の濃度を高める脱水濃縮装置であって、
前記有機化合物は、沸点が1気圧で100℃以上であり、水と共沸混合物を形成しない水溶性有機化合物であり、
温度が100℃未満に設定された前記混合物が導入される高温側セルと、
前記高温側セルから水蒸気を放出可能に配置される疎水性多孔質膜と、
前記疎水性多孔質膜を挟んで、当該疎水性多孔質膜から所定の間隔を空けて前記高温側セルに対向配置され、前記混合物より低い温度に設定された冷媒が導入される低温側セルと、
を備えることにある。
【0008】
本構成の脱水濃縮装置によれば、水と有機化合物とを含み温度が100℃未満に設定された混合物が高温側セルに導入され、液体は通さないが気体は通すという性質の疎水性多孔質膜を通過した水蒸気が、水蒸気圧の圧力差を駆動力として、低温側セルへと移動して冷却・凝縮され、透過水として系外に取り出される。ここで、混合物において、有機化合物は、水と共沸混合物を形成しない水溶性有機化合物であるため、混合物から水を選択的に水蒸気として疎水性多孔質膜を通過させ、有機化合物を混合物中に残存させることができる。こうして、混合物を沸騰させることなく脱水できるため、従来の蒸留法と比べて、有機化合物の濃度を高めるために要するエネルギーを抑えることができる。
【0009】
本発明に係る脱水濃縮装置において、
前記疎水性多孔質膜と前記低温側セルとの間に形成される空間を減圧する減圧手段を備えることが好ましい。
【0010】
本構成の脱水濃縮装置によれば、疎水性多孔質膜と低温側セルとの間に形成される空間が減圧手段によって減圧されるので、疎水性多孔質膜を通過する水蒸気の水透過流束を上昇させることができ、有機化合物を高効率で濃縮することができる。
(【0011】以降は省略されています)
特許ウォッチbot のツイートを見る
この特許をJ-PlatPat(特許庁公式サイト)で参照する
関連特許
株式会社タクマ
プログラム、情報処理方法、情報処理装置及び燃焼画像分析システム
1か月前
株式会社タクマ
コンピュータプログラム、情報処理方法、情報処理装置及び情報処理システム
1か月前
東レ株式会社
複合半透膜
1か月前
株式会社ニクニ
液体処理装置
12日前
日本化薬株式会社
メタノール改質触媒
13日前
株式会社大善
濃縮脱水機
22日前
三機工業株式会社
ろ過装置
1か月前
株式会社フクハラ
圧縮空気圧回路
1か月前
テルモ株式会社
ろ過デバイス
23日前
株式会社カネカ
製造システム
29日前
株式会社カネカ
濃縮システム
1か月前
株式会社MRT
微細バブル発生装置
2日前
株式会社切川物産
撹拌混合装置
26日前
株式会社笹山工業所
濁水処理システム
2日前
個人
攪拌装置
2日前
株式会社Tornada
気泡発生装置
29日前
日本ソリッド株式会社
水中懸濁物質付着素材
21日前
東京理化器械株式会社
クリップ
6日前
ヤマシンフィルタ株式会社
フィルタ装置
20日前
ノリタケ株式会社
ガス吸収シート
13日前
ヤマシンフィルタ株式会社
フィルタ装置
今日
ダイハツ工業株式会社
二酸化炭素分解装置
21日前
株式会社キャタラー
カーボン担体材料
1か月前
株式会社福島県南環境衛生センター
処理装置
28日前
浙江漢信科技有限公司
攪拌装置
27日前
杉山重工株式会社
回転円筒型反応装置
2日前
東レ株式会社
多孔中実繊維、繊維束および浄化カラム
21日前
中外炉工業株式会社
ガス発生装置及び窒化装置
22日前
本田技研工業株式会社
二酸化炭素回収装置
今日
本田技研工業株式会社
分離システム
2日前
靜甲株式会社
高圧損発生ユニット並びに充填装置
20日前
株式会社インパクト
消臭剤又は消臭紙の製造方法
5日前
本田技研工業株式会社
二酸化炭素回収装置
今日
個人
生分解性蓄熱マイクロカプセルおよびその製造方法
21日前
本田技研工業株式会社
二酸化炭素回収装置
今日
個人
廃液を加速回収し浄化する蒸留機の構造
1か月前
続きを見る
他の特許を見る