TOP
|
特許
|
意匠
|
商標
特許ウォッチ
Twitter
他の特許を見る
公開番号
2025108849
公報種別
公開特許公報(A)
公開日
2025-07-24
出願番号
2024002301
出願日
2024-01-11
発明の名称
ダイヤル式南京錠を利用したロック機能付き手帳。
出願人
個人
代理人
主分類
B42D
15/00 20060101AFI20250716BHJP(製本;アルバム;ファイル;特殊印刷物)
要約
【課題】
個人情報が殆どの場合もかなり多い、その上、価格も高くない、また、手帳を持ち歩く理由と
セキュリティが釣り合っていない。何とかならないかと考えての一案。
【解決手段】
金属性のパーツ部が容易に通過出来る様に手帳を閉じた状態で裏表紙の外側から記入用紙部を含めた表紙の表側まで
金属製パーツが容易に通過出来る通し穴を開け手帳を閉じた状態での前記ダイヤル式南京錠のロック用の穴を準備して
ダイヤル式南京錠の開錠を行わなければ手帳を開けない様にした。
【選択図】 図1
特許請求の範囲
【請求項1】
ダイヤル式南京錠のツルを嵌める事が出来る先端に穴を開けた金属性のパーツを特定の間隔で2個ロウ付けした前記ダイヤル式南京錠の
ツル保持用プレートを、前記ツルを嵌める事が出来る先端に穴を開けた金属性のパーツの位置が手帳を閉じた状態で前記手帳の表紙の
天地の中央付近の小口手前の位置になるように調節し裏表紙の表面に接着取付け
前記金属性のパーツ部が容易に通過出来る様に前記手帳を閉じた状態で裏表紙の外側から記入用紙部を含めた表紙の表側まで
前記金属製パーツが容易に通過出来る通し穴を開け手帳を閉じた状態での前記ダイヤル式南京錠のロック用の穴を準備して
前記ツルの嵌め、外しを行うことにより前記手帳の開閉が出来る仕組みにしてダイヤル式南京錠の開錠を行わなければ手帳を開く事が
出来ない事を特徴とするダイヤル式南京錠を利用したロック機能付き手帳。
続きを表示(約 170 文字)
【請求項2】
請求項1の構造を利用しダイヤル式南京錠のツルを嵌める事が出来る先端に穴を開けた金属性のパーツの形状を背表紙から前記パーツを
ロウ付けした位置の半径の円弧の一部の形状した事により前記通し穴と前記パーツの引っ掛かりが少なくスムーズに開閉が出来る事を
特徴とするダイヤル式南京錠を利用したロック機能付き手帳。
発明の詳細な説明
【技術分野】
【0001】
本発明はダイヤル式南京錠を利用したロック機能付き手帳に関するものである。
続きを表示(約 1,500 文字)
【背景技術】
【0002】
ダイヤル式南京錠を利用したロック機能付き手帳としての一案。
【先行技術文献】
【特許文献】
【0003】
特開2023ー001838号公報
実登3238925号公報
実登3238032号公報
【発明の概要】
【発明が解決しようとする課題】
【0004】
手帳を利用している人はまだ多い。
しかし、個人情報が殆どの場合もかなり多い、その上、価格も高くない、また、手帳を持ち歩く理由と
セキュリティが釣り合っていない。何とかならないかと考えての一案。
【課題を解決するための手段】
【0005】
ダイヤル式南京錠のツルを嵌める事が出来る先端に穴を開けた金属性のパーツを特定の間隔で2個ロウ付けした前記ダイヤル式南京錠の
ツル保持用プレートを、前記ツルを嵌める事が出来る先端に穴を開けた金属性のパーツの位置が手帳を閉じた状態で前記手帳の表紙の
天地の中央付近の小口手前の位置になるように調節し裏表紙の表面に接着取付け
前記金属性のパーツ部が容易に通過出来る様に前記手帳を閉じた状態で裏表紙の外側から記入用紙部を含めた表紙の表側まで
前記金属製パーツが容易に通過出来る通し穴を開け手帳を閉じた状態での前記ダイヤル式南京錠のロック用の穴を準備して
前記ツルの嵌め、外しを行うことにより前記手帳の開閉が出来る仕組みにしてダイヤル式南京錠の開錠を行わなければ手帳を開く事が
出来ない状態にした。
また、請求項1の構造を利用しダイヤル式南京錠のツルを嵌める事が出来る先端に穴を開けた金属性のパーツの形状を背表紙から前記パーツを
ロウ付けした位置の半径の円弧の一部の形状した事により前記通し穴と前記パーツの引っ掛かりが少なくスムーズに開閉が出来る様にした。
【発明の効果】
【0006】
ダイヤル式南京錠のロック用の穴を設け前記ツルの嵌め、外しを行うことにより前記手帳の開閉が出来る仕組みにしてダイヤル式南京錠の
開錠を行わなければ手帳を開く事が出来なくなりダイヤル式南京錠の暗証番号を知っている本人のみが手帳の開閉が出来る。
【図面の簡単な説明】
【0007】
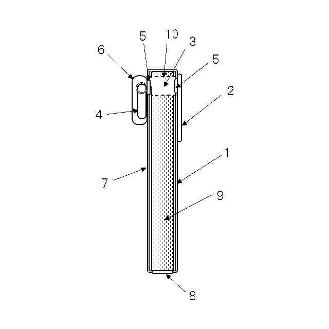
図1はダイヤル式南京錠を利用したロック機能付き手帳を開いた時の外側からの正面図
図2はダイヤル式南京錠を利用したロック機能付き手帳を開いた時の内側からの正面図
図3はダイヤル式南京錠を利用したロック機能付き手帳の背表紙側からの側面図
図4はダイヤル式南京錠を利用したロック機能付き手帳を開いた時の側面図
図5はダイヤル式南京錠を利用したロック機能付き手帳の表側からの側面図
図6はダイヤル式南京錠を利用したロック機能付き手帳の試作品のロック状態の写真
図7はダイヤル式南京錠を利用したロック機能付き手帳の試作品のダイヤル式南京錠を外した時の写真
図8はダイヤル式南京錠を利用したロック機能付き手帳の試作品の手帳を開いた時の写真
【発明を実施するための形態】
【0008】
本発明の実施形態を図1~図8に基づいて説明する。
【0009】
図1はダイヤル式南京錠を利用したロック機能付き手帳を開いた時の外側からの正面を示す図である。
【0010】
図2はダイヤル式南京錠を利用したロック機能付き手帳を開いた時の内側からの正面を示す図である。
(【0011】以降は省略されています)
この特許をJ-PlatPat(特許庁公式サイト)で参照する
関連特許
個人
書籍
6か月前
個人
リフター
1か月前
個人
手帳
1か月前
個人
ノート
5か月前
個人
書類ホルダー
5か月前
個人
紙片収容保持具
8か月前
個人
ファイル
1か月前
個人
ページめくり穴
4日前
個人
ブランドハガキ
3か月前
個人
ダブルクリップ
7か月前
個人
折り曲げ式しおり
1か月前
個人
カレンダー
11日前
個人
メッセージカード
6か月前
FRC株式会社
学習ノート
5か月前
個人
吊下式カレンダー
7か月前
東洋紡株式会社
地図フィルム
10か月前
個人
脱着リーフ綴込み補助具
7か月前
個人
脱着リングノートシステム
8か月前
ネオライト工業株式会社
しおり
1か月前
株式会社リコー
綴じ装置
1か月前
ダイニック株式会社
ブッククロス
8か月前
有限会社ライト工房
起立する台紙
4か月前
個人
シート状印刷物セット
1か月前
独立行政法人 国立印刷局
潜像物
8か月前
個人
タロットカード解説書
6か月前
独立行政法人 国立印刷局
積層体
3か月前
独立行政法人 国立印刷局
積層体
3か月前
個人
冊子収容ケース
1か月前
個人
見開きアルバム立て掛け飾り具
4か月前
独立行政法人 国立印刷局
画像形成体
22日前
個人
環状具
9か月前
独立行政法人 国立印刷局
潜像画像形成体
3か月前
株式会社デュプロ
冊子作成システム
10か月前
個人
シートセット及びワークセット
2か月前
株式会社Luciaube
クリアファイル
8か月前
株式会社ユニオン産業
クリップ
8か月前
続きを見る
他の特許を見る