TOP
|
特許
|
意匠
|
商標
特許ウォッチ
Twitter
他の特許を見る
10個以上の画像は省略されています。
公開番号
2025113547
公報種別
公開特許公報(A)
公開日
2025-08-04
出願番号
2024007759
出願日
2024-01-23
発明の名称
貼付媒体への製造情報付与方法
出願人
独立行政法人 国立印刷局
代理人
主分類
B42D
25/405 20140101AFI20250728BHJP(製本;アルバム;ファイル;特殊印刷物)
要約
【課題】貼付装置に予め備わる刻印板を加工することで、新たな装置を設けることなく、簡易に枚葉紙に製造情報を付与することが可能な貼付媒体への製造情報付与方法を提供する。
【解決手段】熱圧着により箔材を基材に貼付した貼付媒体に、貼付装置によって製造情報を付与する方法であって、箔材の熱圧着と同時に、製造情報に対応した少なくとも一つの情報パターンを圧痕として基材に付与することを特徴とする貼付媒体への製造情報付与方法である。
【選択図】図7
特許請求の範囲
【請求項1】
熱圧着により箔材を基材に貼付した貼付媒体に、貼付装置によって製造情報を付与する方法であって、
前記箔材の熱圧着と同時に、前記製造情報に対応した少なくとも一つの情報パターンを圧痕として前記基材に付与することを特徴とする貼付媒体への製造情報付与方法。
続きを表示(約 74 文字)
【請求項2】
前記情報パターンを、前記基材の端部にかかる位置に付与することを特徴とする請求項1記載の貼付媒体への製造情報付与方法。
発明の詳細な説明
【技術分野】
【0001】
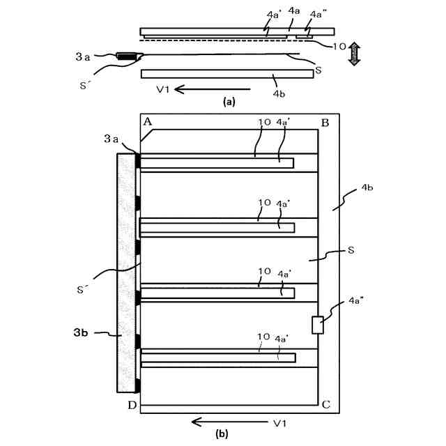
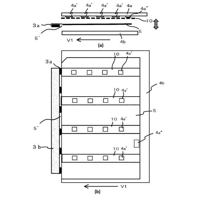
本発明は、基材に箔材を熱圧着する貼付装置によって、貼付媒体に製造情報を付与する方法に関する。
続きを表示(約 1,500 文字)
【背景技術】
【0002】
近年、セキュリティ性が求められる銀行券、有価証券、パスポート等の貴重印刷物には、箔(金属箔やホログラム、回折格子のような光の干渉を利用した表示技術「OVD(Optical Variable Device)」が付された箔)が貼付されている。また、各種クレジットカード、ICカード、商品券等にもこれらの箔が貼付されるようになり、これらの貴重印刷物は多岐に亘る。多くの貴重印刷物に箔が利用される理由としては、箔には、視認角度を変えると色や画像が変化する特性があるため、誰にでも容易に真偽判別が可能で、且つ、偽造が難しいという利点があるためである。
【0003】
このような貴重印刷物の一例として、有価証券の製造工程においては、箔を貼付する工程、すかし等を施した用紙を製造する工程、枚葉紙に断裁する工程、枚葉紙の検査を行う工程と、枚葉紙に印刷を行う工程等があり、また、同じ工程でも製造装置が複数台あることから、品質管理や数量管理のために、各工程における製造情報としてナンバーやバーコード、二次元コード等の情報を枚葉紙に付与し、管理する方法が従来から行われている。
【0004】
例えば、印刷工程では、印刷機に備わるインクジェットプリンタにより、印刷日や印刷機の装置ナンバー等の製造情報を枚葉紙の余白に付与している。また、枚葉紙を積層した一定数量の集まりを一つのロットとし、ロットごとに添付される記録票に製造情報を記載している。一方、貼付装置の場合は、インクジェットプリンタ等の製造情報を付与する装置が機械構造上搭載されていないことが多いことから、貼付工程では枚葉紙ごとに製造情報が付与されず、貼付日や貼付装置の装置ナンバー等の製造情報はロットごとに添付される記録票にのみ記載されていた。
【0005】
従来技術として、コード情報を印刷物に付与する印刷機としては、ナンバー、バーコード、二次元コード等の印字情報を被印刷物に印刷するインクジェットプリンタを着脱可能に設けた枚葉印刷機が開示されている(例えば、特許文献1参照)。
【先行技術文献】
【特許文献】
【0006】
特開2012-020537号公報
【発明の概要】
【発明が解決しようとする課題】
【0007】
貼付工程の後工程である検査工程等で損紙とされた枚葉紙は、ロット単位ではなく枚葉紙単位で管理されるため、製造情報が記載された記録票と照らし合わせることが困難である。したがって、後工程から欠点製品の情報を得ても、欠点製品が発生した貼付装置を特定することは困難であった。そのため、製造装置の特定及び欠点製品の原因特定に時間を要していた。
【0008】
また、一般に貴重印刷物の一連の製造工程においては、一定数量を積層したロット単位で数量が管理され、数ロット~数十ロットを積層した印刷物積層体として工程間を運搬し、製品倉庫に保管されている。
【0009】
しかしながら、特許文献1の技術は、製造情報は印刷物の表裏いずれかに付与されるため、印刷物積層体の状態で製造情報を確認するためには、それぞれのロットを取り出して確認する必要があり、作業効率が悪かった。
【0010】
また、特許文献1は、インクジェット装置等の製造情報を付与する装置を新たに設ける必要があり、機械の大型化や製造コストが増加するという課題があった。
(【0011】以降は省略されています)
この特許をJ-PlatPat(特許庁公式サイト)で参照する
関連特許
個人
書籍
6か月前
個人
リフター
1か月前
個人
手帳
1か月前
個人
書類ホルダー
5か月前
個人
ノート
5か月前
個人
紙片収容保持具
8か月前
個人
ブランドハガキ
3か月前
個人
ファイル
1か月前
個人
ダブルクリップ
7か月前
個人
ページめくり穴
3日前
個人
メッセージカード
6か月前
個人
折り曲げ式しおり
1か月前
個人
カレンダー
10日前
FRC株式会社
学習ノート
5か月前
個人
脱着リーフ綴込み補助具
7か月前
個人
吊下式カレンダー
7か月前
東洋紡株式会社
地図フィルム
10か月前
個人
脱着リングノートシステム
8か月前
株式会社リコー
綴じ装置
1か月前
ネオライト工業株式会社
しおり
29日前
個人
冊子収容ケース
1か月前
ダイニック株式会社
ブッククロス
8か月前
独立行政法人 国立印刷局
積層体
3か月前
独立行政法人 国立印刷局
潜像物
8か月前
独立行政法人 国立印刷局
積層体
3か月前
個人
シート状印刷物セット
1か月前
有限会社ライト工房
起立する台紙
4か月前
個人
タロットカード解説書
6か月前
個人
見開きアルバム立て掛け飾り具
4か月前
独立行政法人 国立印刷局
画像形成体
21日前
個人
環状具
9か月前
個人
シートセット及びワークセット
2か月前
株式会社Luciaube
クリアファイル
8か月前
株式会社デュプロ
冊子作成システム
10か月前
独立行政法人 国立印刷局
真偽判別印刷物
12か月前
独立行政法人 国立印刷局
潜像画像形成体
3か月前
続きを見る
他の特許を見る