TOP
|
特許
|
意匠
|
商標
特許ウォッチ
Twitter
他の特許を見る
10個以上の画像は省略されています。
公開番号
2025117362
公報種別
公開特許公報(A)
公開日
2025-08-12
出願番号
2024012157
出願日
2024-01-30
発明の名称
媒体処理装置及び画像形成システム
出願人
株式会社リコー
代理人
弁理士法人武和国際特許事務所
主分類
B42B
5/00 20060101AFI20250804BHJP(製本;アルバム;ファイル;特殊印刷物)
要約
【課題】液体付与圧着綴じ機構において、圧着綴じ機構に付着した水分や、生じた錆びを特定の媒体に付着させて他の媒体への付着を防止する錆付着防止モードを備える媒体処理装置を提供する。
【解決手段】少なくとも一枚の媒体の一部に液体付与をする液体付与部材を備えた液体付与手段と、液体付与をされた少なくとも一枚の媒体を含む媒体束又は少なくとも一枚の媒体に綴じ動作を実行する媒体処理手段と、動作モードに応じて液体付与手段と媒体処理手段の動作を制御する制御手段と、を備え、制御手段は、媒体処理手段において、液体付与をされた少なくとも一枚の媒体を含む媒体束に対し綴じ動作を実行させる液体付与綴じ動作モードと、液体付与をせずに少なくとも一枚の媒体に対し綴じ動作を実行させる錆付着防止モードと、を備える媒体処理装置による。
【選択図】図19
特許請求の範囲
【請求項1】
少なくとも一枚の媒体の一部に液体付与をする液体付与部材を備えた液体付与手段と、
前記液体付与をされた少なくとも一枚の前記媒体を含む媒体束又は少なくとも一枚の前記媒体に綴じ動作を実行する媒体処理手段と、
動作モードに応じて前記液体付与手段と前記媒体処理手段の動作を制御する制御手段と、
を備え、
前記制御手段は、
前記媒体処理手段において、前記液体付与をされた少なくとも一枚の前記媒体を含む媒体束に対し前記綴じ動作を実行させる液体付与綴じ動作モードと、
前記液体付与をせずに少なくとも一枚の前記媒体に対し前記綴じ動作を実行させる錆付着防止モードと、
を備えることを特徴とする媒体処理装置。
続きを表示(約 1,000 文字)
【請求項2】
前記媒体処理手段は、前記綴じ動作として、前記媒体又は前記媒体束の一部分を加圧変形させる圧着手段を有し、
前記制御手段は、前記錆付着防止モードにおいて、少なくとも一枚の前記媒体に対し、前記加圧変形を実行する、
請求項1に記載の媒体処理装置。
【請求項3】
前記制御手段は、
前記綴じ動作モードにおける前記綴じ動作の対象となった前記媒体束の排出先と、
前記錆付着防止モードおける前記綴じ動作の対象となった前記媒体の排出先と、を異なる排出先にする、
請求項1に記載の媒体処理装置。
【請求項4】
前記媒体処理手段によって綴じられた前記媒体束から少なくとも一枚の前記媒体を剥がす剥離機構を有する、
請求項1に記載の媒体処理装置。
【請求項5】
ユーザが動作モードを選択可能とする操作選択手段を備え、
前記制御手段は、前記操作選択手段を介したユーザの指定に応じて、動作モードを前記綴じ動作モードから前記錆付着防止モードに切り替える、
請求項1に記載の媒体処理装置。
【請求項6】
前記制御手段は、前記操作選択手段を介したユーザの指定に応じて、動作モードを前記綴じ動作モードから前記錆付着防止モードへ自動で切り替える、
請求項5に記載の媒体処理装置。
【請求項7】
前記制御手段は、前記動作モードの前記錆付着防止モードへの切り替えが自動に設定されているとき、
前記液体付与手段による前記液体付与に続けて錆付着防止動作を行うように前記媒体処理手段を制御する、
請求項6に記載の媒体処理装置。
【請求項8】
前記動作モードは、前記ユーザが前記操作選択手段を介して、手動で前記錆付着防止モードに切り替えることができる、
請求項5に記載の媒体処理装置。
【請求項9】
前記制御手段は、前記操作選択手段を介して前記錆付着防止モードにおける前記綴じ動作の繰り返し回数を設定可能とする、
請求項5に記載の媒体処理装置。
【請求項10】
媒体に画像を形成する画像形成装置と、
請求項1に記載の媒体処理装置と、
を備えることを特徴とする画像形成システム。
発明の詳細な説明
【技術分野】
【0001】
本発明は、媒体処理装置及び画像形成システムに関する。
続きを表示(約 2,200 文字)
【背景技術】
【0002】
シート状の媒体を束にして綴じる処理を行う媒体処理装置が知られている。なお、シート状の媒体の例として用紙が広く知られているので、本明細書では、シート状の媒体の束に関しては複数の用紙を積層した「用紙束」を例に用いることとする。また、媒体処理装置には、省資源化や環境負荷の低減を鑑みる観点から、金属製の綴じ針を用いずに、凹凸状の綴じ歯で用紙束を挟持して加圧変形させる所謂「圧着綴じ」が可能な圧着処理部を備えるものがある。なお、媒体処理装置と画像形成装置を連携させ、画像形成装置により画像が形成された媒体に対し媒体処理装置において綴じ処理を行う画像形成システムも知られている。
【0003】
媒体処理装置は画像形成装置における処理の後に用いられることがあるので後処理装置と称されることがある。
【0004】
後処理装置において、媒体束の綴じ位置に液体を付与したうえで、針を用いず凹凸形状の圧着部材を用いて綴じ位置を圧着綴じする液体付与圧着綴じ機構を備えたものが知られている(特許文献1を参照)。
【0005】
また、圧着綴じ機構を備えた後処理装置において、圧着部に用紙剥がし機構を設けて、用紙の張り付きを防止する技術が開示されている(特許文献2を参照)。
【発明の概要】
【発明が解決しようとする課題】
【0006】
特許文献1に記載されている液体付与圧着綴じ機構を備える後処理装置の圧着部(圧着綴じ機構)に、特許文献2に記載の用紙剥がし機構を設けた場合、圧着歯に付着した液体が残り、圧着歯が錆びる可能性がある、という課題がある。
【0007】
本発明は、液体付与圧着綴じ機構において、圧着綴じ機構に付着した水分や、生じた錆びを特定の媒体に付着させて他の媒体への付着を防止する錆付着防止モードを備える媒体処理装置を提供することを目的とする。
【課題を解決するための手段】
【0008】
上記課題を解決するために、本発明の一態様は、少なくとも一枚の媒体の一部に液体付与をする液体付与部材を備えた液体付与手段と、前記液体付与をされた少なくとも一枚の前記媒体を含む媒体束又は少なくとも一枚の前記媒体に綴じ動作を実行する媒体処理手段と、動作モードに応じて前記液体付与手段と前記媒体処理手段の動作を制御する制御手段と、を備え、前記制御手段は、前記媒体処理手段において、前記液体付与をされた少なくとも一枚の前記媒体を含む媒体束に対し前記綴じ動作を実行させる液体付与綴じ動作モードと、前記液体付与をせずに少なくとも一枚の前記媒体に対し前記綴じ動作を実行させる錆付着防止モードと、を備えることを特徴とする。
【発明の効果】
【0009】
本発明によれば、液体付与圧着綴じ機構において、圧着綴じ機構に付着した水分や、生じた錆びを特定の媒体に付着させて他の媒体への付着を防止することができる。
【図面の簡単な説明】
【0010】
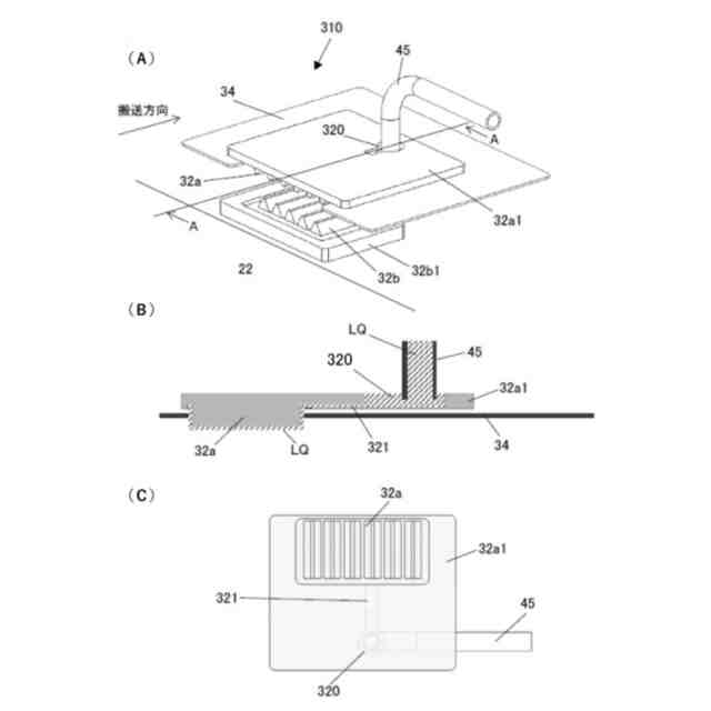
画像形成システムの全体構成を示す図。
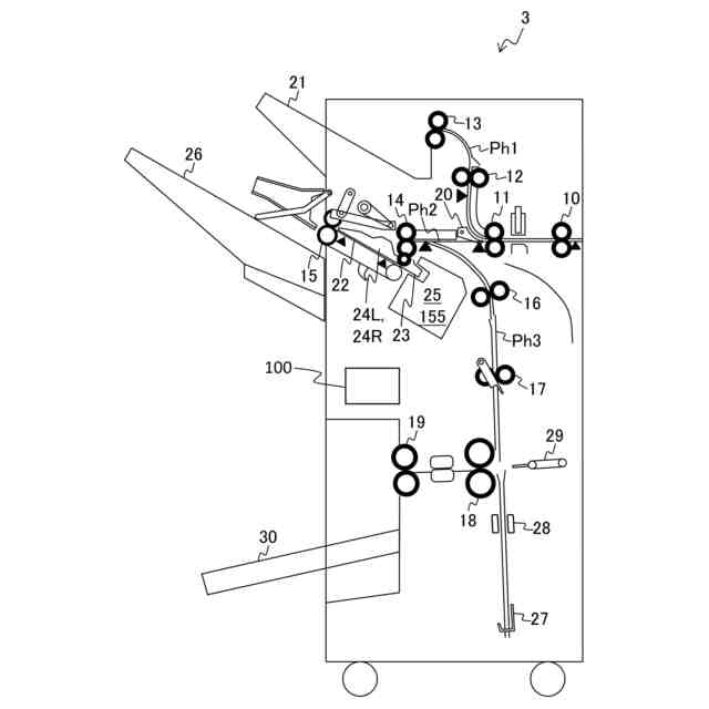
第一実施形態に係る後処理装置の内部構造を示す図。
端綴じ処理部を搬送方向の上流側から見た模式図。
端綴じ処理部を主走査方向の液体付与部側から見た模式図。
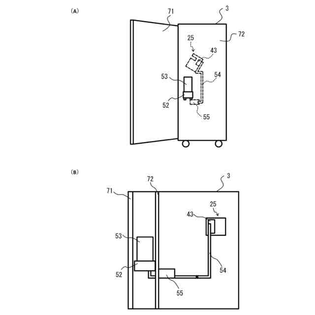
後処理装置における第二貯液部の配置及び構成を示す図。
後処理装置における第二貯液部の着脱構成を示す図。
端綴じ処理部の圧着部の構成を示す模式図。
端綴じ処理部の変形例を示す図。
端綴じ処理部の変形例に係る液体付与圧着部を示す図。
図9の液体付与圧着部による液体付与動作及び圧着綴じ動作を示す図。
針綴じ処理部を搬送方向の上流側から見た模式図。
針綴じ処理部の変形例を搬送方向の上流側から見た模式図。
第一実施形態に係る後処理装置を制御する制御ブロックのハードウェア構成図。
端綴じ処理部による綴じ処理理のフローチャート。
端綴じ処理部による綴じ処理中における液体付与部及び圧着部の位置を示す図。
本実施形態に係る剥離機構200について説明する図。
下側歯型部周辺の拡大図。
下側歯型部が綴じ位置に位置するときの剥がし部材との関係を説明する図。
錆付着防止モードによる制御処理のフローチャート。
錆付着防止モードの設定画面の例を示す図。
錆付着防止モードの設定画面の別例を示す図。
錆付着防止モードの設定画面の別例を示す図。
第二実施形態に係る後処理装置の内部構造を示す図。
第二実施形態に係る内部トレイを用紙の厚み方向から見た図。
第二実施形態に係る圧着部を搬送方向の下流側から見た模式図。
第二実施形態に係る液体付与部を用紙の厚み方向から見た図。
図26のXXV-XXVにおける断面図。
図26のXXVI-XXVIにおける断面図。
第二実施形態に係る後処理装置の制御ブロックのハードウェア構成図。
第二実施形態に係る後処理装置の後処理フローチャート。
画像形成システムの変形例の全体構成を示す図。
【発明を実施するための形態】
(【0011】以降は省略されています)
この特許をJ-PlatPat(特許庁公式サイト)で参照する
関連特許
個人
書籍
6か月前
個人
リフター
1か月前
個人
手帳
1か月前
個人
ノート
5か月前
個人
書類ホルダー
5か月前
個人
紙片収容保持具
8か月前
個人
ファイル
1か月前
個人
ページめくり穴
4日前
個人
ブランドハガキ
3か月前
個人
ダブルクリップ
7か月前
個人
折り曲げ式しおり
1か月前
個人
カレンダー
11日前
個人
メッセージカード
6か月前
FRC株式会社
学習ノート
5か月前
個人
吊下式カレンダー
7か月前
東洋紡株式会社
地図フィルム
10か月前
個人
脱着リーフ綴込み補助具
7か月前
個人
脱着リングノートシステム
8か月前
ネオライト工業株式会社
しおり
1か月前
株式会社リコー
綴じ装置
1か月前
ダイニック株式会社
ブッククロス
8か月前
有限会社ライト工房
起立する台紙
4か月前
個人
シート状印刷物セット
1か月前
独立行政法人 国立印刷局
潜像物
8か月前
個人
タロットカード解説書
6か月前
独立行政法人 国立印刷局
積層体
3か月前
独立行政法人 国立印刷局
積層体
3か月前
個人
冊子収容ケース
1か月前
個人
見開きアルバム立て掛け飾り具
4か月前
独立行政法人 国立印刷局
画像形成体
22日前
個人
環状具
9か月前
独立行政法人 国立印刷局
潜像画像形成体
3か月前
株式会社デュプロ
冊子作成システム
10か月前
個人
シートセット及びワークセット
2か月前
株式会社Luciaube
クリアファイル
8か月前
株式会社ユニオン産業
クリップ
8か月前
続きを見る
他の特許を見る