TOP
|
特許
|
意匠
|
商標
特許ウォッチ
Twitter
他の特許を見る
10個以上の画像は省略されています。
公開番号
2025119576
公報種別
公開特許公報(A)
公開日
2025-08-14
出願番号
2024213341
出願日
2024-12-06
発明の名称
消臭・脱臭装置,消臭・脱臭方法及び微生物保持体
出願人
個人
代理人
個人
,
個人
主分類
C12M
1/00 20060101AFI20250806BHJP(生化学;ビール;酒精;ぶどう酒;酢;微生物学;酵素学;突然変異または遺伝子工学)
要約
【課題】マットレス等の脱臭対象物の適切な脱臭を可能にすること。
【解決手段】脱臭装置は水槽12を有する。水槽12中には微生物を担持するための担体が設けられる。このため、水槽12の貯留水Wには微生物が浮遊される。マットレスM等の脱臭対象物は水槽12の貯留水W内に浸漬される。浸漬された脱臭対象物は押さえ部材46により押さえられることにより、貯留水Wの水面上に浮上しないようにされる。脱臭対象物内に貯留水Wが浸入することにより、微生物も脱水対象物内に侵入する。このため、脱臭対象物の臭気成分が微生物によって分解される。
【選択図】図1
特許請求の範囲
【請求項1】
微生物が浮遊された水を収容するとともに、その水内に対象物を浸漬可能にした水槽を有する消臭・脱臭装置。
続きを表示(約 140 文字)
【請求項2】
担体上で培養された微生物が浮遊する水内に対象物を浸漬して処理する消臭・脱臭方法。
【請求項3】
微生物保持部材を有し、請求項1に記載の消臭・脱臭装置の前記水槽内に浸漬されることにより、前記微生物保持部材に微生物を保持する微生物保持体。
発明の詳細な説明
【技術分野】
【0001】
本発明は、消臭・脱臭対象物としてのマットレス等の多孔質材の脱臭を行うようにした消臭・脱臭装置,消臭・脱臭方法及び微生物保持体に関するものである。
続きを表示(約 1,600 文字)
【背景技術】
【0002】
特許文献1にはマットレス等の脱臭を行う装置が開示されている。
【先行技術文献】
【特許文献】
【0003】
特開2001-321417号公報
【発明の概要】
【発明が解決しようとする課題】
【0004】
特許文献1の装置においては、洗浄室内に収容されたマットレス等に対して、洗浄水や高温蒸気等を噴射して、脱臭を行うようになっている。このため、洗浄水や高温蒸気の噴射装置等が必要になるため、装置の構成が複雑である。しかも、洗浄水や高温蒸気等を噴射するのみでは、マットレスの表面あるいは表面付近の内部を洗浄するだけであって、内奥部まで洗浄することは困難である。従って、マットレスの臭気の原因物質をマットレス全体から適切に除去して有効に脱臭することも困難である。
【課題を解決するための手段】
【0005】
本発明の消臭・脱臭装置においては、微生物が浮遊された水を収容するとともに、その水内に対象物を浸漬可能にした水槽を有することを特徴とする。
本発明の消臭・脱臭方法においては、担体上で培養された微生物が浮遊する水内に対象物を浸漬して処理することを特徴とする。
【0006】
本発明の微生物保持体においては、多孔質部材を有し、前記消臭・脱臭装置の前記水槽内に浸漬されることにより、前記多孔質部材に微生物を保持することを特徴とする。
従って、本発明においては、消臭・脱臭対象物を水槽内の貯留水に浸漬すれば、消臭・脱臭対象物に対して微生物が貯留水の浸入とともに内部にまで侵入する。このため、消臭・脱臭対象物の内部の臭気物質が微生物によって分解されるので、臭気が消える。
【0007】
また、本発明においては、微生物保持体により消臭・脱臭機能を発揮できる。
【発明の効果】
【0008】
本発明によれば、マットレス等の消臭・脱臭対象物を有効に脱臭させることができる。
【図面の簡単な説明】
【0009】
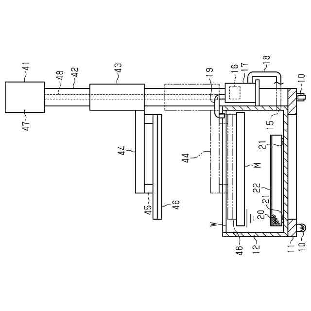
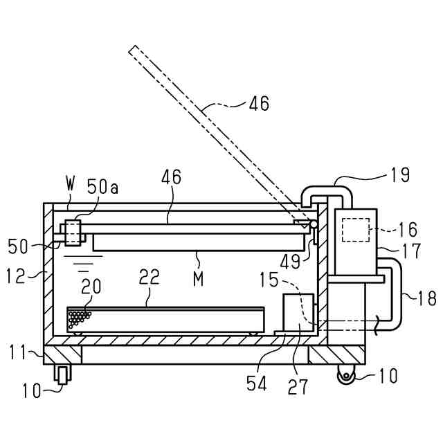
第1実施形態の消臭・脱臭装置を示す側断面図。
同じく正断面図。
同じく分解斜視図。
(a)は蓋の大部分を破断して示す培養器の平面図、(b)は培養器の断面図、(c)は担体の斜視図。
第2実施形態の消臭・脱臭装置の側断面図。
水処理ユニットの正面図。
第3実施形態の消臭・脱臭装置の正断面図。
第4実施形態における消臭・脱臭装置の水槽部分の断面図。
同じく平面図。
第5実施形態の消臭・脱臭装置の正断面図。
同じく側断面図。
図11のA-A線断面図。
図10のB-B線断面図。
同じく斜視図。
(a)はパッド状の微生物担持体を示す断面図、(b)は一部拡大断面図。
(a)は簡易トイレよりなる微生物担持体を示す断面図、(b)は一部拡大断面図。
マットよりなる微生物担持体を示す断面図。
フィルタよりなる微生物担持体を示す断面図。
活性炭を有する収容部材と活性炭を有しない保持シートとを設けた微生物担持体を示すものであって、(a)は全体断面図、(b)は一部断面図。
【発明を実施するための形態】
【0010】
以下、本発明を具体化した実施形態を図面に基づいて説明する。
(消臭・脱臭装置及び消臭・脱臭方法に関する第1実施形態)
〈脱臭装置の構成〉
以下、図1~図4に基づいて第1実施形態における消臭・脱臭装置の構成を説明する。以降の実施形態及び変更例においては、「消臭・脱臭」を単に「消臭」と表記する。
(【0011】以降は省略されています)
この特許をJ-PlatPat(特許庁公式サイト)で参照する
関連特許
個人
抗遺伝子劣化装置
1か月前
個人
細胞内探査とその利用
1か月前
合同酒精株式会社
麦汁の製造方法
5か月前
日本バイリーン株式会社
細胞用支持基材
3か月前
個人
細胞培養容器
2か月前
杏林製薬株式会社
核酸検出用PCR溶液
4か月前
テルモ株式会社
吐出デバイス
27日前
サッポロビール株式会社
飲料
3か月前
株式会社タクマ
バイオマス処理装置
1か月前
株式会社東洋新薬
経口組成物
1か月前
学校法人近畿大学
培養肉の製造方法
4か月前
株式会社タクマ
バイオマス処理装置
1か月前
東洋紡株式会社
改変型RNAポリメラーゼ
2か月前
日油株式会社
蛋白質安定化剤
2か月前
宝酒造株式会社
アルコール飲料
6日前
東ソー株式会社
pH応答性マイクロキャリア
1か月前
テルモ株式会社
容器蓋デバイス
27日前
大陽日酸株式会社
培養装置
1か月前
JNC株式会社
アデノ随伴ウイルスの精製方法
4か月前
大陽日酸株式会社
培養装置
1か月前
株式会社ファンケル
SEC12タンパク発現促進剤
2か月前
トヨタ自動車株式会社
バイオ燃料製造方法
24日前
株式会社東海ヒット
灌流培養ユニット
3か月前
セージ セラピューティクス, インコーポレイテッド
C7、C12、およびC16置換神経刺激性ステロイドおよびそれらの使用方法
5か月前
株式会社豊田中央研究所
細胞励起装置
4日前
オンキヨー株式会社
浸漬酒の製造方法、及び、浸漬酒
3か月前
アサヒビール株式会社
柑橘風味アルコール飲料
2か月前
個人
ナノ微粒子の製造方法
3か月前
アサヒビール株式会社
柑橘風味アルコール飲料
2か月前
株式会社シャローム
スフィンゴミエリン製造方法
1か月前
テルモ株式会社
採取組織細切補助デバイス
27日前
日本特殊陶業株式会社
メタン発生抑制装置
5か月前
個人
超音波機能着きウィスキー熟成ボトル用のキャップ
4か月前
ヤマト科学株式会社
インキュベータ
4か月前
東洋紡株式会社
緩衝剤によるヘムタンパク質の安定化方法
4か月前
株式会社アテクト
培養シート
5か月前
続きを見る
他の特許を見る