TOP
|
特許
|
意匠
|
商標
特許ウォッチ
Twitter
他の特許を見る
10個以上の画像は省略されています。
公開番号
2025091660
公報種別
公開特許公報(A)
公開日
2025-06-19
出願番号
2023207046
出願日
2023-12-07
発明の名称
灌流培養ユニット
出願人
株式会社東海ヒット
代理人
個人
,
個人
主分類
C12M
3/00 20060101AFI20250612BHJP(生化学;ビール;酒精;ぶどう酒;酢;微生物学;酵素学;突然変異または遺伝子工学)
要約
【課題】灌流培養法の特長をそのまま生かしつつ、浮遊タイプの細胞の培養にも適用可能に上手く撹拌作用を起こしたい。
【解決手段】蓋部25を容器3に被せると、容器3に収容されたセルカルチャーインサート37と凹面部19が上下で底面部37aのメンブランを介して連通した密封タイプの培養容器Cが創出される。鉤状部53aはセルカルチャーインサート37の周壁部37bの軸方向から傾いており、その先端開口から培養液が勢いをもって流出してくるので、鉤状部53aが没入した培養液のプール(P)内に液流が生じる。この液流は撹拌流となって、プール(P)の培養液を撹拌する。更に、培養液はメンブランの下側の凹面部19から吸い込まれて回収されるので、メンブランの上側で浮遊している細胞が、灌流OUT孔21から回収される際に吸い込まれてしまうことはない。
【選択図】 図8
特許請求の範囲
【請求項1】
上方が開口し、内底面に内側が外側に対して下方に向かって凹んだ凹面部が設けられた容器と、前記容器の凹面部を貫通して設けられた灌流OUT孔と、前記開口から差し込まれる灌流INパイプと、撹拌流発生誘導機構を備え、
前記容器にセルカルチャーインサートを、前記凹面部を前記セルカルチャーインサートのメンブランの底部で閉塞させた状態で収容して灌流培養すると、前記セルカルチャーインサートと前記凹面部が上下方向でメンブランの底部を介して連なった培養容器となり、
灌流培養中には、前記撹拌流発生誘導機構により、前記セルカルチャーインサート内に溜まった培養液中に撹拌流が発生することを特徴とする灌流培養ユニット。
続きを表示(約 940 文字)
【請求項2】
請求項1に記載した灌流培養ユニットにおいて、
灌流INパイプの開口は、セルカルチャーインサートの内側面の軸方向に対して傾いた状態で培養液に没入することで、撹拌流の発生が誘導されることを特徴とする灌流培養ユニット。
【請求項3】
請求項2に記載した灌流培養ユニットにおいて、
セルカルチャーインサートの内側面は内周面になっており、灌流INパイプは前記内周面に沿って接線方向に開口して渦流の発生が誘導されることを特徴とする灌流培養ユニット。
【請求項4】
請求項1から3のいずれかに記載した灌流培養ユニットにおいて、
セルカルチャーインサートの上方の開口を閉じる蓋部を備えており、灌流IN用パイプは前記蓋部を貫通して設けられた灌流IN孔に通されていることを特徴とする灌流培養ユニット。
【請求項5】
請求項4に記載した灌流培養ユニットにおいて、
蓋部を貫通して大気開放孔が設けられており、前記大気開放孔にはキャップ付きのチューブが差し込まれていることを特徴とする灌流培養ユニット。
【請求項6】
請求項4に記載した灌流培養ユニットにおいて、
蓋部の下面は段差が設けられて、環状の外側部に対して内側部が下がっており、前記外側部が容器に当たって前記容器の開口が閉じられると、前記内側部がセルカルチャーインサートに当たって前記セルカルチャーインサートの開口が閉じられることを特徴とする灌流培養ユニット。
【請求項7】
請求項6に記載した灌流培養ユニットにおいて、
容器に対して蓋部を閉じた状態で固定するアダプタを備えており、
前記アダプタで前記容器に対して前記蓋部が固定されると、前記容器の内部でセルカルチャーインサートも前記蓋部に対して固定されることで、ユニット全体として種々の向きで設置が可能になっていることを特徴とする灌流培養ユニット。
【請求項8】
請求項1に記載した灌流培養ユニットにおいて、
市販のセルカルチャーインサートを容器に収容可能に設計されていることを特徴とする灌流培養ユニット。
発明の詳細な説明
【技術分野】
【0001】
本発明は、細胞等を灌流培養するための灌流培養ユニットに関するものである。
続きを表示(約 2,400 文字)
【背景技術】
【0002】
細胞等の培養方法には、種々のものがあるが、従来からの静置培養法では、検体の大きさによっては検体深部の細胞に栄養や酸素が生き届かずに壊死する。隣り合う検体どうしはくっ付きあって大きくなり易くなっていることもあり、壊死の恐れは絶えず付きまとう。
これに対して、特許文献1に記載のように、バイオリアクターに撹拌翼を装着したものが提案されているが、撹拌翼が動いて細胞に衝突することにより、細胞が損傷する恐れがある。
また、特許文献2に記載のように、振とう機が提案されているが、振とう台上に容器を載せて、当該振とう台を往復運動させるようになっており、現在市販されているタイプでは振とう台のサイズが大きく、CO
2
インキュベータ内に設置するとスペースを取ってしまう。
更に、バイオリアクタータイプでは撹拌翼が容器内で動いており、振とう機タイプでは容器そのものが振動していることから、いずれも、培養液交換が面倒になっているだけでなく、培養液交換による培養環境の一新には細胞等への悪影響も懸念される。
【先行技術文献】
【特許文献】
【0003】
特表2004-531297号公報
特開2005-269921号公報
【発明の概要】
【発明が解決しようとする課題】
【0004】
一方、最近の灌流培養法では、培養液を連続的に更新できるため、培養条件を長期間一定に保ち、培養液交換による細胞等への悪影響を減免できるだけでなく、灌流の勢いに乗って検体深部の細胞に栄養や酸素を行き渡らせることができるのではないかと考えられる。
しかしながら、灌流培養は、通常、ポンプシステムを使って、培養液を培養系に連続的に供給すると共に、培養上清を連続的に系外に取り出すので、浮遊タイプの細胞ではパイプ等に吸い込まれて系外に出されてしまう恐れがある。
【0005】
本発明は上記従来の問題点に着目して為されたものであり、灌流培養ユニットの構造に工夫を加えることで、灌流培養法の特長をそのまま生かしつつ、浮遊タイプの細胞の培養にも適用可能な、新規且つ有用な灌流培養ユニットを提供することを、その目的とする。
【課題を解決するための手段】
【0006】
本発明は上記課題を解決するためになされたものであり、上方が開口し、内底面に内側が外側に対して下方に向かって凹んだ凹面部が設けられた容器と、前記容器の凹面部を貫通して設けられた灌流OUT孔と、前記開口から差し込まれる灌流INパイプと、撹拌流発生誘導機構を備え、前記容器にセルカルチャーインサートを、前記凹面部を前記セルカルチャーインサートのメンブランの底部で閉塞させた状態で収容して灌流培養すると、前記セルカルチャーインサートと前記凹面部が上下方向でメンブランの底部を介して連なった培養容器となり、灌流培養中には、前記撹拌流発生誘導機構により、前記セルカルチャーインサート内に溜まった培養液中に撹拌流が発生することを特徴とする灌流培養ユニットである。
【0007】
好ましくは、灌流INパイプの開口は、セルカルチャーインサートの内側面の軸方向に対して傾いた状態で培養液に没入することで、撹拌流の発生が誘導される。
好ましくは、セルカルチャーインサートの内側面は内周面になっており、灌流INパイプは前記内周面に沿って接線方向に開口して渦流の発生が誘導される。
【0008】
好ましくは、セルカルチャーインサートの上方の開口を閉じる蓋部を備えており、灌流IN用パイプは前記蓋部を貫通して設けられた灌流IN孔に通されている。
好ましくは、蓋部を貫通して大気開放孔が設けられており、前記大気開放孔にはキャップ付きのチューブが差し込まれている。
好ましくは、蓋部の下面は段差が設けられて、環状の外側部に対して内側部が下がっており、前記外側部が容器に当たって前記容器の開口が閉じられると、前記内側部がセルカルチャーインサートに当たって前記セルカルチャーインサートの開口が閉じられる。
好ましくは、容器に対して蓋部を閉じた状態で固定するアダプタを備えており、前記アダプタで前記容器に対して前記蓋部が固定されると、前記容器の内部でセルカルチャーインサートも前記蓋部に対して固定されることで、ユニット全体として種々の向きで設置が可能になっている。
好ましくは、市販のセルカルチャーインサートを容器に収容可能に設計されている。
【発明の効果】
【0009】
本発明の灌流培養ユニットによれば、ユニットの構造に工夫を加えることで、灌流培養法の特長である培養液の連続供給や液の勢いをそのまま生かしつつ、浮遊タイプの細胞の培養にも適用可能になっている。
また、CO
2
インキュベータ内に設置可能なサイズで設計可能であり、更には、市販の安価なセルカルチャーインサートを主要部として利用してユニット化できる。
【図面の簡単な説明】
【0010】
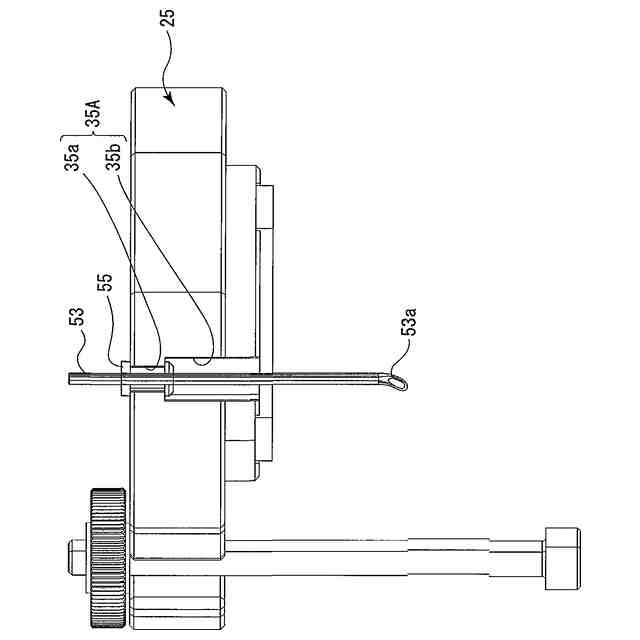
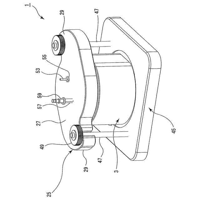
本発明の実施の形態に係る灌流培養ユニットの斜視図である。
図1の分解斜視図である。
図2とは別方向の分解斜視図である。
図1の容器の断面図である。
図1の蓋部の透視断面図である。
図5とは別の透視断面図である
図1の創出された培養容器の断面斜視図である。
図1の灌流培養ユニットにおける灌流状態の説明図である。
図1の灌流培養ユニットを組み込んだ灌流培養システムの構成図である。
図1の灌流培養ユニットの横置きと縦置きの設置状態の比較図である。
【発明を実施するための形態】
(【0011】以降は省略されています)
この特許をJ-PlatPat(特許庁公式サイト)で参照する
関連特許
株式会社東海ヒット
複段圧力差生成システム
3日前
個人
抗遺伝子劣化装置
1か月前
個人
細胞内探査とその利用
1か月前
個人
細胞培養容器
2か月前
日本バイリーン株式会社
細胞用支持基材
3か月前
株式会社タクマ
バイオマス処理装置
1か月前
日油株式会社
蛋白質安定化剤
2か月前
テルモ株式会社
吐出デバイス
26日前
株式会社東洋新薬
経口組成物
1か月前
株式会社タクマ
バイオマス処理装置
1か月前
東洋紡株式会社
改変型RNAポリメラーゼ
2か月前
東ソー株式会社
pH応答性マイクロキャリア
29日前
テルモ株式会社
容器蓋デバイス
26日前
宝酒造株式会社
アルコール飲料
5日前
大陽日酸株式会社
培養装置
1か月前
大陽日酸株式会社
培養装置
1か月前
株式会社ファンケル
SEC12タンパク発現促進剤
2か月前
トヨタ自動車株式会社
バイオ燃料製造方法
23日前
株式会社豊田中央研究所
細胞励起装置
3日前
アサヒビール株式会社
柑橘風味アルコール飲料
2か月前
アサヒビール株式会社
柑橘風味アルコール飲料
2か月前
オンキヨー株式会社
浸漬酒の製造方法、及び、浸漬酒
3か月前
株式会社シャローム
スフィンゴミエリン製造方法
1か月前
テルモ株式会社
採取組織細切補助デバイス
26日前
横河電機株式会社
藻類培養装置
15日前
株式会社今宮
瓶詰ビールの加熱殺菌方法および装置
1か月前
株式会社ショウワ
キトサンオリゴマー分画方法
5日前
公立大学法人北九州市立大学
微生物の検知方法
1か月前
住友金属鉱山株式会社
連続発酵方法及び連続発酵装置
29日前
株式会社日本触媒
スフェロイドの輸送方法
1日前
池田食研株式会社
抗疲労用組成物
3か月前
住友ベークライト株式会社
培養キット
29日前
ZACROS株式会社
排気ユニット、及び培養装置
3か月前
積水化学工業株式会社
遺伝子導入方法
2日前
NTN株式会社
細胞配置の制御方法
5日前
株式会社SCREENホールディングス
培地および培養方法
1か月前
続きを見る
他の特許を見る